DRYER VENTING SPECIFICATIONS
User Manual
DRYER SAFETY
Your safety and the safety of others are very important.
We have provided many important safety messages in this manual and on your appliance. Always read and obey all safety messages.
This is the safety alert symbol.
This symbol alerts you to potential hazards that can kill or hurt you and others.
All safety messages will follow the safety alert symbol and either the word “DANGER” or “WARNING.”
These words mean:
DANGER
You can be killed or seriously injured if you don’t immediately follow instructions.
WARNING
You can be killed or seriously injured if you don’t follow instructions.
All safety messages will tell you what the potential hazard is, tell you how to reduce the chance of injury, and tell you what can happen if the instructions are not followed.
W11222085A
- If you are installing a gas dryer, it is recommended that the owner post, in a prominent location, instructions for the customer’s use in the event the customer smells gas. This information should be obtained from your local gas supplier.
Post the following warning in a prominent location.
FOR YOUR SAFETY
Do not store or use gasoline or other flammable vapors and liquids in the vicinity of this or any other appliance.
WARNING – “Risk of Fire”
- Clothes dryer installation must be performed by a qualified installer.
- Install the clothes dryer according to the manufacturer’s instructions and local codes.
- Do not install a clothes dryer with flexible plastic venting materials or flexible metal (foil type) duct. If flexible metal duct is installed, it must be of a specific type identified by the appliance manufacturer as suitable for use with clothes dryers. Flexible venting materials are known to collapse, be easily crushed, and trap lint. These conditions will obstruct clothes dryer airflow and increase the risk of fire.
- To reduce the risk of severe injury or death, follow all installation instructions.
- Save these instructions.
WARNING:
FIRE OR EXPLOSION HAZARD
Failure to follow safety warnings exactly could result in serious injury, death or property damage.
- Do not store or use gasoline or other flammable vapors and liquids in the vicinity of this or any other appliance.
- WHAT TO DO IF YOU SMELL GAS:
- Do not try to light any appliance.
- Do not touch any electrical switch; do not use any phone in your building.
- Clear the room, building, or area of all occupants.
- Immediately call your gas supplier from a neighbor’s phone. Follow the gas supplier’s instructions.
- If you cannot reach your gas supplier, call the fire department.
Installation and service must be performed by a qualified installer, service agency, or gas supplier.
In the State of Massachusetts, the following installation instructions apply:
- Installations and repairs must be performed by a qualified or licensed contractor, plumber, or gas fitter qualified or licensed by the State of Massachusetts.
- Acceptable Shut-off Devices: Gas Cocks and Ball Valves installed for use shall be listed.
- A flexible gas connector, when used, must not exceed 4 feet (121.9 cm).
IMPORTANT SAFETY INSTRUCTIONS
WARNING: To reduce the risk of fire, electric shock, or injury to persons when using the dryer, follow basic precautions, including the following:
- Read all instructions before using the dryer.
- Do not place items exposed to cooking oils in your dryer.
Items contaminated with cooking oils may contribute to a chemical reaction that could cause a load to catch fire.
To reduce the risk of fire due to contaminated loads, the final part of a tumble dryer cycle occurs without heat (cool-down period). Avoid stopping a tumble dryer before
the end of the drying cycle unless all items are quickly removed and spread out so that the heat is dissipated. - Do not dry articles that have been previously cleaned in, washed in, soaked in, or spotted with gasoline, dry cleaning solvents, or other flammable or explosive substances as they give off vapors that could ignite or explode.
- Do not allow children to play on or in the dryer. Close supervision of children is necessary when the dryer is used near children.
- Before the dryer is removed from service or discarded, remove the door to the drying compartment.
- Do not reach into the dryer if the drum is moving.
- Do not install or store the dryer where it will be exposed to the weather.
- Do not tamper with controls.
- Do not repair or replace any part of the dryer or attempt any servicing unless specifically recommended in this Use and Care Guide or in published userrepair instructions that you understand and have the skills to carry out.
- Do not use fabric softeners or products to eliminate static unless recommended by the manufacturer of the fabric softener or product.
- Do not use heat to dry articles containing foam rubber or similarly textured rubberlike materials.
- Clean lint screen before or after each load.
- Keep the area around the exhaust opening and adjacent surrounding areas free from the accumulation of lint, dust, and dirt.
- The interior of the dryer and exhaust vent should be cleaned periodically by qualified service personnel.
- See “Electrical Requirements” located in the installation instructions for grounding instructions.
SAVE THESE INSTRUCTIONS
IMPORTANT: The gas installation must conform with local codes, or in the absence of local codes, with the National Fuel Gas Code, ANSI Z223.1 /NFPA 54.
The dryer must be electrically grounded in accordance with local codes, or in the absence of local codes, with the National Electrical Code, ANSI/NFPA 70.
WARNING

Fire Hazard
Use a heavy metal vent.
Do not use a plastic vent.
Do not use a metal foil vent.
Failure to follow these instructions can result in death or fire.
WARNING: To reduce the risk of fire, this dryer MUST BE EXHAUSTED OUTDOORS.
NOTE: This guide is intended to aid licensed HVAC or Architectural Engineers who design single and multi-dryer unit venting systems for Whirlpool Corporation dryers sold in the United States. Whirlpool Corporation provides required airflow and back pressure specifications, measured at the connection between the vent system and the dryer’s vent pipe, for use in the design of dryer vent systems. Whirlpool does not design multi-dryer vent systems, nor does Whirlpool review or provide approvals for vent systems designed by third-party engineering firms.
OUTSIDE EXHAUST REQUIREMENTS
The five basic reasons for exhausting a dryer outdoors are detailed in this section:
- To meet codes requirements.
- To remove moisture from laundry area.
- To avoid lint accumulation in laundry area.
- To remove excess heat from laundry area.
- To expel exhaust gases for gas fueled dryers.
Codes Requirements
The following codes should be reviewed to ensure dryer vent systems are in compliance:
- International Mechanical Code (sections related to dryer venting).
- National Fuel Gas Code.
- UL 2158 Electric Clothes Dryer Standard references venting requirements.
- ANSI Z21.5.1 – Gas Clothes Dryers (sections related to dryer venting).
- Other sections of these codes (regional and local) may also apply to multi-dryer vent systems.
There are other codes requiring dryers to be exhausted when installed in confined spaces where specified clearances from combustible surfaces cannot be met. See the Installation Instructions for the specific dryer model being used or considered for spacing requirements.
Local codes and ordinances that exist must also be met. Consult your local building inspector for more information.
Improper venting can cause moisture and lint to collect indoors, which may result in:
- Moisture damage to woodwork, furniture, paint, wallpaper, carpets, etc.
- Housecleaning problems and health problems.
Moisture
Exhausting moisture into the room can also cause damage to walls, floors, and picture hangers, and cause condensation on windows and walls in cold weather.
Lint
Even though the dryer is equipped with a lint screen, fine particles of lint will pass through the screen and be exhausted out of the dryer. Proper venting of the dryer will minimize lint accumulation in the laundry area.
Heat
In order to remove moisture from the garments in the dryer, heat is generated to vaporize the water. Exhausting the dryer outdoors avoids the buildup of excess heat from the laundry area of the building.
Exhaust Gases (Gas Fueled Dryers only)
Combustion exhaust gases must be vented outdoors.
EXHAUST SYSTEM REQUIREMENTS – GENERAL
Venting systems for Whirlpool dryers must meet the following requirements:
- The capacity to handle up to 230 CFM (cubic feet per minute) of airflow for each dryer in the system.
- A minimum back pressure of -0.1″ (-2.5 mm) water column (vacuum) when measured at the connection to the dryer.
- Provide minimal back pressure, based on the maximum rated vent length shown in the Installation Instructions included with the dryer. The maximum Allowable Back Pressure chart (pg. 6) lists the maximum rated vent length and back pressure.
- The minimum duct air velocity during normal operating conditions should be at least 1,200 FPM (feet per minute) to keep lint moving through the vent. (In a 4″ (102 mm) diameter pipe, this requires at least 105 CFM of airflow.)
SINGLE DRYER VENTING SYSTEMS
Single dryer venting systems are defined as systems that have only one dryer unit attached to a residential-type 4″ (102 mm) diameter rigid metal vent system. For single dryer venting systems, see the Installation Instructions for the specific dryer model being used or considered to determine the allowable length and number of elbows for the venting system.
Dryer Airflow
The airflow of a dryer depends on the design of the exhaust vent.
Each dryer model has a maximum rated vent length, shown in the product literature that is supplied with each model, or on the Whirlpool.com website. The exhaust airflow of any Whirlpool-produced dryer at the maximum rated vent length is at least 105 CFM. The maximum airflow is 230 CFM. This includes standard vent and long vent dryer models.
Codes Agency Approvals
All Whirlpool electric dryer models, including “long vent dryers,” Turbo Vent™ dryers, and combo washer/dryer units that are sold in the United States and Canada are UL listed (reference UL 2158 standard), and all Whirlpool gas dryer models are UL or CSA listed (reference ANSI Z21.5.1 standard). These standards require testing at the maximum-rated exhaust vent conditions that are published in the product literature for each individual model. The designation for the UL or CSA listing can be found on or adjacent to the serial label on the product.
Additional Elbows
In cases in which the Installation Instructions do not address the vent length for the specific number of elbows required for a particular application, the following calculations may be used.
(The total vent system length includes all straight and curved portions of the vent system.):
- For 90° elbows, reduce the allowable vent system length by 10 ft (3.05 m).
- For 45° elbows, reduce the allowable vent system length by 6 ft (1.83 m).
For example, if the Installation Instructions state that a dryer is allowed 40 ft (12.2 m) of total vent length with two 90° bends, and the installation requires three 90° bends, the total allowable vent length would be reduced by 10 ft (3.0 m) (from 40 ft [12.2 m] to 30 ft [9.1 m]).
Use of Oval shaped Duct to Exhaust Clothes Dryers
The use of oval-shaped ducting, where a 4″ (102 mm) diameter smooth round duct is compressed in one direction to fit inside a 2×4 construction wall is acceptable for all dryers produced by Whirlpool Corp. The smallest allowable dimension across the outside of the oval is 3/8″ (79.3 mm). The transition to this oval from the dryer duct requires a clamp to hold the oval shape of both parts and provide a good seal.
See the table below for the required vent length reduction, which depends on the total length of oval venting used.
- Reference the product’s Installation Instructions, for the dryer model to be installed, for the rated dryer vent system lengths, and for additional venting requirements and warnings.
Dryer Vent Length Reduction Requirements for Oval Venting
| The total length of the oval vent duct in the vent system (including all duct pieces, elbows, and transitions that are oval in shape) | The required reduction in total vent system length |
| 1-20 ft (0.30 m-6.0 m) of the oval vent duct | No reduction required |
| 21-40 ft (6.4 m-12.1 m) of the oval vent duct | Reduce by 10 ft (3.0 m) |
| 41-60 ft (12.4 m-18.2 m) of the oval vent duct | Reduce by 20 ft (6.0 m) |
| 61-80 ft (18.5 m-24.3 m) of the oval vent duct | Reduce by 30 ft (9.1 m) |

Alternate Duct Sizes
As the duct size is increased from 4″ (102 mm), the duct has a larger cross-sectional area than the recommended duct. Using an identical blower system, increasing the duct size beyond 4″ (102 mm) will decrease the airflow speed (velocity) inside the exhaust pipe, which then reduces the ability of the air stream to keep lint suspended and moving with the air through the duct.
Although the volume of flow in CFM (cubic feet per minute) might be high, due to the lower duct restriction of the larger size duct, the actual speed (velocity) of the air is what moves lint through the exhaust pipe. Although there may be some local codes that allow these alternate vent sizes, Whirlpool doesn’t approve of the use of anything other than rigid metal or flexible metal duct in a 4″ (102 mm) diameter.
Use of PVC Pipe/Tube
One of the potential problems with PVC pipe is that the material in the pipe wall doesn’t retain heat, as well as metal and condensation, can occur more easily inside of the PVC pipe (from the moisture removed from the clothes). When there is condensation left in the pipe, lint may stick to the walls and collect, which can eventually lead to a severely restricted or blocked vent. Although there may some local codes that allow these alternate vent designs, Whirlpool doesn’t approve of the use of anything other than rigid metal or flexible metal duct in a 4″ (102 mm) diameter.
Booster Fans
Currently, there is no UL classification for booster fans and their direct connection to dryers (to ensure that the dryer won’t run if the booster fan fails), so Whirlpool does not provide recommendations for booster fan use. 3rd Party Venting Accessories Whirlpool does not provide approvals for 3rd party vent accessories that are not licensed by Whirlpool Corporation.
Dryer Closet Installations
Closets used for dryer installation must provide multiple openings to allow air to flow through the dryer and around the dryer to dissipate heat. Any dryer enclosure or room that does not have an inlet and outlet for an operating forced air HVAC system is considered a closet and requires room venting. The room venting can be installed into the walls of the dryer enclosure, as well as the door, provided it will not be blocked after the dryer is installed.
Refer to the product literature for minimum clearances between the product and the enclosure surfaces. Refer to ANSI Z21.5.1 section 2.14.1.
Recommended room venting and spacing for non-stacked installations
Installation spacing for recessed area or closet
The dimensions shown are for the minimum spacing allowed.
- Additional spacing should be considered for ease of installation and servicing.
- Additional clearances might be required for wall, door, and floor moldings.
- Additional spacing of 1″ (25 mm) on all sides of the dryer is recommended to reduce noise transfer.
- For closet installation, with a door, minimum ventilation openings near the top and bottom of the door are required.
Louvered doors with equivalent ventilation openings are acceptable. - The door louver openings for ventilation shown in the figure cannot be substituted with larger gaps between the bottom of the door and the floor.
- Companion appliance spacing should also be considered.
Recommended room venting and installation spacing for recessed or closet installation, with stacked washer and dryer
“AF” Code
Certain electronic dryer models have airflow detection capabilities. (See specific model product literature for details).
If the airflow in the dryer is extremely low, an “AF” code will be displayed on the control panel. For single dryer venting systems, this code means that you may have a blocked or partially blocked vent or that your overall vent system length is too long. To resolve this issue:
- Check to see if the vent run from the dryer to the wall is
crushed. Refer to the “Venting Requirements” section of the
Use and Care Guide for more information. - Confirm that the vent run from the dryer to the wall is free of
lint and debris. - Confirm that the exterior vent exhaust hood is free of lint and
debris. - Confirm that your vent system falls within the recommended run length and number of elbows for the type of vent you are using. Refer to the “Plan Vent System” section of the Use and Care Guide for details.
- Select a Timed Dry heated cycle, and restart the dryer.
- If the message persists, have your entire home venting run
cleaned.
For multi-dryer venting systems, the “AF” code means that your vent may be blocked or partially blocked or that the venting system is creating back pressure in excess of the maximum allowed. In this case, the engineering firm that designed the system should be consulted.
Measuring and Verifying Actual System Back Pressure
Back pressure should be measured with an empty dryer, a clean lint screen, and with the dryer operating in the Air Only cycle (no heat). Use an inclined manometer, such as Dwyer model 102 (0″-2″ [0 mm – 51 mm] range) or Dwyer model 172 (0″-1″ [0 mm – 25 mm] range) to measure the Back Pressure. See the following illustration.
A. Dryer – empty and running on Air Only cycle
B. 12″ (305 mm) min. of straight pipe – measure back pressure from the center
C. To vent system
D. Location on back pressure measurement
E. Inclined manometer
Maximum Allowable Back Pressure for Dryer
| Maximum Rated Vent Length without 90° Elbows (determined from product literature) | Maximum Allowable Back pressure at connection to the dryer (no clothes loaded and clean lint screen) |
| 36-37 ft (10.9 m-11.2 m) | 0.40″ (10.1 mm) Water Column |
| 64 ft (19.5 m) | 0.60″ (15.2 mm) Water Column |
| 100 ft (30.4 m) | 0.80″ (20.3 mm) Water Column |
| 120 ft (36.5 m) | 1.00″ (25.4 mm) Water Column |
| 130 ft (39.6 m) | 1.10″ (27.9 mm) Water Column |
MULTIPLE DRYER VENTING SYSTEMS
Multiple dryer venting systems must be designed specifically for each application.
NOTE: It is recommended that an architectural or HVAC engineering firm be consulted for designing the dryer venting system.
Connecting a number of dryers to a single vent system is common in coin-laundry stores and in many apartment buildings.
Listed here are some requirements for examples of three different multiple dryer venting systems.
The following guidelines should be considered in the design of any central exhaust system:
- Exhaust individual dryers to the central exhaust duct system with proper size vents to assure adequate performance of each dryer. The dryer has round 4″ (102 mm) exhaust duct connections. Connect each dryer to the central vent with a 4″(102 mm) diameter aluminum vent.
- Install weighted dampers on each individual dryer exhaust duct. These dampers may be used for balancing out the overall duct system.
- Design the central duct system for sufficient capacity to handle the maximum number of dryers operated at one time.
- Consider moisture, lint, and air temperature in the design of the central duct system. The maximum exhaust temperature of the dryer will not exceed 200°F (93.3°C) when the dryer is operated according to the instructions provided with the dryer.
- Provide for periodic inspection and clean-out of lint accumulated in the central duct system.
Option 1 – Horizontal System
The most common is the horizontal system, in which banks of dryers are all located in one room and vented through a common duct. See the following illustration for an example of a generic horizontal system.
*Minimum spacing required between dryers
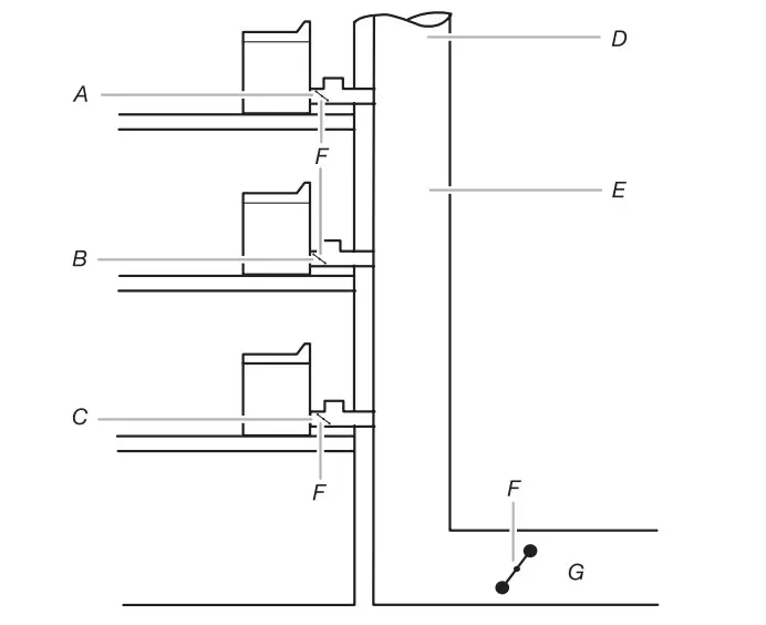
Option 2 – Vertical System
The vertical system is used in some apartment buildings that have a washer and dryer on each floor. Each dryer is exhausted into the same central vertical duct. See the following illustration for an example of a generic vertical system.
A. Maximum back pressure measurement location
B. Weighted dampers
C. Individual dryer exhaust – on each floor
D. 0.1″ (2.5 mm) water column maximum vacuum
E. Main duct
F. Barometric damper (use depends on exhaust system design)
G. Source of outside air
Option 3 – Combination System
The combination system may be used in high-rise apartments, with a bank of dryers installed at several different levels. Each of these banks then exhausts into a central vertical vent. See the following illustration for an example of a combination system.
A. Central vertical duct – maximum of 0.1″ (2.5 mm) water column vacuum
B. Weighted damper (each dryer)
C. Maximum back pressure measurement location
D. Barometric damper (use depends on exhaust system design)
E. Outside air source
DRYER INSPECTION AND CLEANING
Frequency of Exhaust System Cleaning
Every exhaust system must be inspected periodically and cleaned to ensure that it is intact and free from lint accumulation. The frequency of these inspections will vary, depending on the system and usage of the dryer.
- For single-family usage, an annual inspection is recommended.
- In commercial usage or in multiple dryer systems, a more frequent inspection is recommended. Complaints of long drying times or a hot dryer top indicate the need for inspection of the exhaust system.
Inspecting the Exhaust System
- Disconnect the exhaust duct from the dryer and from the exhaust hood (at the exhaust outlet) outside of the building.
- Inspect the interior of the duct and remove any lint accumulation.
• Be sure that lint is removed from the exhaust hood (outlet).
Lint may collect in the exhaust hood so that the flappers or louvers will not open or close completely.
• After cleaning the exhaust hood, check that the flapper or louvers move freely.
3. Reassemble the exhaust duct and hood, checking that the joints are secure.
4. Operate the dryer and verify that the exhaust air is not obstructed in the vent and that there are no leaks in the system.
• Seal any leaks found.
W11222085A
02/18
Printed in U.S.A.
®/™ ©2018 Whirlpool. All rights reserved. Used under license in Canada.




















