Blomberg LTA09020W 9Kg Vented Dryer
Please read these instructions first before using your appliance
Thank you for choosing a Blomberg appliance. Please take some time to read this user manual before using your appliance, to ensure you know how to safely operate the controls and functions. Carefully follow all unpacking and installation instructions to ensure the appliance is correctly connected and fitted prior to use. Please write your product model and serial number on the last page of this user manual, and store in a safe location close to the appliance for easy future reference. This user manual may also be applicable for several other models. Differences between models will be listed. If you have any questions or concerns, please call our contact centre or find help and information online at www.blomberguk.com.
Explanation of symbols used throughout this User Manual
- Read the instructions
- DANGER Warning against electric shock.
- DANGER Warning against fire hazard.
- WARNING Warning for hazardous situations with regard to life and property.
- WARNING Warning against hot surfaces.
- WARNING Warning against scalding hazard.
- NOTE Important information or useful hints about usage.
- Packaging materials of the product are manufactured from recyclable materials in accordance with our National Environment Regulations.
Do not dispose of the packaging wastes with the domestic waste or other wastes, discard them to the dedicated collection points designated by the local authorities.
Important instructions for safety and environment
NOTE
This section contains safety instructions that will help protect from risk of personal injury or property damage. Failure to follow these instructions shall void any warranty.
General safety
WARNING
The dryer can be used by children at and above 8 years old and by persons whose physical, sensory or mental capabilities were not fully developed or who lack experience and knowledge provided that they are supervised or trained on the safe usage of the product and the risks it brings out. Children should not play with the product. Cleaning and maintenance works should not be performed by children unless they are supervised by someone. Children of less than 3 years should be kept away unless continously supervised.
- Adjustable feet should not be removed. The gap between the dryer and the floor should not be reduced with materials such as carpet, wood and tape. This will cause problems with the dryer.
WARNING
Always have the installation and repairing procedures carried out by the Authorized Service. Manufacturer shall not be held liable for damages that may arise from procedures carried out by unauthorized persons.
- Never wash the dryer by spraying or pouring water onto it! There is the risk of electric shock.
For the products with a steam function:
WARNING
- Use only distilled water or water condensed in the water tank of the machine in steam programs. Do not use mains water or additives. When using condensed water in the water tank, it should be filtered and cleared of fibres.
- Do not open the door when steam programs are running. Hot water may be expelled.
- Before putting laundry in a steam program, stains on it should be removed.
- You may only put laundry that is not dirty or stained but permeated with unpleasant odour in steam (odour removal) program.
- Do not use any dry cleaning sets or additional materials in a steam program or in any program.
Electrical safety
DANGER
- Electrical safety instructions should be followed while electrical connection is made during the installation.
- The appliance must not be supplied through an external switching device, such as a timer,or connected to a circuit that is regularly switched on and off by utility.
- Connect the dryer to a grounded outlet protected by a fuse at the value specified on the type label. Have the grounding installation performed by a qualified electrician. Our company shall not be liable for any damages that will arise when the dryer is used without grounding in accordance with the local regulations.
- The voltage and allowed fuse protection is stated on the type label plate.
- The voltage specified on the type label must be equal to your mains voltage.
- Unplug the dryer when it is not in use.
- Unplug the dryer from the mains during installation, maintenance, cleaning and repair works.
- Do not touch the plug with wet hands! Never unplug by pulling on the cable, always pull out by grabbing the plug.
- Do not use extension cords, multi-plugs or adaptors to connect the dryer to power supply in order to decrease the risk of fire and electric shock.
- Power cable plug must be easily accessible after installation.
- Damaged mains cable should be changed notifying the Authorized Service.
- If the dryer is faulty, it must not be operated unless it is repaired by an authorized service agent! There is the risk of electric shock!
Product safety
DANGER
- Superheating of the clothes inside of the dryer can occur if you cancel the programme or in the event of a power failure whilst the dryer is running, this concentration of heat can cause self-combustion and fire so always activate the ventilation programme to cool down or quickly remove all laundry from the dryer in order to hang them up and dissipate the heat.
Points to be taken into consideration for fire hazard:
Below specified laundry or items must not be dried in the dryer considering fire hazard.
- Unwashed laundry items
- Items soiled with oil, acetone, alcohol, fuel oil, kerosene, stain removers, turpentine, paraffin or paraffin removers must be washed in hot water with plenty of detergent before being dried in the dryer.
For this reason especially the items containing the above specified stains must be washed very well, to do this use adequate detergent and choose a high washing temperature.
Below specified laundry or items must not be dried in the dryer due to the fire hazard:
- Garments or pillows bolstered with rubber foam (latex foam), shower bonnets, water resistant textiles, materials with rubber reinforcement and rubber foam pads.
- Clothing cleaned with industrial chemicals.
- Items such as lighter, match, coins, metal parts, needle etc. may damage the drum set or may lead to functional problems. Therefore check all the laundry that you will load into your dryer.
DANGER
- Never stop your dryer before the programme completes. If you must do this, remove all laundry quickly and lay them out to dissipate the heat.
- Clothes that are washed inadequately may ignite on their own and even may ignite after drying ends.
- You must provide enough ventilation in order to prevent gases exiting from devices operating with other types of fuels including the naked flame from accumulating in the room due to the back fire effect.
WARNING
- Underwear that contains metal reinforcements should not be dried in the dryer. Dryer may be damaged if metal reinforcements come loose and break off during drying.
NOTE
- Use softeners and similar products in accordance with the instructions of their manufacturers.
- Always clean the lint filter before or after each loading. Never operate the dryer without the lint filter installed.
WARNING
- Never attempt to repair the dryer by yourself. Do not perform any repair or replacement procedures on the product even if you know or have the ability to perform the required procedure unless it is clearly suggested in the operating instructions or the published service manual. Otherwise, you will be putting your life and others’ lives in danger.
- There must not be a lockable, sliding or hinged door that may block the opening of the loading door in the place where your dryer is to be installed.
- Install your dryer at places suitable for home use. (Bathroom, closed balcony, garage etc.)
- Make sure that pets do not enter the dryer. Check the inside of the dryer before operating it.
- Do not lean on the loading door of your dryer when it is open, otherwise it may fall over.
- The lint must not be allowed to accumulate around the tumble dryer
- The tumble dryer is not to be used if industrial chemicals have been used for cleaning.
- Fabric softeners, or similar products. should be used as specified by the fabric softener instructions.
- Exhaust air must not be discharged into a flue which is used for exhausting fumes from appliances burning gas or other fuels.
Mounting over a washing machine
- A fixing device should be used between the two machines when installing the dryer above a washing machine. The fitting device must be installed by the authorized service agent.
- Total weight of the washing machine and the dryer -with full load- when they are placed on top of each other reaches to approx. 180 kilograms. Place the products on a solid floor that has sufficient load carrying capacity!
WARNING
- Washing machine cannot be placed on the dryer. Pay attention to the above warnings during the installation on your washing machine.
Installation Table for Washing Machine and Dryer
| Installation Table for Washing Machine and Dryer | ||||
| Dryer Depth | Washing Machine Depth | |||
| 62 cm | 60 cm | 54 cm |
< 50 cm | |
| 54 cm | Can be installed | Cannot be installed | ||
| 60 cm | Can be installed | Cannot be installed | ||
Intended use
- Dryer has been designed for domestic use. It is not suitable for commercial use and it must not be used out of its intended use.
- Use the dryer only for drying laundry that are marked accordingly.
- The manufacturer waives any responsibility arisen from incorrect usage or transportation.
- The service life of the dryer that you purchased is 10 years. During this period, original spare parts will be available to operate the dryer properly.
Child safety
- Packaging materials are dangerous for the children. Keep packaging materials away from children.
- Electrical products are dangerous for the children. Keep children away from the product when it is operating. Do not let them tamper with the dryer. Use the child-proof lock in order to prevent the children to tamper with the dryer.
NOTE
A child-proof lock is on the control panel. (See Child lock)
- Keep loading door closed even when the dryer is not in use.
Compliance with the WEEE Directive and Disposing of the Waste Product:
This product complies with EU WEEE Directive (2012/19/EU). This product bears a classification symbol for waste electrical and electronic equipment (WEEE). This symbol indicates that this product shall not be disposed with other household wastes at the end of its service life. Used device must be returned to offical collection point for recycling of electrical and electronic devices. To find these collection systems please contact to your local authorities or retailer where the product was puchased. Each household performs important role in recovering and recycling of old appliance. Appropriate disposal of used appliance helps prevent potential negative consequences for
the environment and human health.
Compliance with RoHS Directive
The product you have purchased complies with EU RoHS Directive (2011/65/EU). It does not contain harmful and prohibited materials specified in the Directive.
Package information
Packaging materials of the product are manufactured from recyclable materials in accordance with our National Environment Regulations. Do not dispose of the packaging materials together with the domestic or other wastes. Take them to the packaging material collection points designated by the local authorities.
Technical Specifications
| Height (Min. / Max.) | 85,6 cm / 86,6 cm* |
| Width | 59,7 cm |
| Depth | 58,4 cm |
| Capacity (max.) | 9 kg** |
| Net weight (± %10) | 32 kg |
| Voltage |
See type label*** |
| Rated power input | |
| Model code |
- Min. height: Height with adjustable feet are closed.
- Max. height: Height with adjustable feet are opened maximum.
- Dry laundry weight before washing.
- Type label is located behind the loading door.
NOTE
- Technical specifications of the dryer are subject to specification without notice to improve the quality of the product.
- Figures in this manual are schematic and may not match the product exactly.
- Values stated on markers on the dryer or in the other published documentation accompanying with the dryer are obtained in laboratory in accordance with the relevant standards. Depending on the operational and environmental conditions of the dryer, these values may vary.
Your Dryer
Overview

- Top panel
- Control panel
- Loading door
- Kick plate opening button
- Ventilation grids
- Adjustable legs
- In models where the tank is placed below, the water tank is inside the toe board
- Type label
- Lint filter
- Water tank drawer (in models where the tank is placed above)
- Power cord
Package Contents

Optional – may not be included, depends on model.
Installation
Before the calling the nearest Authorized Service for the installation of the dryer, ensure that electrical installation and water drain is appropriate referring to the user’s manual.
If they are not suitable, contact a qualified electrician and technician to make necessary arrangements.
- NOTE Preparation of location and electrical installation for the product is under customer’s responsibility.
- DANGER Installation and electrical connections must be carried out by a qualified person.
- WARNING Prior to installation, visually check if the product has any defects on it. If so, do not have it installed. Damaged products will cause risks for your safety.
Appropriate installation location
- Install the product in an environment which has no risk of freezing and is in a stable and level position.
- Operate your product in a well ventilated, dust-free environment.
- Do not block the air ducts in front of and under the product with materials such as long pile rugs and wooden bands.
- Do not place your product on a long pile rug or on similar surfaces.
- Do not install the product behind a door with a lock, sliding door or a hinged door which can strike the product.
- Once the product is installed, it should stay at the same place where its connections have been made. When installing the product, make sure that the rear wall of it does not touch anywhere (tap, socket, etc.) and also pay attention to install the product at a place where it will stay permanently.
DANGER
- Do not place the product on top of the power cable.
- Keep at least 1.5 cm distance to walls or other furniture.
- The rear surface of the tumble dryer shall be placed against a wall
- This dryer is not able to be wall-mounted as it would be too too heavy for the walls.
Ventilation hose and connection (for products equipped with an outlet vent)
The ventilation hose allows exhaust air from inside the machine The vented dryer has 1 air outlet. Stainless sheet metal or aluminum pipes can be used instead of a hose. The pipe diameter should be minimum 10 cm. Maximum hose and pipe lengths are given in the table below.
| Hose | Pipe | |
| Maximum length | 4 m | 5 m |
| 1 elbow 45° | -1.0 m | -0.3 m |
| 1 elbow 90° | -1.8 m | -0.6 m |
| 1 elbow 90° short | -2.7 m | |
| 1 wall passage | -2.0 m | -2.0 m |
NOTE
- Each elbow and other passages should be subtracted from the maximum length stated above.
To connect a ventilation hose;
- Connect the air outlet hose to the hose spacer piece by turning it counterclockwise.
- Make the hose passages as shown below.
NOTE
- Exhaust of humid air from the dryer into the room should be considered. It may damage the walls and furniture in the room.
- The ventilation hose can be routed outdoors via a window or it can be connected to the air outlet in the bathroom.
- Air outlet hose must be routed directly to the outdoors. There must be a limited number of elbows as not to hinder ventilation.
- To prevent water accumulation in the hose, make sure that it is not folded on the floor.

DANGER
- The ventilation hose should not be connected to the chimney of a stove or a fireplace.
- Do not operate your product at the same time with heaters such as a coal or gas stove. Airflow may cause the chimney to flare up.
Adjusting feet
In order to ensure that your product operates more silently and vibration-free, it must stand level and balanced on its feet. Front feet of your product can be adjusted. Balance the machine by adjusting the feet.
- Loosen the feet by hand.
- Adjust the feet until the product stands level and firmly on the floor.
NOTE
- Do not use any tools to loosen the adjustable feet, otherwise, they can be damaged.
- Never remove the adjustable feet from their housings.
- You may consider using 2 plastic pieces from an Authorized Service with 2951620100 part number. These parts prevent your machine from slipping when the machine is located on wet and slippery surfaces. You may assemble mentioned parts to the front adjustable feet by fitting and pressing them to snap into ground of feet.
Transportation of the machine
- Unplug the machine from the mains.
- Remove the water drain (if any) and chimney connections.
- Drain water remaining in the machine completely before transportation.
Changing the illumination lamp
In case an illumination lamp is used in your laundry dryer.To change the Bulb/LED used for illumination of your tumble dryer, call your Authorized Service.The lamp(s) used in this appliance is not suitable for household room illumination. The intended purpose of this lamp is to assist the user to place laundry in the tumble dryer in a comfortable way. The lamps used in this appliance have to withstand extreme physical conditions such as vibrations and temperatures above 50 °C.
Preparation
Laundry suitable for drying in the dryer
Always obey the instructions given on the garment tags. Dry only the laundry having a label stating that they are suitable for drying in a dryer.
Laundry not suitable for drying in the dryer
- Items with this symbol should not be dried in the dryer.
NOTE
Delicate embroidered fabrics, woollen, silk garments, delicate and valuable fabrics, airtight items and tulle curtains are not suitable for machine drying.
Preparing laundry for drying
- Laundry may be tangled with each other after washing. Separate the laundry items before placing them into the dryer.
- Dry garments having metal accessories such as zippers, inside out.
- Fasten the zippers, hooks and buckles and button sheets.
Things to be done for energy saving
- Spin your laundry at the highest speed possible when washing them. Thus,
the drying time is shortened and energy consumption is reduced. - Sort out the laundry depending on their type and thickness. Dry the same type of laundry together. For example thin kitchen towels and tableclothes dries earlier than thick bathroom towels.
- Follow the instructions in the user manual for programme selection.
- Do not open the loading door of the machine during drying unless necessary. If you must open the loading door, do not keep it open for a long time.
- Do not add wet laundry while the dryer is in operation
- For models with a condenser unit: clean the condenser once in a month or after every 30 operations regularly. .
- Clean the filter periodically.Read the Maintenance and cleaning of filters for detalied information.
- For models with flue unit: comply with the flue connection instructions and clean the flue.
- During the drying process, air the room well where your tumble dryer is operating.
Correct load capacity
Following weights are given as examples
| Laundry | Approximate weights (g)* | Laundry | Approximate weights (g)* |
| Cotton quilt covers (double) | 1500 | Blouses | 150 |
| Cotton quilt covers (single) | 1000 | Cotton shirts | 300 |
| Bed sheets (double) | 500 | Shirts | 250 |
| Bed sheets (single) | 350 | Cotton dresses | 500 |
| Large tablecloths | 700 | Dresses | 350 |
| Small tablecloths | 250 | Jeans | 700 |
| Tea napkins | 100 | Handkerchiefs (10 pieces) | 100 |
| Bath towels | 700 | T-Shirts | 125 |
| Hand towels | 350 |
Dry laundry weight before washing.
Operating the product
Control Panel

- On/Off/Programme selection button
- Start/Pause button
- Time Delay button
- Audio warning level button
Symbols
- Preparation of drying machine• Plug in the dryer.
- Open the loading door.
- Place the laundry in the drying machine without jamming them.
- Push and close the loading door.
WARNING
- Ensure that no laundry is jammed to the loading door.
- Select the desired programme using the On/Off/Programme selection knob, the machine will turn on.
NOTE
- Selecting a programme using the On/Off/Programme selection button does not mean that the programme started. Press the Start / Stand-by button to start the programme.
Programme selection and consumption table
| EN | ||||
|
Programmes |
Programme Description | Capacity (kg) | Spin speed in washing machine (rpm) |
Drying Time (minutes) |
| Cottons Iron Dry | You may dry your cotton laundry to be ironed in this program to have them slightly damp for ease of ironing. (Shirt, T-shirt, tablecloth, etc.) | 9 | 1000 | 150 |
| Cottons Eco | It dries single layer, casual cotton textiles in the most economical way. | 9 | 1000 | 199 |
| Cottons Cupboard Dry | You may use this program for extra dryness in thick laundry such as pants, tracksuit. You can put your dry laundry that doesn’t require ironing directly in the wardrobe. | 9 | 1000 | 210 |
| Cottons Extra Dry | You may dry your thick cotton laundry in this program such as towels, bathrobe, etc. | 9 | 1000 | 215 |
| Synthetics Iron Dry | You may dry your synthetic laundry to be ironed in this program to have them slightly damp for ease of ironing. (Shirt, T-shirt, tablecloth, etc.) | 4 | 800 | 40 |
| Synthetics Cupboard Dry | You may dry all your synthetic laundry in this program. (Shirt, T-shirt, underwear, tablecloth, etc.) You can put your dry laundry that doesn’t require ironing directly in the wardrobe. | 4 | 800 | 60 |
| Jeans | You may dry denim pants, skirts, shirts or jackets in this program. | 4 | 1200 | 85 |
|
Cool Refresh | Ventilates for 10 minutes without blowing hot air. You can ventilate the cotton and linen clothes that have been enclosed for a long time with this program to remove their odour. You can use this program to ventilate and soften wool laundry that can be washed in a washing machine. Do not use for full drying. |
– |
– |
10 |
|
Time Programmes | You may select from time programmes between 10 and 30 minutes to achieve the desired drying level at low temperature. In this programme, tumble drier’s operation lasts for the set time independently from the dryness of laundry. |
– |
– |
– |
| Sport | Use it to dry your clothes made of synthetics, cotton or mixed fabrics or waterproof products such as functional jacket, raincoat etc. Turn them inside out prior to drying. | 4 | 1000 | 85 |
| Mix | You can dry both cotton and synthetic laundry with this programme.Sports and fitness clothes may be dried with this program. | 4 | 1000 | 85 |
|
Towels | It is a long-term program that you can use for the clothes (baby clothes, towels, underwear, etc. cotton) you require hygeine. Hygiene is provided with high temperature. It is especially suitable for durable fabrics. ((This program is identified and approved by England’s “The British Foundation” (Allergy UK).)) |
5 |
800 |
175 |
| EN | ||||
|
Programmes |
Programme Description | Capacity (kg) | Spin speed in washing machine (rpm) |
Drying Time (minutes) |
| Cottons Iron Dry | You may dry your cotton laundry to be ironed in this program to have them slightly damp for ease of ironing. (Shirt, T-shirt, tablecloth, etc.) | 9 | 1000 | 150 |
| Cottons Eco | It dries single layer, casual cotton textiles in the most economical way. | 9 | 1000 | 199 |
| Cottons Cupboard Dry | You may use this program for extra dryness in thick laundry such as pants, tracksuit. You can put your dry laundry that doesn’t require ironing directly in the wardrobe. | 9 | 1000 | 210 |
| Cottons Extra Dry | You may dry your thick cotton laundry in this program such as towels, bathrobe, etc. | 9 | 1000 | 215 |
| Synthetics Iron Dry | You may dry your synthetic laundry to be ironed in this program to have them slightly damp for ease of ironing. (Shirt, T-shirt, tablecloth, etc.) | 4 | 800 | 40 |
| Synthetics Cupboard Dry | You may dry all your synthetic laundry in this program. (Shirt, T-shirt, underwear, tablecloth, etc.) You can put your dry laundry that doesn’t require ironing directly in the wardrobe. | 4 | 800 | 60 |
| Jeans | You may dry denim pants, skirts, shirts or jackets in this program. | 4 | 1200 | 85 |
|
Cool Refresh | Ventilates for 10 minutes without blowing hot air. You can ventilate the cotton and linen clothes that have been enclosed for a long time with this program to remove their odour. You can use this program to ventilate and soften wool laundry that can be washed in a washing machine. Do not use for full drying. |
– |
– |
10 |
|
Time Programmes | You may select from time programmes between 10 and 30 minutes to achieve the desired drying level at low temperature. In this programme, tumble drier’s operation lasts for the set time independently from the dryness of laundry. |
– |
– |
– |
| Sport | Use it to dry your clothes made of synthetics, cotton or mixed fabrics or waterproof products such as functional jacket, raincoat etc. Turn them inside out prior to drying. | 4 | 1000 | 85 |
| Mix | You can dry both cotton and synthetic laundry with this programme.Sports and fitness clothes may be dried with this program. | 4 | 1000 | 85 |
|
Towels | It is a long-term program that you can use for the clothes (baby clothes, towels, underwear, etc. cotton) you require hygeine. Hygiene is provided with high temperature. It is especially suitable for durable fabrics. ((This program is identified and approved by England’s “The British Foundation” (Allergy UK).)) |
5 |
800 |
175 |
Energy Label standard programme (EN 61121) All the values on the chart are identified according to EN 61121 standard. Consumption values may vary from the values in the chart depending on laundry type, wringing speed, ambient conditions and voltage levels.
Auxiliary functions Audible warning
Drying machine makes an audible warning when the programme is completed. If you don’t want it to make an audible warning, press the “Buzzer” button. When you press the Buzzer button, a light will illuminate and no audible warning will be made when the programme ends.
NOTE
You can select this function before or after the programme starts.
Time Delay
If you wish to dry your clothes at a later time, thanks to the time delay function, you can delay the program start up to 3 hours, 6 hours or 9 hours. Open the loading door and put the laundry in. Select the drying program. Press the time delay button to set the desired delay time. When the time delay button is pressed once, a 3-hour delay is selected and the relevant indicator lights up. When the same button is pressed again, 6 hours; and if pressed once more, 9 hours delay will be selected. If you press the time delay button again, delayed start will be cancelled. After selecting the delayed start, press the “Start/Pause” button to start the delayed start for the selected program. Additional laundry may be loaded/taken out during the delayed start time. At the end of the time delay countdown, the warning symbol disappears and the drying process starts.
Changing the delay time
If you want to change the time during countdown, turn the on/off/program selection knob to cancel the program. Select the desired program and repeat the delayed start process. Cancelling the
delayed start function
If you wish to cancel the delayed start countdown and start the program right away, rotate the on/off/program selection knob to cancel the program. Select the desired program and press “Start/Pause”.
Warning indicators
Warning indicators may vary depending on the model of your dryer.
Filter cleaning
When the program is completed, the warning indicator for filter cleaning turns on.
Starting the program
Press the Start/Stand-by button to start the program. The drying indicator will light up, indicating that the program has started.
Child Lock
The drying machine has a child lock which prevents the program flow from being interrupted when the buttons are pressed during a program. When the child lock is activated, all buttons on the panel except the On/Off/Programme selection knob are deactivated. Press the End Time and Buzzer buttons simultaneously for 3 buttons to activate the child lock. The child lock has to be deactivated to be able to start a new program after the current program is finished or to be able to interfere with the program. To deactivate the child lock, keep the same buttons pressed for 3 seconds.
NOTE
- When the child lock is activated, the child lock warning indicator on the screen turns on.
- Child lock deactivates when the drying machine is turned off and on by the On/Off/Cancel knob.
When the child lock is active: When the drying machine runs, or in stand-by state, the indicator symbols won’t change upon changing the position of the programme selection knob. When the drying machine runs and the child lock is active, it beeps twice when the programme selection knob is turned. If the child lock is deactivated without returning the programme selection knob to its previous position, program will terminate due to the change in the programme selection knob position.
Changing the program after it is started
You can change the program you selected to dry your laundry with a different program after the drying machine starts running
- For instance, select Extra Dry programme by turning the On/Off/Programme selection knob to select Extra Dry instead of Iron Dry.
- Press the Start/Stand-by button to start the programme.
Adding and removing clothes during stand-by
If you want to add or remove clothes to/from the drying machine after the drying programme starts:
- Press the Start/Stand-by button to put the drying machine in Stand-by state. The drying operation stops.
- Open the loading door while in Stand-by state, and close the door after you remove or add laundry.
- Press the Start/Stand-by button to start the programme.
- Adding laundry after the drying operation starts may cause the dried laundry inside the machine to mix with wet laundry and leave the laundry damp at the end of operation.
- Adding or removing laundry during drying may be repeated as many times as you wish. But this operation continuously interrupts the drying operation, and thus increases programme duration and energy consumption. So, it is recommended to add laundry before the programme starts.
- If a new programme is selected by turning the programme selection knob while the drying machine is in stand-by, the running programme terminates.
WARNING
Do not touch the inner surface of the drum while adding or removing clothes during a continuing programme. The drum surface is hot.
Cancelling the programme
If you want to cancel the programme and terminate the drying operation for any reason after the drying machine starts running, turn the On/Off/Cancel knob, the programme will be cancelled.
WARNING
The inside of the drying machine shall be extremely hot when you cancel the programme during machine operation, so run the refresh programme to allow it to cool down.
Maintenance and cleaning
Service life of the product extends and frequently faced problems decrease if cleaned at regular intervals.
Lint Filter / Loading Door Inner Surface
Lint and fiber released from the laundry to the air during the drying cycle are collected in the Lint Filter.
WARNING
- Always clean the lint filter and the inner surfaces of the loading door after each drying process.
- You can clean the lint filter housing with a vacuum cleaner.
To clean the lint filter:

- Open the loading door.
- Remove the lint filter by pulling it up and open the lint filter.
- Clean lint, fiber, and cotton raveling by hand or with a soft piece of cloth.
- Close the lint filter and place it back into its housing.
A layer can build up on the filter pores that can cause clogging of the filter after using the dryer for a while. Wash the lint filter with warm water to remove the layer that builds up on the lint filter surface. Dry the lint filter completely before reinstalling it.
- Clean the entire inner surface of the loading door and loading door gasket with a soft damp cloth.

Cleaning the sensors
- There are temperature sensor in the dryer that detect whether the laundry is dry or not.
To clean the sensors:
- Open the loading door of the dryer.
- Remove the lint filter by pulling it up.
- Clean the sensor with your hand if any fluff accumulation on it.
- Clean metal sensors 4 times a year.
- Do not use metal tools when cleaning the sensor.
- Allow the machine to cool down if it is still hot due the drying process.
WARNING
- Never use solvents, cleaning agents or similar substances when cleaning since these materials can cause fire and explosion.
Troubleshooting
| Troubleshooting |
| Drying operation takes too long. |
| Fibre filter pores might be clogged. >>> Wash the filter with warm water. Filter drawer might be clogged. >>> Clean the sponge and filter cloth (if any) in the filter drawer. (for the products with a heat pump) The condenser might be blocked. >>> Wash the condenser.(for the products with a condenser ) The ventilation grills in front of the machine may be closed. >>> Remove any objects in front of the ventilation grills that blocks air. Ventilation may be inadequate because the area the machine is installed in is too small. >>> Open the door or windows to prevent the room temperature from rising very high. A lime layer may have accumulated on the humidity or temperature sensors. >>> Clean the humidity or temperature sensors. Excessive amount of laundry might be loaded. >>> Do not load the drying machine excessively. Laundry might not have been wrung adequately. >>> Perform a higher speed wringing on the washing machine. |
| Clothes come out damp after drying. |
| A program not suitable for the laundry type may have been used.>>> Check the maintenance labels on the clothes and select a program suitable for the clothes’ type or use time programs as extra. Fibre filter pores might be clogged. >>> Wash the filter with warm water. The condenser might be blocked. >>> Wash the condenser. (for the products with a condenser) Filter drawer might be clogged. >>> Clean the sponge and filter cloth (if any) in the filter drawer.(For the products with a heat pump) Excessive amount of laundry might be loaded. >>> Do not load the drying machine excessively. Laundry might not have been spun adequately. >>> Perform a higher spin speed setting on the washing machine. |
| Drying machine does not turn on or program cannot be started. Drying machine does not run after it is configured. |
| Power plug might be unplugged. >>> Make sure the power cord is plugged in. Loading door might be open. >>> Ensure that the loading door is properly closed. A program might not be set or Start/Stand-by button might not be pressed. >>> Check that the program is set and it is not in Stand- by position. Child lock may be activated. >>> Turn off the child lock. |
| Program terminated prematurely for no reason. |
| Loading door might not be closed completely. >>> Ensure that the loading door is properly closed. There might be a power outage. >>> Press the Start/Stand-by button to start the program. Water tank may be full. >>> Empty the water tank. |
| Clothes have shrunk, hardened or spoiled. |
| A program not suitable with the laundry type might have been used. >>> Check the maintenance labels on the clothes and select a program suitable for the clothes. |
| The lighting inside the drying machine does not turn on. (For models with a lamp) |
| Drying machine might not be turned on with the On/Off button or program might not be selected for machines without an On/Off button. >>> Make sure that the drying machine is turned on. Lamp might be malfunctioning. >>> Contact Authorized Service to replace the lamp. |
| Filter cleaning warning symbol/LED is on/flashing. |
| Fibre filter might not be cleaned. >>> Clean the filter. The filter slot might be clogged with lints. >>> Clean the filter slot. A layer of fluff might have accumulated clogging up the lint filter pores. >>> Wash the filter with warm water. The condenser might be blocked. >>> Wash the condenser. |
| Water drips from the loading door. |
| Fibres might have gathered on the inner sides of the loading door and the loading door gasket. >>> Clean the inner surfaces of the loading door and the loading door gasket surfaces. |
| Loading door opens by itself. |
| Loading door might not be closed completely. >>> Push the loading door until the closing sound is heard. |
| Water tank warning symbol / led is on/flashing. |
| Water tank may be full. >>> Empty the water tank. Water discharge hose might have collapsed. >>> If the product is connected directly to the water drain check the water discharge hose. |
| Steam symbol is flashing.(For the products with a steam function) |
| Steam tank may be empty => Fill the steam tank with distilled or condensed water. |
| Steam programs do not start (For the products with a steam function) |
| Steam tank may be empty, steam tank warning icon may light up on the screen => Fill the steam tank until the steam icon goes off. |
| Wrinkles are not removed with wrinkle removing program. (For the products with a steam function) |
| Excess amount of laundry may have been placed => Place specified amount of laundry. Steam application time may be selected in low level => Choose a program with high amount of steam. After completion of the program, the laundry may have stayed in the machine for a long time => Take the laundry out as soon as the program finishes, and hang it out. |
| Laundry odour not lessened with the odour removal program.(For the products with an odour removal program) |
| Excess amount of laundry may have been placed => Place specified amount of laundry. Steam application time may be selected in low level => Choose a program with high amount of steam. |
WARNING
- If the problem persists after following the instructions in this section, contact your vendor or an Authorized Service. Never try to repair your product yourself.
- In an event that you encounter an issue on any part on your appliance, you can ask for a replacement by contacting the authorized service with the appliance model number.
- Operating the appliance with non-authentic parts may lead the appliance to malfunction.
- Manufacturer and distributor are not liable for malfunctions resulting from using non-authentic parts.
Electrical Connection
Make sure that you have an earthed power outlet socket rated at 13 amps (minimum).
Attention
When installed, the socket must be reachable after installation, or a separate switch (which can disconnect the two poles) must be used in the installation. Check for suitability.For a permanent connection, a master switch with at least 3mm contact clearance and minimum 13 A rating must be used.
Electrical requirements
Before you insert the plug into the wall socket make sure that the voltage and the frequency shown in the rating label corresponds to your electricity supply. We recommend that this appliance be connected to the mains supply via a suitable switched and fused socket in a readily accessible position. Should the mains lead of the appliance become damaged or need replacing at any time, it must be replaced by a special purpose made mains lead which can only be obtained from a Authorised Service Agent.
WARNING
This appliance must be earthed If the fitted moulded plug is not suitable for your socket, then the plug should be cut off and an appropriate plug fitted. The moulded plug on this appliance incorporates a 13A fuse. Should the fuse need to be replaced an ASTA approved BS1362 fuse of the same rating must be used. Do not forget to refit the fuse cover. In the event of losing the fuse cover, the plug must not be used until a replacement fuse cover has been fitted. Colour of the replacement fuse cover must be the same colour as that visible on the pin face of the plug. Fuse covers are available from any good electrical store. In order to avoid hazards, damaged supply cord should be replaced by the manufacturer, its service agent or similarly qualified people. Built-under installation This appliance can be installed under a worktop. Do not operate without the top cover fitted. Risk of injury.
IMPORTANT
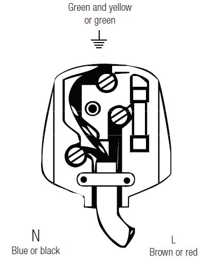
Fitting a different plug
As the colours of the wires in the mains lead of this appliance may not correspond with the coloured markings identifying the terminals on your plug, proceed as follows:
- Connect the green – yellow or green (earth) wire to the terminal in the plug marked ‘E’ or with the symbol or coloured green and yellow or green.
- Connect the blue (neutral) wire to the terminal in the plug marked ‘N’ or coloured black.
- Connect the brown (live) wire to the terminal in the plug marked ‘L’ or coloured red. With the alternative plugs a 13A fuse must be fitted either in the plug or adaptor or in the main fuse box. If in doubt contact a qualified electrician.

Washer/dryer combination
Do not stack washing machine on top of the tumble dryer. This would damage both appliances and guarantees would become void. It is also unsafe to stack an appliance on top of another without using a suitable and approved stacking kit obtained from the manufacturer of the appliances.
- A special stacking kit is required as an optional extra please contact customer service.
PRODUCT FICHE
| PRODUCT FICHE | ||
| Complying Commission Delegated Regulation (EU) No 392/2012 | ||
| Supplier name or trademark | BLOMBERG | |
| Model name | LTA09020W 7185901550 | |
| Rated capacity (kg) | 9.0 | |
| Type of Tumble Dryer | Air Vented | |
| Condenser | – | |
| Energy efficiency class (1) | C | |
| Annual Energy Consumption (kWh) (2) | 629,8 | |
| Type of Control | Automatic | |
| Non-automatic | – | |
| Energy consumption of the standard cotton programme at full load (kWh) | 5,48 | |
| Energy consumption of the standard cotton programme at partial load (kWh) | 2,74 | |
| Power consumption of the off-mode for the standart cotton programme at full load, PO (W) | 0,50 | |
| Power consumption of the left-on mode for the standart cotton programme at full load, PL (W) | 1,00 | |
| The duration of the left on mode (min) | 30 | |
| Standard cotton programme (3) | ||
| Programme time of the standard cotton programme at full load, Tdry (min) | 199 | |
| Programme time of the standard cotton programme at partial load, Tdry1/2 (min) | 98 | |
| Weighted programme time of the standard cotton programme at full and partial load (T t) | 141 | |
| Sound power level for the standard cotton programme at full load (4) | 67 | |
| Built-in | – | |
: Yes – : No
- Scale from A+++ (most efficient) to D (least efficient)
- Energy consumption based on 160 drying cycles of the standard cotton programme at full and partial load, and the consumption of the low-power modes. Actual energy consumption per cycle will depend on how the appliance is used.
- “Cotton cupboard dry programme” used at full and partial load is the standard drying programme to which the information in the label and the fiche relates, that this programme is suitable for drying normal wet cotton laundry and that it is the most efficient programme in terms of energy consumption for cotton
- Weighted average value — L WA expressed in dB(A) re 1 pW
BLOMBERG UK AND IRELAND STANDARD MANUFACTURER GUARANTEE TERMS AND CONDITIONS Your new Blomberg product is guaranteed against faulty materials, defective components or manufacturing defects. The standard guarantee starts from the date of original purchase of the product, and lasts for a period of thirty six (36) months unless Beko plc (the “Manufacturer”) agrees to extend the guarantee for the product in writing. If you have any questions about the guarantee on your product (including how long it is valid), please contact your retailer or our contact centre on 0333 207 9870 (UK and Northern Ireland) or 01 691 0160 (Republic of Ireland) This guarantee does not in any way diminish or affect your statutory rights in connection with the product. This guarantee is in addition to your statutory rights as a consumer. If you have any questions about these rights, please contact the retailer from which you purchased the product. In certain circumstances, it is possible that your statutory rights may offer additional or higher levels of protection than those offered under the terms of this guarantee.
What is covered by this guarantee?
- Repairs to the product required as a result of faulty materials, defective components or manufacturing defects.
- Functional replacement parts to repair a product.
- The costs of a Blomberg Approved Engineer to carry out the repair.
What is not covered?
- Transit and delivery damage.
- Cabinet or appearance parts, including but not limited to control knobs, flaps and handles.
- Accessories and/or consumable items including but not limited to ice trays, scrapers, cutlery baskets, filters and light bulbs.
- Repairs necessary as a direct or indirect result of:
- Accidental damage, misuse or abuse of a product.
- An attempted repair of a product by anyone other than a Blomberg Approved Engineer (the “Engineer”).
- Installation or use of a product where such installation or use fails to meet the requirements contained in this guarantee or the User Instructions Booklet.
- Repairs to a product operated at any time on commercial or non-residential household premises (unless we have previously agreed to the installation environment).
This guarantee is limited to the cost of repairing the product. To the extent permitted by law, the Manufacturer does not accept and will not be held liable for any financial loss incurred in connection with the failure of any product to operate in accordance with the expected standards. Such financial loss includes but is not limited to loss arising from:
- Time taken off work.
- Damaged food, clothing or other items.
- Meals taken at restaurants or from takeaways.
- General compensation for inconvenience.
Important Notes
- Your product is designed and built for domestic household use only.
- The guarantee will automatically be void if the product is installed or is used in commercial or non-residential domestic household premises, unless we have previously agreed to the installation environment.
- The product must be correctly installed, located and operated in accordance with the instructions contained in the User Instructions Booklet provided with your product.
- Professional installation by a qualified Electrical Domestic Appliance Installer is recommended for all Washing Machines, Dishwashers and Electric Cookers (as incorrect installation may result in you having to pay for the cost of repairing the product).
- Gas Cookers must be professionally installed by a Gas Safe (or Gas Networks Ireland for Republic of Ireland) registered gas installer.
- This guarantee is given in respect of products purchased and used within the United Kingdom and the Republic of Ireland.
- This guarantee is effective from the initial date of purchase of a new product from an authorised retailer and will be void if the product is resold.
- This guarantee does not apply to graded sales (where the product is purchased as a “second”).
- Possession of a copy of these terms and conditions does not necessarily mean that a product has the benefit of this guarantee. If you have any questions, please call our Call Centre on the number set out above.
- The Manufacturer reserves the right to terminate the guarantee if its staff or representatives are subjected to physical or verbal abuse in the course of carrying out their duties.
- Optional extras, where available (i.e. extendable feet) are supplied on a chargeable basis only.
Does Blomberg offer replacements?
This is a repair-only guarantee. On occasion, the Manufacturer may at its sole discretion, replace your product with a new product instead of carrying out a repair. Where a replacement is offered, this would normally be an identical model but when this is not possible, a model of similar specification will be provided. The Manufacturer will cover the costs and arrange for the delivery of the new product and for the return of the old product. Any costs related to disconnecting the faulty product and installing the replacement product will not be borne by the Manufacturer unless previously agreed to in writing. The original guarantee will continue to apply to the replacement product; the new product will not come with a new guarantee.
When will the repair take place?
Our Engineers work Monday to Friday 9.00am to 5.00pm. Appointments outside these hours may be possible at the sole discretion of the Manufacturer but cannot be guaranteed. Whilst our Engineers will endeavour to minimize inconvenience and to meet requests for specific timed appointments, this cannot be guaranteed. We will not be liable for delays or if it is unable to carry out a repair because a convenient appointment cannot be arranged.
Will there be any charge for the repairs?
It is your responsibility to provide evidence to the Engineer that your product is covered by this guarantee with a proof of purchase. The Manufacturer reserves the right to charge for the reasonable cost of any service call if:
- You cannot provide evidence that your product is covered by this guarantee.
- Where a service call has been made and the engineer finds that there is no fault with your product.
- That your product has not been installed or operated in accordance with the User Instructions Booklet.
- That the fault was caused by something other than faulty materials, defective components or manufacturing defects.
- For missed appointments.
Payment of these costs are due immediately upon the Engineer providing you with an invoice. The Manufacturer reserves the right to terminate the guarantee if you fail to pay the costs for the service call in a timely manner. If you are a resident of the United Kingdom, this guarantee will be governed by English law and subject to the English Courts, save where you live in another part of the United Kingdom, in which case the law and courts of that location will apply. If you are resident in the Republic of Ireland, this guarantee will be governed by Irish law and the Irish courts will have jurisdiction. This guarantee is provided by Beko plc. Beko House, 1 Greenhill Crescent, Watford, Hertfordshire. WD18 8QU. Beko plc is registered in England and Wales with company registration number 02415578.
BLOMBERG UK AND IRELAND OPTIMA INVERTER MOTOR GUARANTEE TERMS AND CONDITIONS
This 10 year guarantee relates to Blomberg products that feature the Optima Inverter Motor. The Optima Motor guarantee terms and conditions are in addition to our Standard guarantee terms and conditions detailed in the previous section. In order to activate the 10 year guarantee you MUST register the appliance within 90 days of the original purchase date. You can register by first visiting blomberguk.com/register and by following the online instructions. All Blomberg appliances come with a 3 year parts and labour guarantee as standard. When you register your appliance for the Optima Inverter Motor 10 year guarantee, you are also registering your appliance for the standard 3 year parts and labour guarantee. Blomberg built-in or integrated products purchased from Euronics agents come with a 3 year parts and labour guarantee which is extended to 5 years, free of charge, upon registration of the appliance. When you register your appliance for this additional 2 years, you will automatically activate the Optima Inverter Motor 10 year guarantee. You do not need to register twice. To make a claim against your Blomberg Optima Inverter Motor Guarantee (the “Guarantee”), all customer and product details must be registered with Beko plc using the procedure outlined below.
- This extra 7 years or 5 years (for built-in appliances from Euronics agents) Guarantee is only effective after the expiration of the standard manufacturer’s guarantee.
- It is only valid for the Optima Inverter motors of selected washing machines, washer-dryers, tumble dryers and dishwashers. It does not cover any labour charge or any other components of the product. In addition, it is only valid for one replacement of the Optima motor during the extra 9-year (for free standing appliances) or 8 year (for built-in appliances) guarantee period.
- To activate your guarantee, you MUST register your appliance within 90 days of the original purchase date, by visiting blomberguk.com/register.
- Customers will receive a unique reference code as proof of guarantee validation by email or post, which must be quoted at the time of a claim being made.
- Any repair/replacement of the Optima Inverter motor must only be carried out by an authorised Blomberg Service Agent (the “Service Agent”).
- Labour for the repair/replacement of the Optima Inverter motor is not included in this guarantee and is chargeable directly by the Service Agent.
- Any additional components fitted to the product at any time will not be covered by this guarantee and will be chargeable directly by the Service Agent.
- The guarantee is not transferable and cannot be exchanged for cash.
- There are no alternative or additional offers to this Guarantee.
- The guarantee is exclusive of the manufacturer’s standard guarantee
- The Terms and Conditions shown above are in addition to the standard terms and conditions of your product guarantee. Please read and refer to such Terms and Conditions when making any claim.
- We may use the information you provide for marketing purposes and to analyse your purchasing preferences. We may keep your information for a reasonable period for these purposes in accordance with the applicable Data Protection Laws and General Data Protection Regulations (GDPR). You can opt into this service during the registration process. Further details are available at http://www.blomberguk.com/cookie-and-privacy.
These Terms and Conditions are governed by the laws of England and Wales; manufacturer: Beko plc, Beko House, 1 Greenhill Crescent, Watford WD18 8QU. Company Registration Number: 02415578.
HOW TO OBTAIN SERVICE FOR YOUR APPLIANCE
Please keep your purchase receipt or other proof of purchase details in a safe place; you will need to have this documentation available should the product require attention under guarantee. Please take a few moments to complete the details below, as you will need this information when you call us, or to use our online services. When you call us you may be required to input your serial number into your telephone keypad. For help please visit Blomberguk.com/support/model-finder
- The product model number is printed on the Operating Instruction Booklet / User guide
- The product model and serial number is printed on the Rating Label affixed to the appliance.
- The Retailer (Purchased from) and Date of purchase will be printed on your purchase receipt or other proof of purchase paperwork
Recording of these details alone will not count as proof of purchase. A valid proof of purchase is required for requesting service under guarantee.
| Model number | Serial number | Purchased from | Date of purchase |
For service under guarantee or for product advice please call our Contact centre
Before requesting service please check the troubleshooting guide in the Operating Instructions booklet, as a charge may be levied where no fault is found, and even though your product may still be under guarantee. After arranging service the area around the product must be easily accessible to the Engineer, without the need for cabinets or furniture to be removed or moved. It is your responsibility to ensure our Engineers have a clean and safe environment to carry out any repairs. Please have your Model number and Serial number available when you call us, as you may be required to input your serial number into your telephone keypad during your call.
UK Mainland & Northern Ireland:
0333 207 9870 Landline or mobile calls to 0333 numbers cost no more than calls to geographic numbers 01 or 02, and are charged at the basic rate. Calls from landlines and mobiles are included in free call packages but please check with your telephone service provider for exact call charges.
Republic of Ireland:
01 691 0160
Service once the manufacturer’s guarantee has expired
If you have purchased an extended guarantee please refer to the instructions contained within the extended guarantee agreement document, otherwise please call us using the appropriate number above, where service can be obtained at a charge. Should you experience any difficulty in obtaining service please call us on 0333 207 9870 or 01 691 0160
Contact us through our website
Send us a secure message through our online contact us form. Please visit our website, click Contact Us and choose a product support topic from the list of options. Complete the required details and click send a message.
Product registrations
For UK and Republic of Ireland product registrations please visit blomberguk.com/register






















