
Product: Vented Dryer 4.5kg
Model Code/s: VDE45W
User Manual
Exactly what you need
Version: V1.3 0721
Online: esatto.house
Welcome
Congratulations on purchasing your clothes dryer. The Esatto brand is proudly distributed within Australia by Residentia Group Pty Ltd.
Please refer to the warranty card at the rear of this manual for information regarding your product’s parts and labour warranty, or visit us online at: www.residentia.group
At Residential Group, we are customer-obsessed and our Support Team are there to ensure you get the most out of your appliance. Should you want to learn more about your washing machine such as the various washing modes or importantly taking care of the appliance, our Support Team are here to help.
You can use our online Support Centre at any time by visiting: http://support.residentiagroup.com.au
Or you can contact us via phone by dialing: 1300 11 HELP (4357).
It is important that you read through the following use and care manual thoroughly to familiarise yourself with the installation and operation requirements of your appliance to ensure optimum performance.
Again, thank you for choosing an Esatto appliance and we look forward to being of service to you. Kind Regards, The Residentia Team
![]()
Safety Instructions
DRY CARE SYMBOLS
Please pay attention to use the drying machine if the materials of your clothes can not be dried by it or contain the symbols as follows:

IMPORTANT SAFEGUARDS
When using electrical appliances, in order to reduce the risk of fire, electric shock, and/or injury to persons, basic safety precautions should always be followed, including:
FOR YOUR SAFETY
Read all instructions carefully, even if you are quite familiar with the appliance.
IMPORTANT!
- This appliance is not intended for use by persons (including children) with reduced physical, sensory or mental capabilities, or lack of experience and knowledge, unless they have been given supervision or instruction concerning use of the appliance by a person responsible for their safety.
- Young children should be supervised to ensure that they do not play with the appliance.
- INDOOR USE ONLY this appliance is not intended for outdoor use.
- Do not place naked flame sources, such as candles, on the appliance.
- Do not locate the appliance or cord near heat sources such as radiators, heaters, air ducts or direct sunlight.
- Do not block any of the ventilation openings. Ensure that vents are not covered by newspapers, tablecloths, curtains, etc.
- Do not run the cord under floor coverings. Instead, arrange the cord away from traffic areas where it will not become a trip hazard.
- To disconnect the appliance, turn the appliance off, switch off the power outlet and remove the plug from the power outlet.
- Do not misuse the cord. Never carry the appliance by the cord or pull to disconnect it from the outlet. Instead, grasp the plug and pull to disconnect.
- Do not operate the appliance if it has a damaged cord or plug; after the appliance malfunctions; or has been dropped or damaged in any way. Consult the manufacturer.
• Do not attempt to repair, disassemble or modify this appliance. The warranty becomes void if not serviced or repaired by a Qualified person.
• Do not place items that have been soiled with flammable liquids inside the dryer without washing them with detergent thoroughly before hand.
• Do not excessively bend, stretch, twist or bind the power cord or place heavy objects on it. This appliance is only to be serviced by a qualified person. There are no user-serviceable parts inside. - Do not use an extension cord with this appliance.
- Do not install in a tight fitting cabinet. Do not overload the tumble dryer.
- Ensure foreign objects do not find their way into the tub of the tumble dryer.
- The door window may be hot after a long drying cycle.
- Please ensure children are kept away from the machine.
- If the tumble dryer is not wall mounted, place in a flat, firm, dry and drafty place. Use the adjustable front legs to assist in leveling the dryer if need be. Do net place it on any soft material such as foam or plastic.
- Do not use flammable or combustible materials such as gas, petrol, alcohol or lacquer in the tumble dryer.
- After turning off the power supply to the tumble dryer, wait at least 2 minutes before turning it back on again.
- Please remove the transport packaging at the rear of the tumble dryer, prior to use.
- If the supply cord is damaged, it must be replaced by the manufacturer, its service agent or similarly qualified persons in order to avoid a hazard.
CAUTION!
If this appliance is supplied from a cord extension set or an electrical portable outlet device, the cord extension set or electrical portable outlet device must be positioned so that it is not subject to splashing or ingress of moisture.
![]()
Oil-affected items can ignite spontaneously, especially when exposed to heat sources such as in a tumble dryer. The items become warm, causing an oxidation reaction in the oil. Oxidation creates heat. If the heat cannot escape, the items can become hot enough to catch fire. Piling, stacking, or storing oil-affected items can prevent heat from escaping and so create a fire hazard.
- If it is unavoidable that fabrics that contain vegetable or cooking oil or have been contaminated by hair care products be placed in a tumble dryer they should first be washed in bot water with extra detergent-this will reduce, but not eliminate, the hazard.
- Do not dry unwashed items in the tumble dryer.
- Items that have been soiled with substances such as cooking oil, acetone, alcohol, petrol, kerosene, spot removers, turpentine, waxes, and wax removers should be washed in hot water with an extra amount of detergent before being dried in the tumble dryer.
- Items such as foam rubber (latex foam), shower caps, waterproof textiles, rubber-backed articles and clothes or pillows fitted with foam rubber pads should not be dried in the tumble dryer.
- Fabric softeners, or similar products, should be used as specified by the fabric softener instructions.
- The final part of a tumble dryer cycle occurs without heat (cool down cycle) to ensure that the items are left at a temperature that ensures that the items will not be damaged.
- Remove all objects from pockets such as lighters and matches.
WARNING
Never stop a tumble dryer before the end of the drying cycle unless all items are quickly removed and spread out so that heat is dissipate.
- The maximum mass of dry textile material in kilograms to be used in the appliance;
- That the tumble dryer is not to be used if industrial chemicals have been used for cleaning;
- That the lint trap has to be cleaned frequently, if applicable;
- That lint must not to be allowed to accumulate around the tumble dryer (not applicable for appliances intended to be vented to the exterior of the building);
- That adequate ventilation has to be provided to avoid the back flow of gases into the room from appliances burning other fuels, including open fires.
NOTE:
This instruction is not required if the tumble dryer discharges the air into the room.
- For appliances with ventilation openings in the base, that a carpet must not obstruct the openings;
- That exhaust air must not be discharged into a flue which is used for exhausting fumes from appliances burning gas or other fuels.
NOTE:
This instruction is not required if the tumble dryer discharges the air into the room. That the appliance must not be installed behind a lockable door, a sliding door or a door with a hinge on the opposite side to that of the tumble dryer, in such a way that a full opening of the tumble dryer door is restricted.
Your Esatto Vented Dryer
![]() | ![]() |
Operating Your Dryer
Electrical Requirements
The unit is required to be plugged into a three pin socket that is reliably grounded. Plug the power cord into the socket.
Loading the dryer
It is recommended that items are placed into the dryer one at a time. This ensures they are not tangled which results in uneven drying. When closing the dryer door prior to starting the unit ensures that items are not jammed in the door.

Tips before drying
Prior to loading the dryer check that the items do : not have the following symbols anywhere on them. lf they do, do not tumble dry these items.

- Check the items to be dried do not have combustible materials or foreign objects within them t.e.: lighters, hair pins, coins.

- Turn items with zippers inside out and fasten buckles.

- Dryer heat may permanently set stains, ensure you check prior to drying that stains are removed.
- Separate dark and light colored items as you would do when washing.
- For best results load the dryer with similar fabrics. Place small delicate items in a mesh bag and do not overload the dryer.
- The maximum mass is 2.5 kilogram’s of dry textile material for the dryer and do not overload. The tumble dryer is intended only for drying textile material washed in water.
Drying time reference table
| Drying Capacity | Dry time |
| Approx.1 kg | Approx.40min |
| Approx.2kg | Approx.80m in |
| Approx.3kg | Approx.120min |
| Approx.4.5kg | Approx.200min |
Drying times can be affected by many factors, such as material, bulkiness, how full the dryer is etc. The above list is only a guide only.
Control Panel Functions
Start button
- After having set up the Heat Selector and Timer Dial, press the Start button. The dryer will start and work until the program is finished.
- If during the drying process the door is opened (or power is switched off), the dryer will stop working. In order to restart it, you will need to close the door (or switch the power back on) and then press the Start button. The dryer will then resume operation.

NOTE: This Start button is only designed to start operation of the dryer. If you press this button during the drying process, the dryer will not pause. In order to stop the dryer, you must turn the timer dial to the Off position.
Drying Program Selector
There are five drying combinations available: Cool, Anti-wrinkle, Warm, Hot and Air dry.


Operation Precautions
Delicate items should be placed into a nylon net bag prior to drying. It is not recommended to dry under wire bras in this unit.
Ensure that foreign objects do not find their way into the dryer. All pockets should be emptied, buttons, buckles and zips fastened. This will also help reduce impact noise when the items hit against the turning drum.

Do not add items into the dryer whilst it is in operation.
If drying large items such as a blanket, it is recommended that from time to time you open the dryer door, shake the item, place the item hack in the dryer and close the door. This will ensure even drying.
To ensure you get the most out of the Anti-wrinkle function do not overload the dryer and remove the dried items from the dryer immediately and hang on coat hangers. Iron the items if desired.
To minimize the risk of fire in a tumble dryer, the following should be observed:
- Items that have been spotted or soaked with vegetable or cooking oil constitute a fire hazard and should not be placed in a tumble dryer.
Oil-affected items can ignite spontaneously, especially when exposed to heat sources such as in a tumble dryer. The items become warm, Causing an oxidation reaction in the oil. Oxidation creates heat. If the heat cannot escape, the items can become hot enough to catch fire. Piling, stacking or storing oil-affected items can prevent heat from escaping and so create a fire hazard.
If it is unavoidable that fabrics that contain vegetable or cooking oil or have been contaminated by hair care products be placed in a tumble dryer they should first be washed in hot water with extra detergent this will reduce, but not eliminate, the hazard.
The ‘cool down’ cycle of tumble dryers should be used to reduce the temperature of the items. They should not be removed from the tumble dryer or piled or slacked while hot.
Items that have been previously cleaned in, washed in, soaked in or spotted with petrol/gasoline, dry-cleaning solvents or other flammable or explosive substances should not be placed in a tumble dryer. Highly flammable substances commonly used in domestic environments include acetone, denatured alcohol, petrol/gasoline, kerosene, spot removers(some brands), turpentine, waxes and wax removers.
- Items containing foam rubber (also known as latex foam) or similarly textured rubber, like materials should not be dried in a tumble dryer on a heat setting.
Foam rubber materials can, when heated, produce fire by spontaneous combustion.
- Fabric softeners or similar products should not be used in a tumble dryer to eliminate the effects of static electricity unless this practice is specifically recommended by the manufacturer of the fabric softener or product.
- Undergarments that contain metal reinforcements should not be placed in a tumble dryer.
Damage to the tumble dryer can result if metal reinforcements come loose during drying. When available a drying rack could be used for such items.
- Plastic articles such as shower caps or babies’ waterproof napkin covers should not be placed in a tumble dryer.
- Rubber-backed articles, clothes fitted with foam rubber pads, pillows, galoshes and rubber-coated tennis shoes should not be placed in a tumble dryer.
Installation Instruct
Installation Instructions
This dryer can not be used upside down Where to place your dryer ?
Place the dryer in a dry well ventilated area. It should be positioned away from heat and direct sunlight.
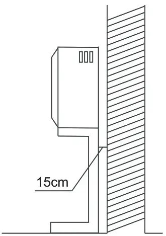
If the dryer is not wall mounted, it must be placed on” firm horizontal ground. Do not place the dryer on carpet as this will block the intake. There should be at least 15cm between the dryer and the wall.
The dryer comes with fixed legs that need to be assembled to ensure stability.

If the dryer is rack mounted. A secure bracket is required to ensure stability and prevent vibration. At least 15cm between the dryer and walls is required (The bracket is not included).
![]() | ![]() |
Wall Mounting Instructions
- Determine dryer position on wall and mark required bracket position. This dryer is not suitable to be directly placed on top of a washing machine.
* Aminimum 50mm is needed between the top of the dryer and the ceiling for ease of installation.
* If mounting above a washing machine, allow sufficient room to open the lid of the washer.Tools Required Tools & parts required for plaster/ wooden wall Drill & 3mm Bit 1 Philips Head screw Driver 1 Wood Screws, 012x 50mm Timber screws 4 Helper to lift dryer onto wall 1 Wall Mounting Kit Includes Description Hanging brackets 
2 Plastic spacers 
2 Exhaust connector 
1 12mm Long Screws 
4 25mm Long Screws 
4 - Fix the wall hanging brackets (2 supplied) to the wall securely (e.g. into the stud.) Fit a timber slat between the studs to mount the brackets if the stud position is too wide.

- To install the hanging hook to timber, start at Fig 2.
- Align hanging hooks and fasten screws tightly
- Please adjust the exhaust connector direction, then, match the exhaust connector onto the connector. Please refer to Fig 3.
- Turn the exhaust connector clockwise, until it insert into the connector’s groove.
- Using 4x12mm screws (provided) to fix the 2 spacers as per Fig 4.
- With assistance, mount dryer on wall bracket. See Fig 5.


Maintenance
Cleaning the Lint Filter
Please unplug the power cord prior to any cleaning. The lint filter must be in place whenever drying. It must be cleaned before each use.
- Removing the filters
Remove by pulling outwards with fingers, inserted into the four holes around the exhaust vent shroud. The filter is in 3 parts: Exhaust vent shroud, lint filter and exhaust filter (as shown in figure1)
- Cleaning the filter
Separate “exhaust vent shroud”, “lint filter” and “exhaust filter”. Clean the lint on the lint filter and exhaust filter with a soft brush or vacuum cleaner. Do not damage the filters(as show in figure 2).
Re-installing the filter
After cleaning, assemble in the sequence of “exhaust filter – lint filter- exhaust vent shroud”, align the recesses in the center with the projection in the center of the drum. Make sure that it is firmly inserted (as shown in figure 3).
Note: The filter fixed in the bottom of the drum should also be cleaned with a soft brush.
Cleaning of the Air Intake Filter
The filter should be cleaned once a month.
Remove by pulling outwards holding the upper and lower ends of the air intake shroud. Remove the filter inside the shroud and clean it with a soft brush. Reassemble and install as before.
Slightly push upwards with your thumb until the latch hook disconnects, then remove.
Cleaning the interior & exterior of the Dryer
Do not wash directly with water.
Do not use thinner, gasolene or alcohol.
Do not use any type of spray cleaner when cleaning the interior. If dryer drum becomes stained, clean the drum with a damp cloth.
Remove any residue before drying the next load.
Clean cabinet with mild soap and water. Do not use harsh or abrasive cleaners, this could damage the dryer.
WARNING: Regularly clean the lint trap
CAUTION! HOT SURFACE
• Do not touch the intake during the drying cycle due to high temperatures
READ THE INSTRUCTIONS
Troubleshooting & Technical Specs.
| Problem | Possible Cause | What to do |
| Timer knob does not turn | • Is the power cord inserted firmly? | • Insert the power cord firmly. |
| Drum does not turn | • Is the door closed? • Is the power cord inserted? • Does the receptacle have power? | • Close the door. • Insert the power cord firmly. • Check the power cord receptacle. |
| Hot air is not blowing out | • Does the receptacle have power? | • Set the timer to hot air. |
| The laundry is not thoroughly dried | • Are the front and back filters clogged? • Is there too much laundry in the dryer? • Have items been added whilst the dryer is in operation? • Has the laundry become twisted whilst drying? • Has the dryer been placed in a small and badly ventilated area? • Have you set the dryer to Anti-Wrinkle? | • Clean the filter, • Reduce the amount in the dryer. • Re-dry the items again. • Untwist the items and re-dry. • Place the dryer in a well-vented area. • Try using ‘Warm’ or ‘Hot’ setting instead. |
| Dryer does not start | • Is there a power failure? • Is the power cord inserted firmly? • Is the door closed? • Is the timer in the OFF position? | • Try again when there is power. • Insert the power cord firmly. • Close the door. • Set the dry time. |
Dryer Technical Specifications
| Model | VDE45W |
| Drying Capacity | 4.5kg |
| Voltage | 220-240V— 50/60Hz |
| Rated Input | 1450 W |
| Net Weight | 21kg |
| Dimensions | 600x435x700mm |
NOTE: Consistent with our continuing product development policy, improvements may have been made which render the contents of this package slightly different to that shown.
MAME IN CHINA
Appendix
Care Lable
The label and sign on the fabric can help you to choose the best way to launder your clothes.

Electrical Warning
To avoid fire,electrical shock and other accidents,please remember the following reminding:
- Only the voltage indicated in power label can be used. If you are not clear of the voltage at home, please contact the local power bureau.
- When you are using the heating function, the maximum current through the washing machine will reach 10A. Therefore, please make sure the power supply units (current, voltage and cable) can meet the normal load requirements for the machine.
- Protect the power cord properly. Power cord shall be fixed well so that it will not trip the people or other things and be damaged. Special attention shall be paid to the socket. It shall be plugged into the sockets easily and attention shall be paid to the plug location.
- Do not make the wall-mounted socket overloaded or cable extended. Overloading of the wiring may cause fire or electrical shock. Do not pull out power plug with wet hand.
- To ensure your safety, power plug shall be inserted into an earthed three-pole socket. Carefully check and ensure that your socket is properly and reliably earthed.
Purchase Details
For future reference, please record the following information which can be found on the rating plate and the date of purchase which can be found on your sales invoice.
The rating plate of your dryer is located at the back of the appliance.
STORE DETAILS………………………………………………………………………………………………………………..
STORE NAME……………………………………………………………………………………………………………………..
ADDRESS…………………………………………………………………………………………………………………………….
TELEPHONE……………………………………………………………………………………………………………………..
PURCHASE DATE………………………………………………………………………………………………………………
PRODUCT DETAILS………………………………………………………………………………………………………….
MODEL NO………………………………………………………………………………………………………………………..
SERIAL NO.*……………………………………………………………………………………………………………………….
Attach your receipt to this page
![]()
Warranty Information
WARRANTY TERMS & CONDITIONS WASHING MACHINES & CLOTHES DRYERS
This document sets out the terms and conditions of the product warranties for Residentia Group Appliances. It is an important document. Please keep it with your proof of purchase documents in a safe place for future reference should you require service for your Appliance.
- IN THIS WARRANTY
(a) ‘acceptable quality’ as referred to in clause 10 of this warranty has the same meaning referred to in the ACL;
(b) ‘ACL’ means Trade Practices Amendment (Australian Consumer Law) Act (No.2) 2010;
(c) ‘Appliance’ means any Residentia Group product purchased by you accompanied by this document;
(d) ‘ASR’ means Residentia Group authorised service representative;
(e) ‘Residentia Group’ means Residentia Group Pty Ltd of 118 Campbell St, Collingwood VIC, ACN 600 546 656 in respect of Appliances purchased in Australia;
(f ) ‘major failure’ as referred to in clause 10 of this warranty has the same meaning referred to in the ACL and includes a situation when an Appliance cannot be repaired or it is uneconomic for Residentia Group, at its discretion, to repair an Appliance during the Warranty Period;
(g) ‘Warranty Period’ means: where the Appliance is used for personal, domestic or household use (i.e. normal single family use) as set out in the instruction manual, the Appliance is warranted against manufacturing defects for 24 months, following the date of original purchase of the Appliance;
(h) ‘you’ means the purchaser of the Appliance not having purchased the Appliance for re-sale, and ‘your’ has a corresponding meaning. (i) - This warranty only applies to Appliances purchased and used in Australia and is in addition to (and does not exclude, restrict, or modify in any way) any non-excludable statutory warranties in Australia.
- During the Warranty Period Residentia Group or its ASR will, at no extra charge if your Appliance is readily accessible for service, without special equipment and subject to these terms and conditions, repair or replace any parts which it considers to be defective. Residentia Group or its ASR may use remanufactured parts to repair your Appliance. You agree that any replaced Appliances or parts become the property of Residentia
Group. This warranty does not apply to light globes, batteries, filters or similar perishable parts. - Parts and Appliances not supplied by Residentia Group are not covered by this warranty.
- You will bear the cost of transportation, travel and delivery of the Appliance to and from Residentia Groupor its ASR. If you reside outside of the service area, you will bear the cost of:
(a) travel of an authorised representative;
(b) transportation and delivery of the Appliance to and from Residentia Group or its ASR, in all instances, unless the Appliance is transported by Residentia Group or its ASR, the Appliance is transported at the owner’s cost and risk while in transit to and from Residentia Group or its ASR. - Proof of purchase is required before you can make a claim under this warranty.
- You may not make a claim under this warranty unless the defect claimed is due to faulty or defective parts or workmanship. Residentia Group is not liable in the following situations (which are not exhaustive):
(a) the Appliance is damaged by:
(i) accident
(ii)misuse or abuse, including failure to properly maintain or service
(iii) normal wear and tear
(iv) power surges, electrical storm damage or incorrect power supply
(v) incomplete or improper installation
(vi) incorrect, improper or inappropriate operation
(vii) insect or vermin infestation
(viii) failure to comply with any additional instructions supplied with the Appliance;
(b) the Appliance is modified without authority from Residentia Group in writing;
(c) the Appliance’s serial number or warranty seal has been removed or defaced;
(d) the Appliance was serviced or repaired by anyone other than Residentia Group, an authorised repairer or ASR. - This warranty, the contract to which it relates and the relationship between you and Residentia Group are governed by the law applicable where the Appliance was purchased.
- To the extent permitted by law, Residentia Group excludes all warranties and liabilities (other than as contained in this document) including liability for any loss or damage whether direct or indirect arising from your purchase, use or non use of the Appliance.
- For Appliances and services provided by Residentia Group in Australia, the Appliances come with a guarantee by Residentia Group that cannot be
excluded under the Australian Consumer Law. You are entitled to a replacement or refund for a major failure and for compensation for any other reasonably foreseeable loss or damage. You are also entitled to have the Appliance repaired or replaced if the Appliance fails to be of acceptable quality and the failure does not amount to a major failure. The benefits to you given by this warranty are in addition to your other rights and remedies under a law in relation to the Appliances or services to which the warranty relates. - At all times during the Warranty Period, Residentia Group shall, at its discretion, determine whether repair, replacement or refund will apply if an Appliance has a valid warranty claim applicable to it.
- Missing parts are not covered by warranty. Residentia Group reserves the right to assess each request for missing parts in a case by case basis.
Any parts that are not reported missing in the first week after purchase will not provide free of charge. - To enquire about claiming under this warranty, please follow these steps:
(a) carefully check the operating instructions, user manual and the terms of this warranty;
(b) have the model and serial number of the Appliance available;
(c) have the proof of purchase (e.g. an invoice) available;
(d) telephone the numbers shown below. - You accept that if you make a warranty claim, Residentia Group and its ASR may exchange information in relation to you to enable Residentia
Group to meet its obligations under this warranty.
IMPORTANT
Before calling for service, please ensure that the steps in point 13 have been followed.
Telephone contacts
→ Service & Spares: Please call 1300 11 HELP (4357)
The Australian Consumer Law requires the inclusion of the following statement with this warranty:
Our goods come with guarantees that cannot be excluded under the Australian Consumer Law.
You are entitled to a replacement or refund for a major failure and for compensation for any other reasonably foreseeable loss or damage. You are also entitled to have the goods repaired or replaced if the goods fail to be of acceptable quality and the failure does not amount to a major failure.
![]()

Appliances Exactly what you need
Residentia Group
Head Office
165 Barkly Avenue, Burnley, Victoria, Australia 3121
ACN
600 546 656
Online
residentia.group
www.esatto.house
@esatto.house
Postage
PO Box 5177, Burnley, Victoria, Australia 3121
Telephone 1300 11 4357
A RESIDENTIA GROUP INITIATIVE










Re-installing the filter
Note: The filter fixed in the bottom of the drum should also be cleaned with a soft brush.


















