SEALEY AP4206BE.V2 1120MM Mobile Tool Cabinet

Thank you for purchasing a Sealey product. Manufactured to a high standard, this product will, if used according to these instructions, and properly maintained, give you years of trouble-free performance.
IMPORTANT: PLEASE READ THESE INSTRUCTIONS CAREFULLY. NOTE THE SAFE OPERATIONAL REQUIREMENTS, WARNINGS & CAUTIONS. USE THE PRODUCT CORRECTLY AND WITH CARE FOR THE PURPOSE FOR WHICH IT IS INTENDED. FAILURE TO DO SO MAY CAUSE DAMAGE AND/OR PERSONAL INJURY AND WILL INVALIDATE THE WARRANTY. KEEP THESE INSTRUCTIONS SAFE FOR FUTURE USE.
- Refer to the instruction manual
SAFETY
- WARNING: Ensure Health & Safety, local authority, and general workshop practice regulations are adhered to when using these units.
- Use the roll cab on the level and solid ground, preferably concrete.
- Keep the work area clean, and uncluttered, and ensure there is adequate lighting.
- Keep the units clean and tidy in accordance with good workshop practice.
- Keep children and unauthorized persons away from the work area.
- DO NOT use these units for any purpose other than that for which they are designed.
- DO NOT use the units outdoors.
- DO NOT place the units in a damp or wet location or an area where there is condensation.
- DO NOT clean the units with any solvents which may damage the surfaces or the protective coating.
- DO NOT move the units with the drawers out. To avoid tipping, open one drawer at a time and close and secure all drawers whilst moving the roll cab.
- DO NOT step on the drawers.
- DO NOT overload the drawers, the weight limit per drawer is 36kg.
INTRODUCTION
All heavy-duty steel construction and manufactured with steel inner walls for extra strength and durability. Heavy-duty 45mm ball-bearing drawer slides provide superior performance, suitable for heavier loads. Full height rear locking mechanism locks smooth running soft close drawers in place. Rust and solvent resistant black crinkle effect finish. Fitted with four Ø125mm PP wheels with black chrome effect alloys, two fixed and two locking swivel castors. Each drawer features stylish black anodized heavy-duty drawer pulls plus pre-cut non-slip liners. Power tool charging drawer fitted with 230V sockets (x4) and 5V 2.4A USB sockets (x2). Mounting points to fit an additional four socket power strip – Model No. EL34USBB (not included). Stainless steel ‘flip-top’ provides a work surface and additional storage. Cylinder lock for security of valuable items locks the drawers and lid.
ASSEMBLY
- These units are heavy, obtain the help of at least one other person before attempting to unpack them.
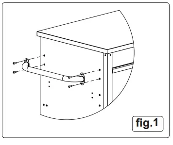
- Mount the side-mounted handle onto the left-hand end of the cabinet and attach it with 4 bolts (fig.1).

- To remove a drawer with roller sliders, pull the drawer completely out, press down the right tab and lift up the left tab, and pull the drawer off the slides To reinstall the drawer, realign with the internal drawer slide and push until it locks in place (fig.2).

- Fit bottle opener to the left hand (handle) end of the cabinet using two M6 x 16 mm bolts (fig.3).

- Mounting holes for an additional power rail (EL34USBB- not included) are provided at both ends of the cabinet and mounting bolts are provided with the cabinet.

IMPORTANT: To avoid tipping, open one drawer at a time and close and secure all drawers whilst moving the roll cab/units.
MAINTENANCE
- Periodically lubricate wheel axles and tighten all nuts and bolts.
- Keep all surfaces clean. Brush off and wipe down with a damp cloth and mild detergent to maintain the finish.
- Lubricate the drawer slides sparingly every six months.
- Stubborn grease and oil marks can be removed by using a non-abrasive cleaner.
ENVIRONMENT PROTECTION
Recycle unwanted materials instead of disposing of them as waste. All tools, accessories, and packaging should be sorted, taken to a recycling center, and disposed of in a manner that is compatible with the environment. When the product becomes completely unserviceable and requires disposal, drain any fluids (if applicable) into approved containers and dispose of the product and fluids according to local regulations.
Note: It is our policy to continually improve products and as such we reserve the right to alter data, specifications, and component parts without prior notice.
Important: No Liability is accepted for incorrect use of this product.
Warranty
- Guarantee is 12 months from purchase date, proof of which is required for any claim.
Sealey Group
- ADDRESS: Kempson Way, Suffolk Business Park, Bury St Edmunds, Suffolk. IP32 7AR
- TEL: 01284 757500
- 01284 703534
- [email protected]
- www.sealey.co.uk




















