MOBILE TOOL CABINET 1600MM WITH
POWER TOOL CHARGING DRAWER
MODEL NO: AP6310BE.V2
Thank you for purchasing a Sealey product. Manufactured to a high standard, this product will, if used according to these instructions, and properly maintained, give you years of trouble-free performance.
IMPORTANT: PLEASE READ THESE INSTRUCTIONS CAREFULLY. NOTE THE SAFE OPERATIONAL REQUIREMENTS, WARNINGS & CAUTIONS. USE THE PRODUCT CORRECTLY AND WITH CARE FOR THE PURPOSE FOR WHICH IT IS INTENDED. FAILURE TO DO SO MAY CAUSE DAMAGE AND/OR PERSONAL INJURY WILL INVALIDATE THE WARRANTY. KEEP THESE INSTRUCTIONS SAFE FOR FUTURE USE.
Refer to the instruction manual
SAFETY
WARNING! Ensure Health & Safety, local authority, and general workshop practice regulations are adhered to when using these units.
WARNING! Use the Rollcab on the level and solid ground, preferably concrete.
Keep the work area clean, and uncluttered, and ensure there is adequate lighting.
Keep the units clean and tidy in accordance with good workshop practice.
Keep children and unauthorized persons away from the work area.
DO NOT use these units for any purpose other than that for which they are designed.
DO NOT use the units outdoors.
DO NOT place the units in a damp or wet location or an area where there is condensation.
DO NOT clean the units with any solvents which may damage the surfaces or the protective coating.
DO NOT move the units with the drawers out. To avoid tipping, open one drawer at a time and close and secure all drawers whilst moving the roll cab.
DO NOT step on the drawers.
DO NOT overload the drawers, the weight limit per drawer is 36kg.
INTRODUCTION
All heavy-duty steel construction and manufactured with steel inner walls for extra strength and durability. Heavy-duty 45mm ball-bearing drawer slides provide superior performance, suitable for heavier loads. Full height rear locking mechanism locks smooth running soft close drawers in place. Rust and solvent-resistant black crinkle effect finish. Fitted with six Ø125mm PP wheels with black chrome effect alloys, two castors with quick-release anti-rotation toe locks, and two fixed wheels. Each drawer features stylish black anodized heavy-duty drawer pulls plus pre-cut non-slip liners. Power tool charging drawer fitted with 4 x 230V sockets & 2 x 5V 2.4A USB sockets. Mounting points to fit an additional 4 gang power strip – Model No. EL34USBB (not included) Stainless steel ‘flip-top’ split equally into two sections providing a work surface and additional storage. Two cylinder locks allow drawers and power tool charging drawer to be locked separately.
SPECIFICATION
MODEL NO.: ………………………………………………. AP6310BE
Dimensions (W x D x H): …………………..1600 x 585 x 990mm
4 Gang power rail (optional) …………………………… EL34USBB
CONTENTS
| Item | Description | Quantity |
| 1 | Bolt M6 x 16 mm | 14 |
| 2 | Handle fig.1 | 1 |
| 3 | Storage hooks fig.2 | 4 |
| 4 | Bolt M3 x 10 mm (not shown) | 4 |
| 5 | Bottle opener fig.4 | 1 |
ASSEMBLY
5.1. These units are heavy, obtain the help of at least one other person before attempting to unpack them.
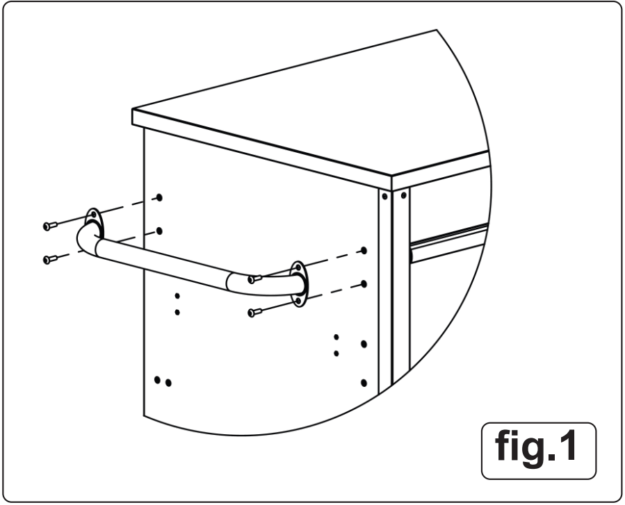
5.2. Mount the side-mounted handle onto the left-hand end of cabinet and attach it with 4 bolts (item 1) (fig.1).
5.3. Mount the storage hooks using bolts (item 1) at each end of the cabinet (fig.2) or alternatively mount one set of hooks on the reverse face of either the left or right-hand end of the cabinet (fig.2).
| Unit element | W | D | H |
| Top long drawer (x1) | 1036 | 482 | 69 |
| Left small drawer (x3) | 641 | 482 | 68 |
| Left large drawer (x1) | 641 | 482 | 204 |
| Right small drawer (x4) | 326 | 482 | 47 |
| Right large drawer (x1) | 326 | 482 | 212 |

5.4. To remove a drawer with roller sliders, pull the drawer completely out, press down the right tab and lift up the left tab, and pull the drawer off the slides To reinstall the drawer, realign with the internal drawer slide and push until it locks in place (fig.3).
5.5. Fit the bottle opener to the left-hand (handle) end of the cabinet using two M6 x 16 mm bolts. (fig.4).
5.6. Mounting holes for an additional power rail (EL34USBB – not included) are provided at both ends of the cabinet and mounting bolts (item 4) are provided with the cabinet.
IMPORTANT: To avoid tipping, open one drawer at a time and close and secure all drawers whilst moving the roll cab/units.

MAINTENANCE
6.1. Periodically lubricate wheel axles and tighten all nuts and bolts.
6.2. Keep all surfaces clean. Brush off and wipe down with a damp cloth and mild detergent to maintain the finish.
6.3. Lubricate the drawer slides sparingly every six months.
6.4. Stubborn grease and oil marks can be removed by using a non-abrasive cleaner.
ENVIRONMENT PROTECTION
Recycle unwanted materials instead of disposing of them as waste. All tools, accessories, and packaging should be sorted, taken to a recycling center, and disposed of in a manner that is compatible with the environment. When the product becomes completely unserviceable and requires disposal, drain any fluids (if applicable) into approved containers and dispose of the product and fluids according to local regulations.
Note: It is our policy to continually improve products and as such we reserve the right to alter data, specifications, and component parts without prior notice. Please note that other versions of this product are available. If you require documentation for alternative versions, please email or call our technical team at [email protected] or 01284 757505.
Important: No Liability is accepted for incorrect use of this product.
Warranty: Guarantee is 12 months from purchase date, proof of which is required for any claim.
Sealey Group, Kempson Way,
Suffolk Business Park, Bury St Edmunds,
Suffolk. IP32 7AR
01284 757500
01284 703534
[email protected]
www.sealey.co.uk
© Jack Sealey Limited
Original Language Version
AP6310BE.V2 Issue 1 15/12/21

















