POWER FIST 9003005 Rolling Tool Cabinet

Please read and understand all instructions before use. Retain this manual for future reference.
SPECIFICATIONS

HAZARD DEFINITIONS
Please familiarize yourself with the hazard notices found in this manual. A notice is an alert that there is a possibility of property damage, injury or death if certain instructions are not followed.
- DANGER!
This notice indicates an immediate and specific hazard that will result in severe personal injury or death if the proper precautions are not taken. - CAUTION!
This notice indicates a potentially hazardous situation that may result in minor or moderate injury if proper practices are not taken. - NOTICE!
This notice indicates that a specific hazard or unsafe practice will result in equipment or property damage, but not personal injury.
INTRODUCTION
This rolling tool cabinet is ideal for organizing and storing items in your shop or garage or is a great addition to any existing tool or parts storage system. It features a generous 100 Ib drawer capacity, ball-bearing drawer slides, includes drawer liners,6 polypropylene casters and powder-coated steel construction.
SAFETY
WARNING! Read and understand all instructions before using this tool. The operator must follow basic precautions to reduce the risk of personal injury and/or damage to the equipment.
WORK AREA
- Operate in a safe work environment. Keep your work area clean, well-Hlit and free of distractions. Place lights so you are not working in a shadow.
- Keep anyone not wearing the appropriate safety equipment away from the work area.
- Store unused tools properly in a safe and dry location to prevent rust or damage. Lock tools away and keep out of the reach of children.
- Assemble and operate on a flat, level, hard and smooth surface capable of safely Supporting when fully loaded.
PERSONAL SAFETY
WARNING! Wear personal protective equipment approved by the Canadian Standards Association (CSA) or American National Standards Institute (ANSI).
PERSONAL PROTECTIVE EQUIPMENT
- Always wear impact safety g0ggles that provide front and side protection for the eyes. Eye protection equipment should comply with CSA Z94.3-07 or ANSI Z871 standards based on the type of work performed.
- Wear gloves that provide protection based on the work materials or to reduce the effects of tool vibration.
- Wear protective clothing designed for the work environment and tool.
- Non-skid footwear is recommended to maintain footing and balance in the work environment.
PERSONAL PRECAUTIONS
Control the tool, personal movement, and the work environment to avoid personal injury or damage to the tool.
- Do not operate any tool when tired or under the influence of drugs. alcohol or medications.
- Avoid wearing clothes or jewelry that can become entangled with the moving parts of a tool. Keep long hair covered or bound.
- Do not overreach when operating a tool. Proper footing and balance enables better control in unexpected situations.
SPECIFIC SAFETY PRECAUTIONS
WARNING! DO NOT let comfort or familiarity with the product (gained from repeated use) replace strict adherence to the tool safety rules. If you use this tool unsafely or incorrectly, you can suffer serious personal injury.
- Use the correct tool for the job. This tool was designed for a specific function. Do not modify or alter this tool or use it for an unintended purpose.
- Do not use the tool if any parts are damage broken or misplaced. Repair or replace the parts
- Only use this device on a surface that is stable, level, dry and not slippery, and capable of sustaining the load. Ensure that the load is centre-loaded and secure.
- Do not exceed the overall maximum load capacity. The weight rating is based on an evenly distributed load.
- Do not alow children to use this device without supervision. This device is not a toy.
- Do not use this device to transport passengers.
- Do not use as furniture
- Do not open more than one drawer at once.
- Empty, close and lock drawers before moving or transporting.
- Do not lift using the handle.
- Do not move or lift while fully loaded.
- To prevent tipping, move using the suppled handle only.
- Lock the swivel casters when dorne moving or when in desired location.
- Do not mount on truck beds, trailers or any other moving object.
- Do not sit, stand or climb on.
- Weight capacities and other product capabilities apply to properly Completed and assembled product only.
WARNING! Sudden load movement or shifting may create excess load, causing tipping or operational failure.
UNPACKING
WARNING! Do not operate the tool if any part is missing. Replace the missing part before operating. Failure to do so could result in a malfunction and personal injury.
- Remove the parts and accessories from the packaging and inspect for damage.
- Make sure that all items in the parts list are included.
- Make sure that all items in the ldentification Key are included.
IDENTIFICATION KEY

- A Handle
- B Locks
- C Compartment
- D Fixed casters
- E Swivel casters
- F Drawers
ASSEMBLY & INSTALLATION
Numbered references in parenthesis (#1) refer to the included Parts List. Letter references in parenthesis (A refer to the included identification Key.
- Place contents on a flat, level, hard and smooth surface capable of Supporting a fully loaded cabinet.
- Locate the keys (#5), label them and store in a safe place.
- Using the locks (B), ensure all drawers (F) and compartments (C) are secured.
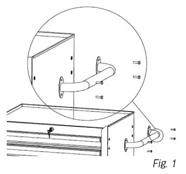
- Attach handle to either side of the cabinet using the spring washers C#18), flat washers #19) and bolts #14) provided (Fig. 1).

- Place the swivel casters (E) over top of the holes on the handle side and middle of the cabinet.
- Secure in place using the bolts (#9) provided (Fig. 2).
- Place the two fixed casters (D) over top of the holes on the non-handle side of the cabinet.
- Secure in place using the bolts (#9) provided (Fig. 2).

- Lock the swivel casters by depressing the brake levers.
- Fill drawers and compartmernt with tools and equipment as desired. Fill evenly from bottom to top.
CARE & MAINTENANCE
- Maintain the tool vwith care. A tool in good condition is efficient, easier to control and will have fewer problems.
- Inspect the tool components periodically. checking for the following:
- Loose hardware
- Misalignment of moving parts
- Proper brake operation
- Proper caster operation
- Cracked or broken parts
- Any other condition that may affect operation or safety
- Repair or replace damaged or worn components. Only use identical replacement parts when servicing.
Caution! Do not use if damaged. - Maintain the tool’s labels and name plates. These carry important information. If unreadable or missing, contact Princess Auto Ltd. for replacements.
WARNING! Only qualified service personnel should repair the tool. An improperly repaired tool may present a hazard to the user and/or others.
REMOVING AND INSERTING DRAWERS
To remove a drawer, accomplish the following:
- Fully empty the drawer.
- Pull the drawer out until it’s fully extended
- Push up on the release lever on the right hand drawer slide (#11) while pulling down on the other release lever (Fig. 3).

- Pull the drawer outward until it is released from the slide.
To insert a drawer, accomplish the following:
- Pull the slide and slide carrier out until fully extended.
- Hold the slide on the drawer while aligning it with the slide on the cabinet (Fig. 4).

- Slightly insert one side of the drawer and repeat for the other side.
- To engage the slide, slowly push the drawer until it is fully closed.
- Open and close the drawer to ensure proper operation.
WARNING! Only qualified service personnel should repair the tool. An improperly repaired tool may present a hazard to the user and/or others.
CLEANING
Clean external and internal surfaces regularly. Always use a clean cloth.
LUBRICATION
Inspect and lubricate the drawer slides as needed. Only use light oil to lubricate the tool. Other lubricants may not be suitable and could damage the tool or cause a malfunction during use. When not in use for an extended period, apply a thin coat of lubricant to the steel parts to avoid rust. Remove the lubricant before using the tool again
NOTICE! NEVER use a penetrating oil to lubricate the tool. Penetrating oil may act as a solvent that can break down the grease and cause the tool to seize up.
DISPOSAL
Recycle a tool damnaged beyond repair at the appropriate facility.
TROUBLESHOOTING
Visit a Princess Auto Ltd. location for a solution if the tool does not function properly or parts are missing. If unable to do so, have a qualified technician service the tool.
PARTS BREAKDOWN

PARTS LIST

Visit www.princessauto.com for more information






















