SOFT 600×600/900×900
Cassette fan coil unit
Installation, operation, and maintenance manual
Rel. 08
Soft 600×600 90 Cassette Fan Coil Unit
IT IS COMPULSORY TO INSTALL THE VALVE!
IT IS ESSENTIAL TO INSULATE PIPES, VALVES AND CONNECTIONS CORRECTLY IN ORDER TO AVOID THE FORMATION OF CONDENSATION, WHICH COULD DRIP INTO SUSPENDED CEILINGS CAUSING CONSIDERABLE PROBLEMS.
METAL SHEET FRONT PANEL INSTALLATION INSTRUCTIONS
ABS FRONT PANEL INSTALLATION INSTRUCTIONS
MAIN WARNINGS TO MACHINE USE
| It is compulsory to carefully read this Instruction manual before any operation on the machine: serious damages to persons and thinks could occur if operated by non- qualified personnel. | |
| All single components of machine are subject to quality and dimensioning checks during production process. | |
| All maintenance, regulation and replacement operations described in this Instruction manual are to be only performed after stopping and separating the machine from power supply and hydraulic circuit. | |
| While installation/maintenance operations, the operator must wear protection gloves. | |
| Operator must wear special antiskid and resistant shoes. | |
| Protections have been set up by the Manufacturer in order to physically protect operator while performing its tasks. Do not remove protections for any reason, during operation. If removed must absolutely be restored. | |
| Persons not involved in installation/maintenance operations, if any, should neither transit nor stop close to the peration area. | |
| Electric energy and grounding systems are to be connected by expert and qualifi ed personnel, in compliance with standards in force. | |
| It is recommended to protect main power supply line by safety switches (overload switches). | |
| Any magnetic or electromagnetic field in the nearby could affect proper operation of control panel. The correct environmental temperature and humidity to set up and use the unit refers to residential applications. | |
| Ensure that electric circuit is suitably protected and complies with motor characteristics: the machine is equipped with an identification plate, specifying power, frequency and power supply voltage values. Also ensure that grounding has been performed and a differential switch is regularly installed upstream of power supply cable. The Manufacturer is not responsible for damages to per- sons or things provoked by wrong or unsuitable grounding. | |
| Before performing regulation, maintenance and/or replacement operations, the operator must wait for a time- period after machine stop. |
600×600 GENERAL DIMENSIONS FOR 2 PIPE WATER CASSETTES
| 61 | 62 | 63 | 64 | 65 | ||
| Fans number | 1 | 1 | 1 | 1 | 1 | |
| Coil numbers | 1 | 1 | 1 | 1 | 1 | |
| Hydraulic fitting (Ø ISO 228 female gas) | Ø | 1/2” | 1/2” | 3/4” | 3/4” | 3/4” |
| Air supply in adjacent room (Ø) | mm мм | 150 | 150 | 150 | 150 | 150 |
| Air supply in adjacent room (BxH) | mm мм | 300×150 | 300×150 | 300×150 | 300×150 | 300×150 |
| Fresh air intake (Ø) | mm мм | 80 | 80 | 80 | 80 | 80 |
| Fresh air intake (BxH) | mm мм | 100×45 | 100×45 | 100×45 | 100×45 | 100×45 |
| Unit net weight | kg кг | 20 | 21 | 23 | 24 | 24 |
| Panel net weight (ABS / METAL) | kg кг | 3 / 7,5 | 3 / 7,5 | 3 / 7,5 | 3 / 7,5 | 3 / 7,5 |
600×600 GENERAL DIMENSIONS FOR 4 PIPE WATER CASSETTES

| 81 | 82 | 83 | 83C | 84 | 84C | ||
| Fans number | 1 | 1 | 1 | 1 | 1 | 1 | |
| Coil numbers | 1 | 1 | 1 | 1 | 1 | 1 | |
| Hydraulic fitting (Ø ISO 228 female gas) | Standard Coil | ||||||
| Ø | 1/2” | 1/2” | 1/2” | 1/2” | 1/2” | 1/2” | |
| Auxiliary Coil | |||||||
| Ø | 1/2” | 1/2” | 1/2” | 1/2” | 1/2” | 1/2” | |
| Air supply in adjacent room (Ø) | mm мм | 150 | 150 | 150 | 150 | 150 | 150 |
| Air supply in adjacent room (BxH) | mm мм | 300×150 | 300×150 | 300×150 | 300×150 | 300×150 | 300×150 |
| Fresh air intake (Ø) | mm мм | 80 | 80 | 80 | 80 | 80 | 80 |
| Fresh air intake (BxH) | mm мм | 100×45 | 100×45 | 100×45 | 100×45 | 100×45 | 100×45 |
| Unit net weight | kg кг | 23 | 24 | 24 | 24 | 24 | 24 |
| Panel net weight (ABS / METAL) | kg кг | 3 / 7,5 | 3 / 7,5 | 3 / 7,5 | 3 / 7,5 | 3 / 7,5 | 3 / 7,5 |
900X900 GENERAL DIMENSIONS FOR 2 PIPE WATER CASSETTES
| 71 | 72 | 73 | ||
| Fans number | 1 | 1 | 1 | |
| Coil numbers | 1 | 1 | 1 | |
| Hydraulic fitting (0 ISO 228 female gas) | ø | 3/4′ | 3/4′ | 3/4′ |
| Air supply in adjacent room (0) | mm MM | 150 | 150 | 150 |
| Air supply in adjacent room (BM) | G2 E2 | 300’150 | 300×150 | 300×150 |
| Fresh air intake (0) | mm MM | 80 | 80 | 80 |
| Fresh air intake (BxH) | mm RIM | 70×80 | 70×80 | 70×80 |
| Unit net weight | kg Kr | 40 | 45 | 45 |
| Panel net weight (ABS / METAL) | kg MI | 5/5/13 | 6. | 5/5/13 |
900X900 GENERAL DIMENSIONS FOR 4 PIPE WATER CASSETTES 
| 91 | 92 | 93 | 94 | ||
| Fans number | 1 | 1 | |||
| Coil numbers | 1 | ||||
| Hydraulic fitting (0130 228 female gas) | Standard Coil | ||||
| 0 | 3/4′ | 3/4′ | 3/4′ | 3/4″ | |
| Auxiliary Coil | |||||
| 0 | 3/4″ | 3/4• | 3/4′ | 3 4″ | |
| Air supply in adjacent room (0) | E2 E2 | 150 | 150 | 150 | 150 |
| Air supply in adjacent room 113xH) | E3 E2 | 300×150 | 300×150 | 300×150 | 300‘150 |
| Aria esterna (0) | E2 E2 | 80 | 80 | 80 | 80 |
| Fresh air intake (BxH) | E2 E2 | 70×80 | 70×80 | 70×80 | 70×80 |
| Unit net weight | kg Kr | 41 | 46 | 46 | 46 |
| Panel net xeight (ABS / METAL) | kg Kr | 5/5/13 | 5/5/13 | 5.5;13 | 5.5;13 |
WORKING LIMITS
SUMMER (COOLING)
Minimum inlet water temperature +6°C
Maximum operating pressure 8 bar
Maximum room air temperature +35°C
Maximum room air humidity 78%
WINTER (HEATING)
Maximum inlet water temperature +70°C
Maximum operating pressure 8 bar
Minimum room air temperature +4°C
Maximum room air humidity 78%
Maximum room air temperature +35°C
ATTENTION! Air stratification increases with the raise of inlet water temperature!
The units have the following operating limits:
- it can’t be installed in areas with anomalous heat and humidity conditions;
- it can’t be installed outdoors; – it can’t be installed in explosive environments;
- it can’t be installed in a corrosive atmosphere.
IDENTIFICATION OF THE APPLIANCE
The data plate contains all a the information required to identify the unit and its configuration.
- Manufacturer information
- Order number
- Serial number
- Date
- Model
- Power consumption [A]
- Absorbed power [W]
- Power supply [V-ph-Hz]
- Max pressure [bar]
- Max water temperature [°C]
- Cooling capacity [W]
- Heating capacity [W] or electric heater [W]
- Test reference
- Electric capacity
- Net weight
- Wiring diagram


GENERAL FEATURES AND MAIN COMPONENTS
- Airflow
- Air intake grille with filter
- Electric box
- Fixing brackets (x4)
- Condensate drain pipe
STRUCTURE
Made in heavy-gauge galvanized sheet, the structure comes complete with external brackets on the two sides for easy fixing to the ceiling. Thermal-acoustic insulation lining in polystyrene. Set-up for distribution of air to adjacent rooms through knock-out holes, either circular Ø 150 mm or rectangular 350×100 mm. Set-up for external air intake through knock-out hole.
HEAT EXCHANGER
Coil in copper piping expanded into aluminum fins in continuous block.
The headers have easily accessible female gas fittings and air vent/drainage valve.
AIR FILTER
The filter comprises a galvanized steel frame holding the filtering membrane. Inserted in the inner part of the front panel, it may be easily removedand cleanedusing a vacuumcleaner followed by washing with water.
FAN MOTOR GROUP
Single-inlet centrifugal fan with statically and dynamically balanced plastic impeller. The electric motor, made to international standards, has an overload cut-out. The motor is directly coupled to the fan and cushioned with flexible mountings. It is particularly effi cient and low noise.
DÉCOR PANEL
The décor panel has an innovative design so that the appliance may be used in both residential and commercial premises. The white (RAL 9010) panel is made in lightweight but strong plastic. Fixing to the loadbearing structure is quick and easy. Central intake grille with filter for cleaning the air.
ELIMINATION OF CONDENSATION
Condensate collecting system comprising:
- internal plastic tray for collecting condensation coming from the heat exchanger;
- external auxiliary plastic tray for collecting condensation coming from the valves and connecting pipes.
- electric pump, which is an integral part of the appliance and connected to the external fitting.
RECCMENDATIONS FOR THE INSTALLER
Upon receiving the unit check for any damage, which should be reported immediately. For the water cassette to operate correctly, it should be installed according to the instructions given in this manual. Removal of a water cassette after it has been installed is an operation that requires special training: if this is necessary, please consult your dealer. After installation, explain the correct operating procedure to the customer using the booklet as a reference. Leave this manual with the customer since it is part of the kit supplied with the appliance. Take care not to scratch the units when handling them.
- Read this instruction manual thoroughly before starting installation.
- This unit complies with the low-voltage and electromagnetic compatibly directives.
- The installation should be carried out by a qualified installer.
- Follow all current national safety code requirements. In particular ensure that a properly sized and connected ground wire is in place.
- Check that the voltage and frequency of the mains power supply are as required for the unit to be installed; the available power source must be adequate to operate all other appliances con- nected to the same line.
- Ensure that national safety code requirements have been followed the main supply circuit.
- Where necessary, use field-supplied PVC pipe of appropriate length and diameter and with the correct thermal insulation for the condensate drain extension.
- After installation thoroughly test system operation and explain all system functions to the owner.
WARNING!
- Disconnect the mains power supply switch before servicing the system or handling any internal parts of the unit.
- The manufacturer declines any liability for damage resulting from modifications or errors in the electrical or water connections.
- Failure to observe the installation instructions, or use the unit under conditions other than those indicated in table “Operating limits” of this manual, will immediately invalidate the unit warranty.
- Failure to observe electric safety codes may cause a fire hazard in the event of short circuits.
- Do not install or use damaged units.
- In case of malfunction turn the unit off, disconnect the mains power supply and contact a qualified service engineer.
- Maintenance must only be carried out by qualified personnel.
- All of the manufacturing and packaging materials used for this appliance are biodegradable and recyclable.
- Dispose of the packaging material in accordance with local requirements.
RECEIVING, STORE AND MOVING THE UNITS

At the moment of the delivery of the unit, make sure that it corresponds to the one indicated on the transport document. Check the integrity of the packing and the unit. Should there be any differences with the original order or any damages, anomalies, or incomplete supply, please point it out on the delivery note and inform the firm straight away. Never install or use damaged apparatuses. The unit can be stored in room protected from bad weather with temperature between the +4°C and the +40°C. Transport the packed unit near as possible to the installation place. To avoid any damage to the unit, the plastic part (frontal panel and grille) are furnished separately. The handling and the installation could be facilitated cy use of an elevator.
ATTENTION!
Catch up the cassette on the four corners. Don’t lift or move the unit through the exchanger pipelines or the exhaust pipe condense.
INSTALLATION ACCESSORIES

Is included in the delivery nr. 1 cardboard mounting template to position the unit during the installation phase.
SELECTION OF CASSETTE INSTALLATION LOCATION RECCOMENDATION
- The unit must be installed in a solid and vibration-free ceiling.
- There should be no obstruction of the air flow into and out of the unit and the air should be evenly distributed throughout the whole room.
- Do not install the unit near sources of heat, steam or inflammable gases.
- Install the unit near an electric socket or connect it directly to the power supply.
- Do not install the unit in a place, which is exposed to direct sunlight.
- The selected place should allow easy drainage of the condensed water.
- Periodically check appliance operation and leave sufficient space for maintenance around the appliance.
- Install the unit so that the filter is easily accessible.
INSTALLATION
FIXING THE CASSETTE
Select a place of installation where there can be a clearance of a least 140 cm around the appliance. Make sure that the installation does not interfere with existing electric wiring or plumbing.
Establish the position and size of the hole in the ceiling using the cardboard mounting template.
To fix the unit to the ceiling, use chains or steel lanyard and suitable screw an- chors as shown in picture (material not included in the supply).
Use a spirit level, to make sure that the unit is level and check that it is securely fixed to the ceiling. In high humidity environments, metal supports must be insulated using adhesive insulating material.
FIXING THE PANEL
After installation of the unit, mount the grille using the 4 screws provided.
ATTENTION: It is very important to fix the grille in the right position for correct connection of the receiver panel to the unit.
- To fix the panel only use the 4 supplied screws. Do not use other kinds of screws or you could damage the condensate drain pan.
- Do not bend or narrow the unit piping.
- Do not remove the cap from the unit piping until immediately before connecting the pipes.
- To prevent deformation of the air intake grille, do not overtighten the screws.
CHANGE OF AIR AND RECIRCULATION SYSTEM
- Side knockouts allow connection of a duct for fresh air intake and for conditioning an adjacent room.
FRESH AIR RENEWAL
Remove the knockout holes and the insulation. The ducts may be in flexible polyester (with steel spiral core) or in corrugated aluminium lagged with anti-condensate material. Upon completion of installation, surfaces that have not been insulated may be covered with anti-condensate insulating material (e.g.: 6 mm thick expanded neoprene).
Failure to comply with these instructions could cause dripping due to the condensate; the manufacturer cannot be held responsible for any damage. UNITÀ peso netto peso lordo dimensioni

A. Knockout for air supply to an adjacent room Ø 150 mm
B. Knockout for air supply to an adjacent room 350×100 mm
C. (ACCESSORY) Ø 80 mm circular spigot for fresh air intake (Not inclusive of other connecting parts)
D. Knockout for fresh air intake 100×45 mm (Not inclusive of other connecting parts)
For air supply to an adjacent room and fresh air intake remove sheet knockout holes anr the insulation.
ATTENTION!
Ducting air to an adjacent room requires the closure of at least the corresponding duct end.
A Knockout for air supply to an adjacent room Ø 150 mm MOD. 81
B Knockout for air supply to an adjacent room 350×100 mm
C (ACCESSORY) Ø 80 mm circular spigot for fresh air intake
(Not inclusive of other connecting parts)
D Knockout for fresh air intake 100×45 mm
(Not inclusive of other connecting parts)
WEIGHTS AND PACKAGING
Unit

Panel

| UNIT | ABS PANEL | METAL PANEL | ||||||
| dimension | net weight | gross weight | dimension | net weight | gross weight | net weight | gross weight | |
| [mm] (AxBxC) | [kg] | [kg] | [mm] (DxExF) | [kg] | [kg] | [kg] | [kg] | |
| MOD. 61 | 790 x 760 x 335 | 20 | 22 | 730 x 730 x 115 | 3 | 4 | 7,5 | 9 |
| MOD. 62 | 790 x 760 x 335 | 21 | 23 | 730 x 730 x 115 | 3 | 4 | 7,5 | 9 |
| MOD. 63 | 790 x 760 x 335 | 23 | 25 | 730 x 730 x 115 | 3 | 4 | 7,5 | 9 |
| MOD. 64 | 790 x 760 x 335 | 24 | 26 | 730 x 730 x 115 | 3 | 4 | 7,5 | 9 |
| MOD. 65 | 790 x 760 x 335 | 24 | 26 | 730 x 730 x 115 | 3 | 4 | 7,5 | 9 |
| MOD. 81 | 790 x 760 x 335 | 23 | 25 | 730 x 730 x 115 | 3 | 4 | 7,5 | 9 |
| MOD. 82 | 790 x 760 x 335 | 24 | 26 | 730 x 730 x 115 | 3 | 4 | 7,5 | 9 |
| MOD. 83 | 790 x 760 x 335 | 24 | 26 | 730 x 730 x 115 | 3 | 4 | 7,5 | 9 |
| MOD. 83C | 790 x 760 x 335 | 24 | 26 | 730 x 730 x 115 | 3 | 4 | 7,5 | 9 |
| MOD. 84 | 790 x 760 x 335 | 24 | 26 | 730 x 730 x 115 | 3 | 4 | 7,5 | 9 |
| MOD. 84C | 790 x 760 x 335 | 24 | 26 | 730 x 730 x 115 | 3 | 4 | 7,5 | 9 |
| MOD. 71 | 1050 x 1005 x 380 | 40 | 43 | 965 x 970 x 115 | 5,5 | 7,5 | 13 | 15 |
| MOD. 72 | 1050 x 1005 x 380 | 45 | 48 | 965 x 970 x 115 | 5,5 | 7,5 | 13 | 15 |
| MOD. 73 | 1050 x 1005 x 380 | 45 | 48 | 965 x 970 x 115 | 5,5 | 7,5 | 13 | 15 |
| MOD. 91 | 1050 x 1005 x 380 | 41 | 44 | 965 x 970 x 115 | 5,5 | 7,5 | 13 | 15 |
| MOD. 92 | 1050 x 1005 x 380 | 46 | 49 | 965 x 970 x 115 | 5,5 | 7,5 | 13 | 15 |
| MOD. 93 | 1050 x 1005 x 380 | 46 | 49 | 965 x 970 x 115 | 5,5 | 7,5 | 13 | 15 |
| MOD. 94 | 1050 x 1005 x 380 | 46 | 49 | 965 x 970 x 115 | 5,5 | 7,5 | 13 | 15 |
WATER CONNECTIONS
STANDARD WATER CONNECTION TO HEATING/ COOLING SYSTEM
ATTENTION! IT IS COMPULSORY TO INSTALL THE VALVE!
The following reasons explain why it is necessary to install the 3-way valve:
– Cassettes with a control board onboard
- If the water flow is not closed via the valve when the room temperature is reached, the air sensor installed in intake mode is conditioned by the heat exchanger that cools it or heats it via natural convection. The result is that the unit will not adjust the temperature correctly or it will not go on.
- The unit has a protection system that intervenes by closing the water flow via the valve in cases such as:
a) Where there is a condensate discharge problem (if the valve does not close the water flow, the battery will continue to condense, causing the condensation basin to overflow). b) The user inserts the incorrect function on the remote control: hot as opposed to cold.
c) The water temperature rises to 70 °C (which damages the main condensation basin) - The unit has been developed to heat and cool the environment by means of water flow control: this allows for optimal adjustment inside the room where it is installed.
– Cassettes with and without a control board onboard - If the unit remains turned off for a long time in cooling mode and the water flow is not closed, droplets of condensation may form at the air outlets, which will subsequently lead to a dripping unit.
ATTENTION!
– Always use suitably sized wrenches to fix or slacken the water pipes.
– It is essential to insulate pipes, valves and connections correctly in order to avoid the formation of condensation, which could drip into suspended ceilings causing considerable problems.
The water connections are fixed to the unit body to avoid damage when pipes are connected. It is advisable to tighten the connection with a wrench. The upper coil connection is fitted with an air valve and the lower connection with a drain valve, suitable for a 10 mm wrench or screwdriver. (The coil is only partially drainable; it is advisable to blow air into the coil for complete drainage)



INSTALLATION OF AUXILIARY DRAIN PAN
a) Remove the plastic cap from the condensate drain outlet on the water cassette. Do NOT push the cap into the cassette.
Fit the nozzle into the hole (auxiliary condensate drain pan outlet).
b) Fix the auxiliary drain pan to the unit using the relative screws provided in the kit, ensuring that the condensate pan is level.

CONDENSATE DRAINAGE
ATTENTION!
CONDENSATE DRAINAGE IS FUNDAMENTAL FOR GOOD OPERATION OF THE WATER CASSETTE.
LAG THE PIPES SUITABLY AND CORRECTLY.
To ensure a correct flow of the condensed water, the water drainage pipe must have a slope of 3% without obstructions. Install a trap at least 50 mm deep in order to avoid unpleasant
smells.
To drain the condensate at a higher level, install condensate drain pump with collecting tray and float valve (not included in the standard accessories).
A float valve is recommended to stop the flow of water in the event of pump failure.
When several units are installed near to each other and only one condensate drain hose is used, make sure that the capacity of the hose is sufficient and that it is positioned on a slightly lower level than the appliance.
The condensate drain hose should be fixed using intermediate mounts to prevent deformation of the hose. The drain hose should slope slightly downwards to encourage drainage of
the condensed water.
The drain hose is bent or points upwards.
Keep difference in height between the drain hose and the unit.
ATTENTION!
– Ultimately verify the smooth flow of condensate water from the basin to the discharge pipe (before blocking the dropped ceiling)!
– If the condensate drainage alarm is activated, the zone valve is closed and the fan turned off. 50






Maintenance operations can be even simpler and faster thanks to the Easy Way System above all when unit is installed in modular false ceilings, allowing an excellent accessibility to all the main components in need of ordinary or extraordinary maintenance, thanks to an easily removed side panel that allows to avoid the typical procedure to remove grill, filter and main drain pan.
Once the side panel is removed the main components such as the valves, condensate drain pump, float, main drain pan and all the electric cabling can be easily accessed.
The Easy Way System system guarantees the possibility to work on the unit from the side rather than from below, with remarkable advantages for the maintenance operator.
After maintenance operations, install the front panel.

Inspection openings
If the false ceiling is not made with modular panels (tiles) and support frames such as to allow access, inspection hatches must be made on the sides indicated in the drawing according to the model, such as to be able to reach and operate on the hydraulic and electrical connections of the unit.
- Auxiliary drain pan
- Cassette fan coil unit
- Electric box
- Inspection covers
- Condensate drainage

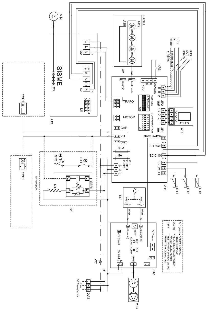
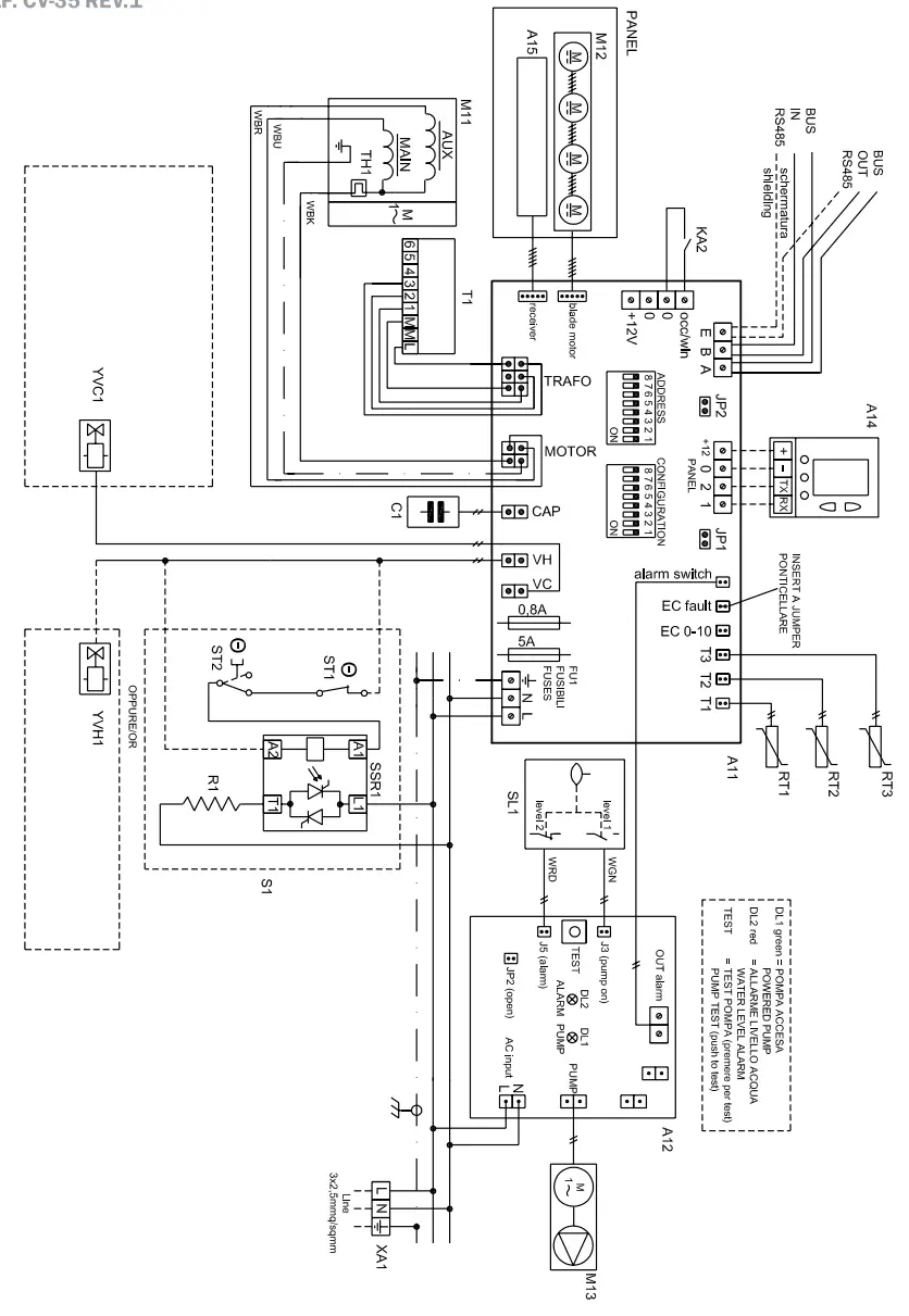
ELECTRICAL CONNECTIONS
ACCESS TO THE CONTROL PANEL
The electrical connections must be carried always on the terminal board
ATTENTION! Before carrying out electrical connections, ensure that the electricity supply has been cut off, checking that the on-off switch is in the OFF position.
Only qualified electricians should carry out the electrical connections. Check that the mains supply is single-phase 230 Vac/1/50 Hz (± 10%). Operating the appliance with voltages outside the above limits could cause malfunction and renders the warranty null and void. Any electrical and mechanical alterations or tampering render the warranty null and void. The motor and accessories power cables in channels or conduits should remain inside the same until they are inside the appliances. The power supply line should be fitted with at least a circuit breaker complete with residual current circuit breaker according to European standards.
UNIT WITH ECM MOTOR
Realize a dedicated power supply line to the water cassettes equipped with a class A circuit breaker.
Install a 30 mA residual current circuit breaker for every 4 cassette units.
A larger number of units connected to the same RCCB does not guarantee a correct operation.
In the RC type cassette unit, the onboard control manages the ECM motor rotation speed, the control of the water inlet valves, the control of the room temperature.
In the NC type, the control of the rotation speed of the ECM motor and the valves is entrusted to an external control / thermostat (by the customer).
The external control / thermostat must have a 0-10Vdc proportional output signal for the ECM motor rotation speed and a 230 Vac on / off signal for controlling the water inlet valves to the cassette unit.
CHANGING THE MOTOR SPEEDS OF ROTATION
UNIT WITH 3 SPEED ASYNCHRONOUS MOTOR
The water cassette motor has 6 speed settings, 3 of which are connected in the factory. To use other speeds than those wired up in the factory, the minimum, medium and maximum wires may be connected onto 3 of the 6 numbered terminals (1…6), taking into account that the speeds follow a sequence as shown in the diagram.
CAUTION! UNDER NO CIRCUMSTANCES SHOULD THE CONNECTIONS TO THE TERMINALS L, M, M BE CHANGED!




LEGEND
| A11 | Control board |
| Al2 | Drain pump board |
| A13 | ECM motor regulation board |
| A14 | Wall control (optional) Max length 15m. Twisted pair shielded cable 4 wiring. Section area 22 or 24 AWG |
| A15 | Receiver |
| C1 | Capacitor |
| Control 1 | 3 speed fan control 230Vac/50Hz |
| Control 2 | Fan speed control 0-10Vdc |
| Control 3 | Heat valve control (4 pipe system) On/Off 230Vac/50Hz or Electric heater control On/Off 230Vac/50Hz (if provided) |
| Control 4 | Heat/cool valve control (2 pipe system) On/Off or Coo valve control (4 pipe system) On/Off 230Vac/50Hz |
| FU1 | Fuses |
| 1121/(A11) | Destratification enable |
| M32/03 (All) | Terminator resistor |
| JP2/(Al2) | Open |
| KA1 | FINDER relay type 22.32 |
| KA2 | Occupancy sensor or window contact |
| line | Permanent power supply 230Vac/50Hz |
| M11 | Fan motor 230Vac/50Hz |
| M12 | Stepper motor |
| MIS | Condensate drain pump 230Vac/50Hz |
| M14 | Fanwith ECM motor |
| Panel | Panel |
| R1 | Electric heater |
| RT1 | Room temperature sensor |
| RT2 | Change over water temperature sensor |
| RT3 | Water temperature sensor for fan start and stop |
| S1 | Electric heater control |
| SL1 | Float |
| SSR1 | Solid state relay |
| ST1 | Safety thermostat automatic reset |
| ST2 | Safety thermostat manual reset |
| T1 | Motor autotransformer |
| WBK | Black |
| WBR | Brown |
| WBU | Blue |
| WGN | Green |
| WRD | Red |
| XA1 | Terminal board |
| YVC1 | Heat/cool valve (2 pipe system) or Cool valve (4 pipe system) On/Off 230Vac/50Hz |
| YV111 | Heat valve (4 pipe system) On/Off 23OVac/SOHz |
WIRING DIAGRAM FOR WATER CASSETTE MODEL ECM NC
WATER CASSETTE FORESEEN FOR WALL MOUNTED CONTROL WITH ECM MOTOR
BRUSHLESS MOTOR – NC MODEL + ON/OFF VALVE (2/4 PIPE SYSTEM)
REF. CV-38 REV.1
WIRING DIAGRAM FOR WATER CASSETTE MODEL NC
WATER CASSETTE FORESEEN FOR WALL MOUNTED CONTROL WITH 3 SPEED MOTOR
3 SPEED MOTOR – NC MODEL + ON/OFF VALVE (2/4 PIPE SYSTEM) + (ELECTRIC HEATER)
REF. CV-37 REV.1
WIRING DIAGRAM FOR WATER CASSETTE MODEL RC
WATER CASSETTE FORESEEN FOR WALL MOUNTED CONTROL WITH 3 SPEED MOTOR
3 SPEED MOTOR – RC MODEL + ON/OFF VALVE (2/4 PIPE SYSTEM) + (ELECTRIC HEATER)
REF. CV-35 REV.1
WIRING DIAGRAM FOR WATER CASSETTE MODEL ECM RC
WATER CASSETTE FORESEEN FOR WALL MOUNTED CONTROL WITH ECM MOTOR
BRUSHLESS MOTOR – RC MODEL + ON/OFF VALVE (2/4 PIPE SYSTEM) + (ELECTRIC HEATER)
REF. CV-36 REV.1
DIP SWITCH CONFIGURATION OPERATION LOGIC
| No. DIP | FUNCTION | ON | OFF | DEFAULT |
| 1 | System type | 4 pipe | 2 pipe | off |
| 2 | VH out | Electric heater | Heat valve | off |
| 3 | Interface type | Wall interface | Infrared receiver | off |
| 4 | Motor type | 3 speed | 0-10Vdc (EC) | on |
| 5 | Fan in cool mode | Thermostatic control | Continuous rotation | off |
| 6 | Fan in heat mode | Thermostatic control | Continuous rotation | off |
| 7 | Fan delay time at set point reached | No delay | 3 min. delay | off |
| 8 | Master/Slave | Master | Slave | off |
JUMPER OPERATION LOGIC
| No. JUMPER | FUNCTION | OPEN | CLOSED | DEFAULT |
| JP1 | Destratification in heating mode Fan activated at minimum speed once set-point reached. Ton = 1 minute Toff = 5 minutes | Active | Not active | Open |
| JP2 / JP3 | Terminator resistor in a system with communication bus | Resistor 120 Ohm not inserted | Resistor 120 Ohm inserted | Open |
LED INDICATION (NORMAL OPERATION)
| LED INDICATION | MEANING | UNIT STATUS |
| LED off | Unit OFF or in FAN mode | Unit OFF or in FAN mode |
| Solid blue LED | Cooling mode | Operating mode |
| Solid red LED | Heating mode | Operating mode |
| Blue flashing LED 1 sec. ON -1 sec. OFF | Window contact open | Unit OFF |
| Red/blue flashing LED | Water temperature read in progress | Standby mode |
INDICACIONES LED (FUNCIONAMIENTO NORMAL)
| INDICATIONS LED | MEANING | UNIT STATUS | |
| Red LED | 2 flashes and one pause | ALARM SWITCH input open | Locked to condensation water level alarm |
| 3 flashes and one pause | EC FAULT input open | Locked in alarm | |
| 4 flashes and one pause | RT3 = 75°C RT3 = 4 C | High water temperature alarm Low water temperature alarm | |
| 5 flashes and one pause | RT1 probe disconnected or short-circuited | Locked in alarm | |
| 6 flashes and one pause | RT2 probe disconnected or short-circuited | Locked in alarm | |
| 7 flashes and one pause | RT3 probe disconnected or short-circuited | Locked in alarm | |
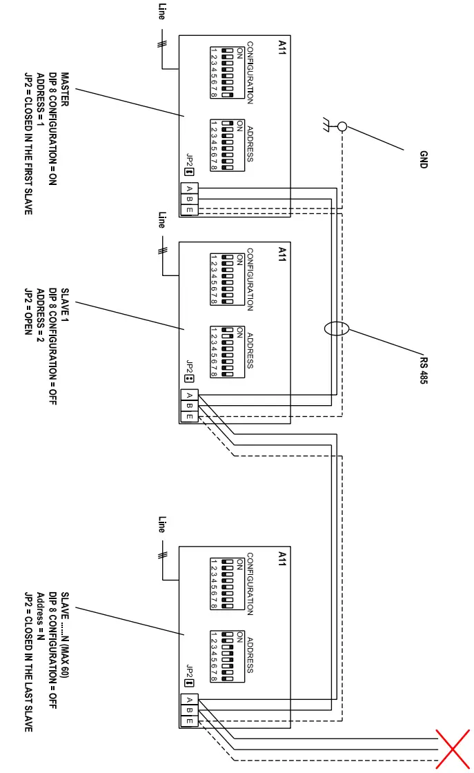
MASTER-SLAVE FUNCTION
The master-slave function is done with connections and settings of the dip switches on the print circuit board One master and up to 30 slaves.
The information that is transferred from the master board to the slave boards are:
- ON / OFF
- Operating mode (heating-cooling-fan only)
- Fan speed (max-med-min-auto)
- Room temperature setting (set-point)
NOTE
- The window contact function is not transferred from the master board to the slave boards
- The information is transferred from the master board to the slave boards at each: – Remote control or wall interface command.
– Cut off the power supply. - The slave boards can be managed locally with the infrared remote control, but in any case resume the commands from the master board at each:
– Command given to the master board by remote control or wall interface – Cut off the power supply. - The commands given to each indivi- dual slave board do not pass to the master board and neither to the other slave boards.
RS485 COMMUNICATION NEWORK
Cable definition
Use shielded twisted cables for RS485 network consists of one or two twisted pairs and screens with the following characteristics:
- Impedance 120 Ohm at 1 MHZ
- Max capacity 50pF/m
Example: - Belden 3106A
- Belden 9841
Wiring scheme
Connect all devices by “daisy chain” topology.
Network limitations
The network should not be longer than 300 meters (longer distances to be covered by means of repeaters). The maximum amount of units per network should be not more than 60 units.
Installation remarks
- When pulling the cable, do not use force that may stretch the cable and distort its insulation and transmission properties.
- Do not allow the cable to kink, knot, snag, or fray when rolling it out or securing it.
- Do not splice cable segments. Use continuous runs of cable from one devi- ce to another.
- Do not cinch cables ties too tightly. Do not crush cables when securing them with staples or supports.
- Maintain the color-coding of all cabling throughout your system.
- Maintain wire twisting and run the cable jacket as close as possible to the termination point.
- Install cables and controllers to minimize the possibility of accidental contact with other, potentially hazardous and disruptive power and lighting cables. Do not run communication cables in the same conduit of electrical cables and if you cross an electrical cable, cross at a 90° angle.
- Do not place communication cables near other bare power cables, lightning rods, antennas, transformers, steam or hot water pipes, in any conduit, box, channel, duct or other enclosure containing power or lighting circuits of any type. Keep communication cables and controllers at least 2 meters from large inductive loads (power distribution panels, lighting ballasts, motors, etc.).
Addressing
Use the “MAC ADDRESS SW2” table to define the network addresses of the devices.
Termination
First and last devices in the communication line should be terminated with a 120 Ohm resistor to prevent signal reflection. When applicable, use the “end of line” jumper JP2 for this purpose.
Grounding
Connect one end of the shield (at the end of the communication line) to a tested ground (earth). Leave the other end of the shield not connected (floa- ting).
MAC ADDRESS SW2
MAC…Switches ON
| 0….Not in use 1….1 2….2 3….1,2 4….3 5….1,3 6….2,3 7….1,2,3 8….4 9….1,4 10….2,4 11….1,2,4 12….3,4 13….1,3,4 14….2,3,4 15….1,2,3,4 | 16….5 17….1,5 18….2,5 19….1,2,5 20….3,5 21….1,3,5 22….2,3,5 23….1,2,3,5 24….4,5 25….1,4,5 26….2,4,5 27….1,2,4,5 28….3,4,5 29….1,3,4,5 | 30….2,3,4,5 31….1,2,3,4,5 32….6 33….1,6 34….2,6 35….1,2,6 36….3,6 37….1,3,6 38….2,3,6 39….1,2,3,6 40….4,6 41….1,4,6 42….2,4,6 43….1,2,4,6 44….3,4,6 45….1,3,4,6 | 46….2,3,4,6 47….1,2,3,4,6 48….5,6 49….1,5,6 50….2,5,6 51….1,2,5,6 52….3,5,6 53….1,3,5,6 54….2,3,5,6 55….1,2,3,5,6 56….4,5,6 57….1,4,5,6 58….2,4,5,6 59….1,2,4,5,6 60….3,4,5,6 |
LEGEND
| GND | Connect one end of the shield cable to a tested ground (earth) |
| RS485 | BUS-RS 485 Cable 2 wiring twisted + shielded Maximum lenght 150 meters Use shielded twisted cables for RS485: -Impedance 120 Ohm at 1 MHZ -Max capacity 50pF/m (type:Belden 3106A) |
| A11 | Regulation board |
| Line | Power supply 230Vac |
| JP2/JP3 (A11) | Terminator resistor |
WIRING DIAGRAM FOR WATER CASSETTE MODEL RC MASTER/SLAVE SYSTEM
EXAMPLE OF MASTER/SLAVE SYSTEM
MOTOR – RC TYPE – MASTER SLAVE
REF. CV-39rev 1

ATTENTION:
MASTER-SLAVE SYSTEM INCONSISTENT WITH BMS COMMUNICATION (MODBUS SUPERVISION)
MAC ADDRESS
![]()
MAC…Switches ON
| ADRESS | DIP SWITCHES 10 PUT ON |
| 0 | Not in use |
| 1 | 1 |
| 2 | 2 |
| 3 | 1,2 |
| 4 | 3 |
| 5 | 1,3 |
| 6 | 2,3 |
| 7 | 1,2,3 |
| 8 | 4 |
| 9 | 1,4 |
| 10 | 2,4 |
| 11 | 1,2,4 |
| 12 | 3,4 |
| 13 | 1,3,4 |
| 14 | 2,3,4 |
| 15 | 1,2,3,4 |
| 16 | 5 |
| 17 | 1,5 |
| 18 | 2,5 |
| 19 | 1,2,5 |
| 20 | 3,5 |
| 21 | 1,3,5 |
| 22 | 2,3,5 |
| 23 | 1,2,3,5 |
| 24 | 4,5 |
| 25 | 1,4,5 |
| 26 | 2,4,5 |
| 27 | 1,2,4,5 |
| 28 | 3,4,5 |
| 29 | 1,3,4,5 |
| 30 | 2,3,4,5 |
| 31 | 1,2,3,4,5 |
| 32 | 6 |
| 33 | 1,6 |
| 34 | 2,6 |
| 35 | 1,2,6 |
| 36 | 3,6 |
| 37 | 1,3,6 |
| 38 | 2,3,6 |
| 39 | 1,2,3,6 |
| 40 | 4,6 |
| 41 | 1,4,6 |
| 42 | 2,4,6 |
| 43 | 1,2,4,6 |
| 44 | 3,4,6 |
| 45 | 1,3,4,6 |
| 46 | 2,3,4,6 |
| 47 | 1,2,3,4,6 |
| 48 | 5,6 |
| 49 | 1,5,6 |
| 50 | 2,5,6 |
| 51 | 1,2,5,6 |
| 52 | 3,5,6 |
| 53 | 1,3,5,6 |
| 54 | 2,3,5,6 |
| 55 | 1,2,3,5,6 |
| 56 | 4,5,6 |
| 57 | 1,4,5,6 |
| 58 | 2,4,5,6 |
| 59 | 1,2,4,5,6 |
| 60 | 3,4,5,6 |
SLAVE SYSTEM WIRING DIAGRAM FOR VERSIONS RC / ECM-RC:
UNIT WITH NEW ELECTRONIC BOARD WITH TWO 485 PORT
LEGEND
| GND | Connect one end of the shield cable to a tested ground (earth) |
| RS485 | BUS-RS 485 Cable 2 wiring twisted + shielded Maximum lenght 300 meters Use shielded twisted cables for RS485: -Impedance 120 Ohm at 1 MHZ -Max capacity 50pF/m (type:Belden 3106A) |
| A11 | Regulation board |
| Line | Power supply 230Vac |
| JP2/JP3 (A11) | Terminator resistor |
WIRING DIAGRAM FOR WATER CASSETTE MODEL RC
EXAMPLES OF BMS SYSTEM NETWORK WITH MODBUS PROTOCOL
MOTOR – RC TYPE – BMS (esempio con BMS terminale – sample with the BMS at the end)
REF. CV-40_A

MOTOR – RC TYPE – BMS (esempio con BMS non terminale – sample with the BMS in the middle)
REF. CV-40_B

BMS WIRING DIAGRAM FOR VERSIONS:
UNIT WITH NEW ELECTRONIC BOARD WITH TWO 485 PORT
REF. GA06 REV.0

WARNINGS
Read the precautions carefully and carry out the procedures correctly:
- In case of failure or malfunction, always apply to authorised service personnel. Any attempt to remove parts, or to maintain the appliance can expose the user to danger of electrical shock. The cassette does not contain parts on which maintenance can be carried out by the user.
- In case of relocation, apply to service personnel authorised to carry out this operation as well as the new installation.
- Do not insert fingers or objects of any kind into airflow outlets or air intake grilles. There is a fan inside the appliance, which turns at high speed and could cause severe personal injury. Pay particular attention to children. – Do not allow the cold airflow to blow on you directly for long periods of time. Direct and prolonged exposure to cold air can be dangerous for your health. Pay particular attention to rooms where there are children, aged or sick people.
- In case of air conditioner malfunction (e.g. smell of burning), stop appliance operation immediately, release the dedicated automatic switch and apply to authorised service personnel. Prolonged use of the appliance in these conditions can cause fire or electrocution.
- During installation of the appliances, avoid letting children or disabled have access to the working area. Accidents can occur.
- Install the appliance and the remote control at least two meters away from television or radio units and from lamps that could irradiate them directly. Any optical and radio interference can cause operating problems.
- Do not block or cover the airflow intake and delivery grilles. The obstruction of these openings causes a reduction of the operating efficiency of the water cassette, with consequent possible failure or damage.
- Do not use the water cassette for applications such as the storage of foods, plants, precision equipment or works of art. The quality of the objects that are stored could deteriorate.
- Do not expose animals or plants to the direct airflow from the appliance. Prolonged direct exposure to the cold airflow from the water cassette can have a negative effect on animals and plants.
- Do not direct the airflow of the air conditioner towards fireplaces or other heating appliances. An airflow directed towards the fire can cause incorrect combustion and fire.
- Do not allow the air conditioner to come into contact with water. The electrical insulation could be damaged with consequent possible risk of electrocution.
RECOMMENDATION
- Check installation conditions in order to identify possible damage.
After prolonged use, apply to specialised service personnel to control the installation conditions of the air conditioner. - Do not use flammable gas near the air conditioner.
- Always use the appliance with the air filter installed. Using the air conditioner without the air filter can cause an excessive accumulation of dust or deposits inside the unit, with consequent possible malfunctioning.
- Release the “automatic” switch if the unit is not going to be used for long periods of time.
- Remove the batteries from the remote control if it is not going to be used for a long period of time. Remove the batteries in order to prevent possible problems caused by loss of electrolyte. In case of accidental contact of the battery liquid with the skin, eyes or mouth, wash the affected part immediately with plenty of water, and see a doctor.
- During normal operation please shut off the unit ONLY using the ON/ OFF switch (infrared or wall-mounted remote control).
FAILURE TO COMPLY WITH THE INSTALLATION INSTRUCTIONS GIVEN IN THIS MANUAL RELIEVES THE MANUFACTURER OF ALL AND ANY LIABILITY. INCORRECT INSTALLATION COULD CAUSE MALFUNCTIONING OR FAILURE OF THE APPLIANCE. IT COULD ALSO REPRESENT A HAZARD FOR THE USER.
INFRARED REMOTE CONTROL FOR RC MODELS

| 01. Timer 02. Active 03. Not active 04. Modes display 05. Fan only 06. Cool 07. Heat 08. Auto 09. Turn system OFF 10. Clock, timer and blades adjustment 11. Turn system ON / send changes 12. Real time clock 13. Temperature unit | 14. Set-point display 15. Fan speeds display 16. Low 17. Medium 18. High 19. Auto 20. Fins management display 21. Inverted position 22. Automatic position 23. Fan speed selection 24. Mode selection 25. Set-point setting |
OPERATION OF INFRARED REMOTE CONTROL
CLOCK ADJUSTMENT
- Press the [Select] button – “CLOCK SET” will flash.
- Press the [+] or [-] buttons – the hours will flash.
- Adjust the hours using the [+] or [-] buttons.
- Press the [Select] again – minutes will flash.
- Adjust the minutes using the [+] or [-] buttons.
- Press the [Select] again to return to normal display.
- Press the [On/Send] button to send information to the unit.

ON/OFF DAILY TIMER
Start Time
- Press the [Select] button twice – “PROGRAM & START” will flash on display.
- Adjust the hours using the [+] or [-] buttons.
- Press the [Select] button – the minutes will flash.
- Adjust the minutes using the [+] or [-] buttons.
- Press the [Select] button to return at normal display.
Stop Time
- Press 3 times the [Select] button – “PROGRAM & STOP” will flash on display.
- Adjust the hours using the [+] or [-] buttons.
- Press the [Select] button – the minutes will flash.
- Adjust the minutes using the [+] or [-] buttons.
- Press the [Select] button to return at normal display.
Run the timer
- Press 4 times the [Select] button – TIMER will blink
- Select TIMER ON (
) or OFF (
) using the [+] or [-] buttons. - Press the [On/Send] button to send the information to the unit.


EMERGENCY ON/OFF BUTTON
The IR receiver contains an [On/Off] emergency button which can be used for turning the system ON and OFF when the IR remote control is not in hand. The [On/Off] button should be pressed for more than 3 seconds and until the unit beeps (but not more than 10 seconds). Once pressed, the unit will turn ON or OFF. When turned ON using the emergency button, the unit will operate in Auto change over mode using preset set-point temperatures for heating (21°C) and cooling (24°C). The fan will run in medium speed.

AIR TEMPERATURE SENSOR RECALIBRATION
Use the offset feature in stand alone configuration, when there is no wall panel, usisng the I.R. handset.
The technician will measure the actual room temperature (according to which he would like to make the offset for T1).
In order to update the offset, the following steps must be followed:
- with the unit ON press and hold the emergency button [located on the receiver] for more than 15 seconds. The system will enter to a “Calibration” mode. In this mode the beeper will beep each 5 seconds, and both blue and red LED’s will flash together and beep sound will continue until out of the calibration mode.
- Once the system is in “calibration mode” the technician will adjust the set point in the remote control as the measured actual room temperature, and send to the IR receiver [SEND].
- This temperature will be read, and the difference form the actual T1 measurement will be calculated into an offset of T1 = “Return Air Sensor Calibration”, and accordingly the parameter will be updated.
- If no information is sent from the remote control, after 2 minutes from the start of “calibration mode”, the system will automatically return to normal operation mode.
- After the technician has sent the “calibration temperature ”for the permanent saving of the data, switch OFF and ON, from the remote control, the unit.
FINS POSITIONING
AUTOMATIC POSITION
The unit (model RC only) automatically placed the blades according to the mode of operation. In cooling mode the blades remain in parallel position to exploit the benefits of the Coanda effect; in heating mode are positioned with an opening of 30° in order to exploit the effect of anti-stratification.
In the event that the automatic mode (marked by the symbol
in the remote control) has been modified in manual mode (symbol
), to return to the standard defined by the manufacturer proceed as follows:
- Press the [Select] button 5 times (the icon
will flash). - Press the [-] button to select auto swing (
). - Press the [On/Send] button to send the information to the unit. In this way the blades will set the automatic position established by the manufacturer.

INVERTED POSITION
If there is the need to change the inclination of the blades manually, to change the air flow differently from the standard position set in automatic way, proceed as follows:
- Press the [Select] button 5 times (the icon
will flash). - Press the [+] button to select manual swing (
). - Press the [On/Send] button to send the information to the unit. In this way the blades will reverse their position respect to automatic version.

BATTERIES REPLACEMENT
When the batteries are low, the display of the remote control will decrease. If the batteries will not be replaced the display will turn off completely.
Batteries replacement:
- Pull the batteries cover down to reveal the batteries.
- Remove the old batteries.
- Wait for 10 minutes before installing the new batteries.
- Install two new AAA batteries – Pay attention to the polarity.
- Return the batteries cover to place.
To prevent liquid leakage, take out all batteries when the remote controller is not going to be used for a long time.

ORDINARY MAINTENANCE
We always recommend to clean the air filter and the auxiliary drain pan at the end of the first start of the system, this is usually because the filter and the basin has accumulated dusts from the construction site. Thereafter, the frequency of cleaning should be established according to the work environment.
ATTENTION!
Turn off the automatic circuit breaker before carrying out any cleaning operations. Use a cloth dampened with lukewarm water (max 40°C) and mild detergent to clean the cassette. Do not use solvents or harsh detergents.
AIR FILTER MAINTENANCE
REMOVING THE FILTER
Opening the panel
- Open the panel by unscrewing the two screws.
- Pull the panel downward, without forcing the hinges that fasten it to the appliance.
- Remove the “stop-filter” seal with a screwdriver.
IMPORTANT!
Place again the “stop-filter” seal when the filter comes reinstalled on the unit. - Extract the filter pushing up the tab.
N.B.!
NEVER OPERATE THE CASSETTE WITHOUT THE AIR FILTER!
FILTER CLEANING
The filter must be clean with vacuum cleaner and wash with lukewarm water and mild detergent. Make sure the filters are dry before replacing them in the appliance.
ATTENTION!
Do not expose the filters to sunlight!




END OF SEASON MAINTENANCE
- Clean and replace the filters.
- On a sunny day leave the cassette running in fan mode for a few hours to allow the inside of the unit to dry completely.
- Remove the plug or turn off the automatic circuit-breaker.
WHAT TO DO IF…
The unit does not go on? Check that…
… that the mains supply is reaching the unit
… that the plug is properly inserted
… if the circuit breaker has tripped
… if there been a failure in the mains supply
Does it seem to heat or cool less than usual? Check that…
… that the temperature has been set correctly
… if a window or door has been opened
… the filters for clogging
… for obstacles that prevent the free circulation of air
… if the cassette is exposed to direct sunlight
The led blinks and the unit does not heat/cool…
… please refer to the led indications in normal operation and led indications in alarm conditions.
In case apply to authorized service personnel.
DISPOSAL OF THE APPLIANCE
This product falls within the scope of the Waste Electrical and Electronic Equipment Directive 2012/19/EU (WEEE Directive).
In order to dispose of the appliance, insofar as composed of several materials that can be recycled at the appropriate facilities, it must be entrusted to specialised companies or both transport and waste treatment. For this purpose, it is necessary to investigate and search or suitable companies to receive the product for disposal and its subsequent proper recycling.
Furthermore, remember that when purchasing an equivalent appliance, the producer is required to collect the product to be disposed of. The product is not potentially dangerous for human health and the environment, as it does not contain harmful substances as per the Directive 2011/65/EU (RoHS), but has a negative impact on the ecosystem if abandoned in the environment.
Read the instructions carefully before using the equipment for the first time. It is recommend not to use the product for any purpose other than that for which is was intended, as there is a risk of electric shock if used improperly.
The crossed-out wheeled bin symbol on the label of the appliance indicates that the product complies with the regulations of the WEEE Directive. Leaving the equipment in the environment and its unauthorised disposal are punishable by law.
1. METAL SHEET FRONT PANEL INSTALLATION INSTRUCTIONS
600×600
900×900

2. METAL SHEET FRONT PANEL INSTALLATION INSTRUCTIONS

RECEIVER INSTALLATION INSTRUCTIONS

1. ABS FRONT PANEL INSTALLATION INSTRUCTIONS
600×600
900×900

2. ABS FRONT PANEL INSTALLATION INSTRUCTIONS

IMPORTANT!
IMPORTANT! PLACE AGAIN THE “STOP-FILTER” SEAL WHEN THE FILTER COMES REINSTALLED ON THE UNIT.
With the aim of a continuous improvement and constant research & development, the manufacturer reserves the right to modify the technical specifications indicated at any time, and without prior warning.
MANUFACTURED BY R.E.A. TV 0202339
![]()
Toshiba Italia Multiclima div. di Beijer REF Italy s.r.l.
Viale Monza 338 – 20128 – Milano (MI)
P.IVA 00728980152 – Tel: 02.2529421 – Fax: 02.25294295
www.toshibaclima.it – email: [email protected]
MADE IN ITA LY
![]()



















