Hamilton Beach P100N30AP-S3B digital Microwave oven User Manual

Hamilton Beach is a registered trademark of Hamilton Beach Brands, Inc. used under license by Wal-Mart Stores, Inc.
Welcome
Congratulations, you have acquired a high-quality Hamilton Beach™ Microwave Oven. This unit is packed with many extra features that you will find convenient to use, including series code
and serial number. They are on the label on the back of the unit. Save your receipt by stapling it to this manual for convenient access. Follow the safety precautions and operating instructions.
IMPORTANT SAFETY INSTRUCTIONS
When using electrical appliances, basic safety precautions should be followed, including the following:
WARNING!
To reduce the risk of burns, electric shock, fire, injury to persons, or exposure to excessive microwave energy:
- Read all instructions before using the appliance.
- Read and follow the specific PRECAUTIONS TO AVOID POSSIBLE EXPOSURE TO EXCESSIVE MICROWAVE ENERGY found on page 5.
- This appliance must be grounded. Connect only to a properly grounded outlet. See IMPORTANT GROUNDING INSTRUCTIONS” found on page 4.
- Install or locate this appliance only in accordance with the provided installation instructions.
- Some products such as whole eggs and sealed containers, like closed glass jars, are able to explode and should not be heated in this oven.
- Use this appliance only for its intended use as described in the manual. Do not use corrosive chemicals or vapors in this appliance. This type of oven is specifically designed to heat, cook, or dry food. It is not designed for industrial or laboratory use.
- As with any appliance, close supervision is necessary when used by children
- Do not operate this appliance if it has a damaged cord or plug if it is not working properly, or if it has been damaged or dropped.
- This appliance should be serviced only by qualified service personnel. Contact your nearest authorized service facility for examination, repair or adjustment.
- Do not cover or block any openings on this appliance.
- Do not store this appliance outdoors. Do not use this product near water. For example, do not use it near a kitchen sink, in a wet basement, near a swimming pool, or similar locations.
- Do not immerse the cord or plug in water.
- Keep the cord away from heated surfaces.
- Do not let cord hang over edge of the table or counter.
- When cleaning the surfaces between the door and the oven that come together upon closing, use only mild, nonabrasive soaps or detergents applied with a sponge or soft cloth.
- To reduce the risk of fire in the oven cavity: Do not overcook food. Carefully attend to appliances when paper, plastic, or other combustible materials are placed inside the oven to facilitate cooking.
- Remove wire twist ties from paper or plastic bags before placing bag in the oven.
- If materials inside the oven ignite, keep oven door closed, turn the oven off and disconnect the power cord, or shut off power at the fuse or circuit breaker panel.
- Do not use the cavity for storage purposes. Do not leave paper products, cooking utensils, or food in the cavity when not in use.
- Liquids such as water, coffee, or tea are able to be overheated beyond the boiling point without appearing to be boiling. Visible bubbling or boiling when the container is removed from the microwave oven is not always present. THIS COULD
THIS RESULT IN VERY HOT LIQUIDS SUDDENLY BOILING OVER WHEN THE CONTAINER IS DISTURBED OR A UTENSIL IS INSERTED INTO THE LIQUID. - This appliance is intended for household use only
Important Grounding Instructions
This appliance must be grounded. In the event of an electrical short circuit, grounding reduces the risk of electric shock by providing an escape wire for the electric current.
WARNING
Improper use of the grounding plug can result in a risk of electric shock.
Electrical Requirements
The electrical requirements are 120 volt 60 Hz, AC only, 20 amp. It is recommended that a separate circuit serving only the oven be provided. The oven is equipped with a 3-prong grounding plug. It must be plugged into a wall receptacle that is properly installed and grounded.
Power Supply Cord
- A short power supply cord is provided to reduce the risks resulting from becoming entangled in or tripping over a longer cord.
- Longer cord sets or extension cords are available and may be used if care is exercised in their use.
- lflong cord or extension cord is used: The marked electrical rating of the cord set or extension cord should be at least as great as the electrical rating of the appliance.
- The extension cord must be a grounding-type 3-wire cord, and the longer cord should be arranged so that it will not drape over the countertop or tabletop where it can be pulled on by children or tripped over unintentionally.
Notes
If you have any questions about the grounding or electrical instructions, consult a qualified electrician or service person. Neither manufacturer nor the dealer can accept any liability for damage to the
oven or personal injury resulting from failure to observe the electrical connection procedures.
Radio or TV Interference
Should there be any interference caused by the microwave oven to your radio or TV, check that the microwave oven is on a different circuit, relocate the radio or TV as far away from the oven as feasible or check the position and signal of receiving antenna.
Precautions To Avoid Possible
Exposure To Excessive Microwave Energy
- Do not attempt to operate this oven with the door open since open-door operation can result in harmful exposure to microwave energy
- It is important not to defeat or tamper with the safety interlocks.
- Do not place any object between the oven’s front face and the door or allow soil or cleaner residue to accumulate on sealing surfaces.
- Do not operate the oven if it is damaged.It is particularly important that the oven door close properly and that there is no damage to the:
- Door (bent)
- Hinges and latches (broken or loosened)
- Door seals and sealing surfaces
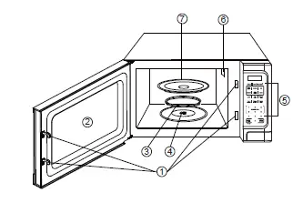
Features and Benefits
How To Test For A Microwave-safe Dish
To determine if a dish is microwave-safe, place the dish in the microwave along with a glass measuring cup filled with one cup of water. Microwave for one minute on high and then carefully feel the dish. If it is warm, it is not microwave-safe.
Arcing- The microwave term for sparks in the oven. Caused by:
- Metal or foil touching the side of the microwave
- Upturned edges of foil not wrapped around the food
- Metals in the microwave such as twist ties, meat pins or metal-rimmed dishes
- Recycled paper towels in the microwave that contain small flecks of metal
Materials For Use In Microwave
To avoid arcing and other hazards, follow these instructions for the use of safe materials in the microwave.
Materials To Avoid In Microwaves
- Metal pans and bakeware
- Recycled paper products
- Non-heat-resistant glass
- Food storage bags
- Dishes with metallic trim
- Brown paper bags
- Non-microwave-safe plastics
- Metal twist ties ( e.g. margarine tubs)
Setting Up Your Microwave
Installation
- Remove all packing materials and accessories. Examine the oven for any damage such as dents or broken doors. Do not install if the oven is damaged.
- Select a level surface that provides enough open space for ventilation. Allow for 3 inches of open space next to the sides and back of the microwave. Allow for 12 inches of open space above the microwave. Do not place any items on top of the microwave and do not remove the legs from the bottom of the microwave.
- Place the microwave as far away as possible from radios and televisions. Microwaves may cause interference to these appliances.

- Plug the microwave into a standard household outlet. Check the rating label of the microwave to ensure the voltage and frequency are compatible with the outlet.
- Do not install a microwave oven a range cooktop or other heat-producing appliance. Heat can damage the microwave and void the warranty

Control Panel Operation
- Menu Action Screen
Cooking time, power, indicators, and present time are displayed - Instant settings to cook popular foods.
- NumberPads (1-6)
- Touch to set time, weight, or amount.
- Touch to set the clock.
- Use to set microwave power levels.
- Use for multi-stage cooking.
- It enables cooking at multiple power and time settings automatically. alone, even in the process of cooking.
- Touch to set defrosting time.
- Touch to set the weight of the food to be defrosted.
- Clear all previous settings before cooking.
- Press to start a cooking program. It is also used to set a quick start function or to increase the cooking time during cooking.
Operation Instructions
This is a 24 or 12-hour clock, and you can select which by pressing the CLOCK pad. During cooking, the current time can be seen by touching the CLOCK pad FOR EXAMPLE: Suppose you want to set the oven clock time to 8:30.
- In standby mode, touch the CLOCK pad once to select the 12-hour clock, and press it again

- Use the number pads to enter the cooking time (touch number pads 8、3、0 in order to enter 8:30).
- Press START/+30SEC pad to complete the CLOCK setting.
Setting The Kitchen Timer
- In standby state or during cooking, touch the KITCHEN TIMER pad.
- Enter the amount of time you want to count down by touching the number pads. The maximum time is 99 min. 99 sec.
- Press START/+30SEC pad to start.

NOTE
The KITCHEN TIMER function can be used in any cooking process. You can check the countdown time by pressing the KITCHEN TIMER pad, but if press the STOP/CLEAR pad when the display shows the time, the function is canceled.
ADD 30 SEC
- Touch once and cooking will start immediately for 30 seconds. Touching this button repeatedly with add 30 seconds each time.
- During the time to cook and time to defrost, you can add 30 seconds for each push.
- This function will not work for one-touch cooking menus and weight defrost functions.
Time cook
- Touch TIME COOK pad.
- Touch the number pad to enter desired cooking time. The maximum number can be entered is 99 min. 99 sec.
- touch, the POWER LEVEL pad.
- Use the number of pads to enter the power level as shown in the table below.

- Touch START/+30SEC pad
Setting Time Defrost
- Touch TIME DEFROST pad.
- Enter desired to defrost time by touching the correct number of pads.
- The longest time you can set is 99 min. 99 sec.
Note
In standby mode, the LED displays ” : 0″ by pressing “TIME DEFROST” one time, touching the number pad “0~9” for setting cooking time(the longest time is 99 min. 99 sec.) and pressing “START/+30SEC” to confirm that. The system will work under the setting time and acquiescent 30% microwave power level. When the time passes by half, the system will remind to turn over the food. If press “POWER LEVEL” Touch it once and cooking will start immediately for 30 seconds. Touching this button repeatedly with add 30 seconds each time. During the time to cook and time to defrost, you can add 30 seconds for each push. This function will not work for one-touch cooking menus and weight defrost functions. when the microwave is working, LED displays the acquiescent power level time for 10 sec, and could press the number pad to reset the power level at this time.
SETTING WEIGHT DEFROST
- Touch the WEIGHT DEFROST pad.
- Use the number pad to enter food weight “OZ”. If the wrong weight is entered, touch the “WEIGHT DEFROST” pad to start over again.
- Touch START/+30SEC pad.
NOTE
The maximum weight is 96 OZ. During defrosting program, the system will pause and sound beeps to remind the user to turn food over, and then press START/+30SEC to resume the defrosting.
One Touch
For the following menus, you do not need to input cooking power and time.
Follow the steps below.
Steps:
- Place food into the oven and close it.
- Touch the correct auto menu to select the weight or the amount. The automatic menu system automatically starts the program.

Baked Potato
For potatoes (7~11 oz/each):
- Touch BAKED POTARO pad.
- Touch the pad once for one potato, touch the pad twice for two potatoes, touch the pad three times for three potatoes and touch the pad four times for four potatoes.
- The oven starts immediately
Popcorn
For a 3.5 oz. bag of microwave popcorn:
- Touch POPCORN once.
- The oven starts immediately.
- Popcorn instructions: To pop the popcorn packages evenly and avoid burning, the bag must be able to turn freely while cooking.
- Please listen to the popping sound and watch the bag until the popping is completed.
- Some brands of microwave popcorn bags may be larger. Make sure that the bag matches the correct weight.
- Caution: Use an oven mitt or pot holder when removing the bag, as the content can be very hot.

Two-stage Cooking
Some recipes require different stages of cooking at different temperatures.
- Touch TIME COOK pad.
- Use the number pads to set a cooking time.
- Touch the POWER LEVEL pad.
- Use the number of pads to enter the power level.
- Touch START/+30SEC to start.
- Touch the POWER LEVEL pad.
- Use the number of pads to enter the power level.
- Place food into the oven and close it. Touch TIME COOK pad.
Setting Child Lock
The child lock prevents unsupervised operation by children. To set, in standby mode, press and hold STOP/CLEAR for 3 seconds. LOCK is indicated on the display. To cancel, press and hold STOP/CLEAR for 3 seconds. LOCK indication disappears
Care and Cleaning
- Turn off the microwave and unplug the power cord from the wall socket when cleaning.
- Keep the inside of the microwave clean. When food splatters or spilled liquids adhere to microwave walls, wipe them with a damp cloth. Mild detergents may be used if the microwave gets very dirty.
- Avoid using spray or other harsh cleaners. They may stain, streak, or dull the door surface.
- The outside of the microwave should be cleaned with a damp cloth. To prevent damage to the operating parts inside the microwave, water should not be allowed to seep into the ventilation
openings. - Wipe the window on both sides with a damp cloth to remove any spills or splatters
- Do not allow the control panel to become wet. Clean with a soft, damp cloth. When cleaning the panel, leave the microwave door open to prevent it from accidentally turning on.
- If steam accumulates inside or around the outside of the door, wipe it with a soft cloth. This may occur when the microwave is operated under high humidity. This is normal.
- It may be necessary to remove the glass tray for cleaning. Vash the tray in warm, soapy water or in a dishwasher. The roller ring and microwave floor should be cleaned regularly to avoid excessive
noise. Wipe the bottom surface of the microwave with mild detergent. - The roller ring may be washed in mild, soapy water or in a dishwasher. When removing the roller ring, be sure to replace it in the proper position.
- Remove odors from your microwave by combining a cup of water with the juice and skin of one lemon in a microwaveable bowl. Microwave for 5 minutes. Wipe thoroughly and dry with a soft cloth.
- The microwave should be cleaned regularly and any food deposits should be removed. Failure to maintain the microwave in a clean condition could lead to the deterioration of surfaces that could
adversely affect the life of the unit and could possibly result in a hazardous situation. - Please do not dispose of this appliance in a regular garbage receptacle. Please check to see where you can dispose of such appliances.
Troubleshooting
ONE-YEAR LIMITED WARRANTY
This is the only express warranty for this product and is in lieu of any other warranty. This product carries a warranty that it will be free from defects in material and workmanship for a period of one year from the date of purchase. This warranty is valid for the original retail purchaser or gift recipient from the date of initial retail purchase and is not Keeping your original sales receipt as proof of purchase is required to make a warranty claim.
IMPORTANT
This warranty does not cover damages resulting from use not in with the printed directions, accident, misuse or abuse, alternation, the affixing of any attachments not provided with the product, loss of parts, or subjecting the appliance to any but the specified voltage. (Read directions carefully.) If service is required during the warranty period, properly pack your unit. We recommend using the original carton and packing materials. Within 90 days from point of purchase, return the product to your nearest Walmart store with the sales receipt. A replacement or refund m contact customer assistance at: 1-855-313-1612. For faster service, locate the model number and product name on your appliance. Walmart expressly disclaims all responsibility for consequential damages or incidental losses caused by the use of the appliance. Every implied warranty, including any statutory warranty of merchantability or fitness for a particular propose, is disclaimed except to the extent prohibited by law, in which case such warranty is limited to the duration of this written warranty. Some states do not allow this exclusion or limitation of incidental or consequential losses so the foregoing disclaimer may not apply to you. This warranty gives you specific legal rights, and you may also have other rights which may vary from state to state.
transferable. from the point of purchase, may be offered at the discretion of Walmart. For service after 90 days, up to 1 year
PART NO.20190101
515049001076-02
Consumer Support: 1-855-313-1612
P100N30AP-S3B / S3W
SAVE THIS FOR YOUR RECORDS
Hamilton Beach® is a registered trademark of Hamilton Beach Brands, Inc. used under license by Wal-Mart Stores, Inc. Bentonville, AR 72716. Made in China
Hamilton Beach P100N30AP-S3B digital Microwave oven User Manual



























