
Microwave Oven
P90N28AP-S3
User Manual

PLEASE READ AND SAVE THESE INSTRUCTIONS FOR FUTURE REFERENCE
PRECAUTIONS TO AVOID POSSIBLE EXPOSURE TO EXCESSIVE MICROWAVE ENERGY
- Do not attempt to operate this oven with the door open since an open-door operation can result in harmful exposure to microwave energy. It is important not to defeat or tamper with the safety interlocks.
- Do not place any object between the oven front face and the door or allow soil or cleaner residue to accumulate on sealing surfaces.
- Do not operate the oven if it is damaged. It is particularly important that the oven door close properly and that there is no damage to the a) Door (bent),
b) Hinges and latches (broken or loosened),
c) Door seals and sealing surfaces. - The oven should not be adjusted or repaired by anyone except properly qualified service personnel.
IMPORTANT SAFETY INSTRUCTIONS
When using electrical appliances basic safety precautions should be followed, including the following:
WARNING: To reduce the risk of burns, electric shock, fire, injury to persons, or exposure to excessive microwave energy:
- Read all instructions before using the appliance and keep them for future reference.
- Use this appliance only for its intended use as described in this manual.
Do not use corrosive chemicals or vapors in this appliance. This type of oven is specifically designed to heat, cook, or dry food. It is not designed for industrial or laboratory use. - Do not operate the oven when empty.
- Do not operate this appliance if it has a damaged cord or plug, if it is not working properly or if it has been damaged or dropped. If the supply cord is damaged, it must be replaced by the manufacturer or its service agent or a similarly qualified person to avoid a hazard.
WARNING: Only allow children to use the oven without supervision when adequate instructions have been given so that the child is able to use the oven in a safe way and understands the hazards of improper use. - To reduce the risk of fire in the oven cavity:
a) When heating food in a plastic or paper container, keep an eye on the oven due to the possibility of ignition.
b) Remove wire twist-ties from paper or plastic bags before placing the bag in the oven.
c) If smoke is observed, switch off or unplug the appliance and keep the door closed in order to stifle any flames.
d) Do not use the cavity for storage purposes. Do not leave paper products, cooking utensils or food in the cavity when not in use.
e) The microwave oven is intended for heating food and beverages.
Drying of clothing and heating of warming pads, slippers, sponges, damp cloth and similar may lead to risk of injury, ignition or fire.
WARNING: Liquid or other food must not be heated in sealed containers since they are liable to explode. - Microwave heating of beverage can result in delayed eruptive boiling, therefore care has to be taken when handling the container.
- Do not fry food in the oven. Hot oil can damage oven parts and utensils and even result in skin burns.
- Eggs in their shell and whole hard-boiled eggs should not be heated in microwave ovens since they may explode even after microwave heating has ended.
- Pierce foods with heavy skins such as potatoes, whole squashes, apples, and chestnuts before cooking.
- The contents of feeding bottles and baby jars should be stirred or shaken and the temperature should be checked before serving in order to avoid burns.
- Cooking utensils may become hot because of heat transferred from the heated food. Potholders may or oven mitts may be needed to handle the utensil.
- Utensils should be checked to ensure that they are suitable for use in a microwave oven.
WARNING: It is hazardous for anyone other than a trained person to carry out any service or repair operation which involves the removal of any cover which gives protection against exposure to microwave energy. - This appliance is not intended for use by persons (including children) with reduced physical, sensory or mental capabilities, or lack of experience and knowledge unless they have been given supervision or instructions concerning use of the appliance by a person responsible for their safety.
- Children should be supervised to ensure that they do not play with the appliance.
- The microwave oven is only used in freestanding.
IMPORTANT! Do not install an oven over a range cooktop or other heat-producing appliance. If installed, the microwave oven could be damaged. - The microwave oven shall not be placed in a cabinet.
- The door or the outer surface may get hot when the appliance is operating.
Warning: Accessible parts may become hot during use. Young children should be kept away from the microwave oven. - During use the appliances become hot. Care should be taken to avoid touching heating elements inside the oven, for cooking ranges and ovens.
- The temperature of accessible surfaces may be high when the appliance is operating.
- The appliance shall be placed against a wall.
- The appliance is not to be used by children or persons with reduced physical, sensory or mental capabilities, or lack of experience and knowledge,
unless they have been given supervision or instruction.
WARNING: If the door or door seals are damaged, the oven must not be operated until it has been repaired by a competent person. - The microwave oven is not intended to be operated by means of an external timer or separate remote-control system.
- The microwave oven is for household use only and not for commercial use.
- Never remove the distance holder in the back or on the sides, as it ensures a minimum distance from the wall for air circulation.
- Please secure the turntable before you move the appliance to avoid damages.
CAUTION! Any repairs to the product must be carried out by a qualified electrical person only. This includes changing the power cord or the internal light globe. - The microwave oven is intended for defrosting, cooking and steaming of food only.
- Use gloves if you remove any heated food.
SPECIFICATIONS
| Power Input Consumption | 230-240V/50Hz, 1400W(Microwave) |
| Power Output Consumption | 900W |
| Operation Frequency: | 2450MHz |
| Outside Dimensions: | 300mm(H)×539mm(W)×398mm(D) |
| Oven Cavity Dimensions: | 220mm(H)×354mm(W)×358mm(D) |
| Oven Capacity: | 28Litres |
| Net Weight: | Approx.16.0 kg |
BEFORE YOU CALL FOR SERVICE
If the oven fails to operate:
- Check to ensure that the oven is plugged in securely. If it is not, remove the plug from the outlet, wait 10 seconds, and plug it in again securely.
- Check for a blown circuit fuse or a tripped main circuit breaker. If these seem to be operating properly, test the outlet with another appliance.
- Check to ensure that the control panel is programmed correctly and the timer is set.
- Check to ensure that the door is securely closed engaging the door safety lock system. Otherwise, the microwave energy will not flow into the oven.
IF NONE OF THE ABOVE RECTIFIES THE SITUATION, THEN CONTACT A QUALIFIED TECHNICIAN. DO NOT TRY TO ADJUST OR REPAIR THE OVEN YOURSELF.
INSTALLATION
- Make sure that all the packing materials are removed from the inside of the door.
- WARNING: Check the oven for any damage, such as misaligned or bent door, damaged door seals and sealing surface, broken or loose door hinges and latches and dents inside the cavity or on the door. If there is any damage, do not operate the microwave oven. Return the product to Kmart.
- This microwave oven must be placed on a flat, stable surface to hold its weight and the heaviest food likely to be cooked in the oven.
- Do not place the oven where heat, moisture, or high humidity are generated or near combustible materials.
- For correct operation, the oven must have sufficient airflow. Allow 20cm of space above the oven, 10cm at back, and 5cm at both sides. Do not cover or block any openings on the appliance. Do not remove feet.
- Do not operate the oven without a glass tray, roller support, and shaft in their proper positions.
- Make sure that the power supply cord is undamaged and does not run under the oven or over any hot or sharp surface.
- The socket must be readily accessible so that it can be easily unplugged in an emergency.
- Do not use the oven outdoors.
RADIO INTERFERENCE
Operation of the microwave oven can cause interference to your radio, TV, or similar equipment.
When there is interference, it may be reduced or eliminated by taking the following measures:
- Clean the door and seal the surface of the oven.
- Reorient the receiving antenna of radio or television.
- Relocate the microwave oven with respect to the receiver.
- Move the microwave oven away from the receiver.
- Plug the microwave oven into a different power outlet so that the microwave oven and receiver are on different electrical circuits.
MICROWAVE COOKING PRINCIPLES
- Arrange food carefully. Place thickest areas towards outside of the dish.
- Watch cooking time. Cook for the shortest amount of time indicated and add more as needed. Food severely overcooked can smoke or ignite.
- Cover foods while cooking. Covers prevent spattering and help foods to cook evenly.
- Turn foods over once during microwaving to speed cooking of such foods as chicken and hamburgers. Large items like roasts must be turned over
at least once. - Rearrange foods such as meatballs halfway through cooking both from top to bottom and from the center of the dish to the outside.
UTENSILS GUIDE
- Microwaves cannot penetrate metal. Only use utensils that are suitable for use in microwave ovens. Metallic containers for food and beverages are
not allowed during microwave cooking. This requirement is not applicable if the manufacturer specifies the size and shape of metallic containers suitable for microwave cooking. - Microwaves cannot penetrate metal, so metal utensils or dishes with metallic trim should not be used.
- Do not use recycled paper products when microwave cooking, as they may contain small metal fragments which may cause sparks and/or fires.
- Round /oval dishes rather than square/oblong ones are recommended, as food in corners tends to overcook.
- Narrow strips of aluminum foil may be used to prevent overcooking of exposed areas. But be careful don’t use too much and keep a distance of 1 inch (2.54cm) between foil and cavity.
The list below is a general guide to help select the correct utensils that can be safely used in the microwave oven.
| COOKWARE | MICROWAVE |
| Heat–Resistant Glass | Yes |
| Non-Heat–Resistant Glass | No |
| Heat–Resistant Ceramics | Yes |
| Microwave–Safe Plastic Dish | Yes |
| Kitchen Paper | Yes |
| Metal Tray | No |
| Metal Rack | No |
| Aluminum Foil & Foil Containers | No |
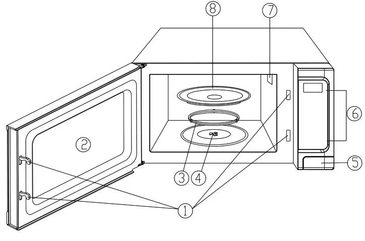
PART NAMES

| 1. Door Safety Lock System 2. Oven Window 3. Roller Ring 4. Shaft | 6. Control Panel 7. Wave Guide (Please do not remove the mica plate covering the waveguide) 8. Glass Tray |
CONTROL PANEL

- DISPLAY
Cooking time, power, indicators, and clock time are displayed. - AUTO COOK MENUS
There are 6 kinds of auto cook menus. Use to set auto cook program. - NUMBER PADS (0-9)
Use to adjust power level, set time or food weight. - TIMER/CLOCK
Use to set timer program.
Use to set the current time. - POWER LEVEL
Use to select microwave cooking power level. - TIME COOK
Use to set microwave cooking. - SPEED DEFROST
Use to set defrost program based on time enter. - DEFROST BY WEIGHT
Use to set weight to defrost program. - COOK BY WEIGHT
Use to cook food based on weight enter. - STOP/CANCEL
Use to cancel all settings or set child lock. - START/+30SEC
Press to start a cooking program. It is also used to set a quick start function or to increase the cooking time during cooking.
HOW TO SET THE OVEN CONTROLS
- During cooking, if STOP/CANCEL pad is pressed once, the program will be paused and press START/+30 SEC pad to resume. But if STOP/CANCEL pad is pressed twice, the program will be canceled.
- After cooking has ended, the system will sound every two minutes to remind the user until the STOP/CANCEL pad is pressed or the oven door has been opened.
- When the oven door is opened, if you press the START/+30SEC pad to start cooking, the display will show “door” for 3 seconds to remind the user to close the oven door.
- In standby mode, press the number pads “7”, “8”, and “START/+30SEC” pad at the same time to check the version date and the model of the PCB.
SETTING DIGITAL CLOCK
This is a 12-hour clock.
FOR EXAMPLE: Suppose you want to set the oven clock time to 8:30.
- In standby mode, press the TIMER/CLOCK pad for 3 seconds.
- Use the number pads to enter the correct time (press number pads 8, 3, 0 in order to enter 8:30).
- Press START/+30SEC pad again to confirm.
SETTING THE TIMER
- In standby state or during cooking, press TIMER/CLOCK pad.
- Use the number pads to enter the desired time. The longest time is 99 minutes 99 seconds.
- Press START/+30SEC pad to start.
NOTE: You can check the countdown time by pressing the TIMER/CLOCK pad, but if STOP/CANCEL pad is pressed when the display shows the timer, the function is canceled.
SETTING MICROWAVE COOKING
- Press TIME COOK pad.
- Use the number pads to enter cooking time. The longest time is 99 minutes 99 seconds.
- Press POWER LEVEL pad once and then press number pad to enter cooking power level.
- Press START/+30 SEC pad to start.
Use single-digit to set a cooking power level:
NOTE: During cooking, the current power level can be seen by pressing the POWER LEVEL pad. You can adjust the power level by pressing the number pads when the display shows it.
QUICK START/+30SEC
In standby mode, press START/+30 SEC pad repeatedly to enter a cooking time (each press will add 30 seconds, up to 99 minutes and 59 seconds). The oven will start automatically at a 100% high power level. During cooking (except auto cook menu and defrost by weight program), you can add cooking time by pressing START/+30 SEC pad.
SETTING SPEED DEFROST
- Press SPEED DEFROST pad.
- Use the number pads to enter defrosting time. The longest time is 99 minutes 99 seconds.
- Press START/+30 SEC pad to start.
DEFROST BY WEIGHT
The oven allows the defrosting of meat, poultry, and seafood. The time and the defrosting power are adjusted automatically once the weight is
programmed. The maximum weight you can set is 2300g. FOR EXAMPLE: Suppose you want to defrost 60g of shrimp.
- Place the shrimp to be defrosted into the oven.
- Press DEFROST BY WEIGHT button once.
- Press the number pad to enter the food weight.
- Press the START/+30 SEC button to start.
COOK BY WEIGHT
- Press COOK BY WEIGHT pad once.
- Enter the one-digit code by touching the correct number pad (1~3).
- Use the number pads to enter weight.
- Press START/+30SEC pad to start.
Cook by weight code description
| CODE | TYPE | MAX WEIGHT |
| 1 | Beef | 2500g |
| 2 | Mutton | 2500g |
| 3 | Pork | 2000g |
NOTE: During cooking, the system will pause automatically and sound to remind users to turn food over. After that, press START/+30SEC to resume cooking.
MULTI-STAGE STAGE COOKING
Some recipes require different stages of cooking at different temperatures. Your oven can be programmed up to 2 stage microwave cooking program.
Example: If you want to cook the food with 100% power level for 10 minutes plus 80% microwave power for 15 minutes. Do as follows:
- Press the TIME COOK pad once and begin to input the first cooking stage.
- Press the number pad 1,0,0,0 to input cooking time, the LED display shows 10:00.
- Press the POWER LEVEL once shown P100.
- Press the TIME COOK once. LED display tc-2 for a second and then change to display “ :0 “
- Press 1, 5, 0, 0, to set the cooking time.
- Press the POWER LEVEL button once, then press number pad 8 to show “P-80”.
- Press START/+30SEC pad once to start.
NOTE: Only microwave cooking can be set in a multi-stage cooking program.
SETTING CHILD LOCK
The lock prevents unsupervised operation by children.
- To set the child lock: In standby mode, press and hold the STOP/CANCEL pad for 3 seconds, then a beep will sound. In the lock state, the oven can’t be operated.
- To cancel the child lock: Press and hold the STOP/CANCEL pad for 3 seconds, then a beep will sound, and the oven can be operated.
AUTO COOK MENU
For food or the following cooking mode, it is not necessary to program the duration and the cooking power. It is sufficient to indicate the type of food that you wish to cook as well as the weight of this food. In order to do that, press the corresponding menu pad to choose food weight or a number of servings, the oven will start cooking.
For example: to cook 300g of pizza.
- Place Pizza into the oven and close the door.
- Press PIZZA pad twice.
- Press START/+30 SEC pad once to start.
Auto Cook Menu:
| Food/cooking mode | The result of auto cooking depends on factors such as voltage fluctuation, the shape and size of food, your personal preference as to the doneness- ss of certain foods and even how well you happen to place food in the oven. If you find the result at any rate not quite satisfactory, please adjust the cooking time a little bit accordingly. |
| Potato (1-3 unit, 230±10g/unit) | |
| Popcorn (99g) | |
| Pizza (150,300,450g) | |
| Beverage (1-3 cups, 200ml/cup) | |
| Frozen Vegetables (200-600g) | |
| Reheat (200-800g) |
1). Potato
| Pressing times | 230g+ 10g/unit | Cooking time | Power level |
| 1 | 1 | 5: 00 | PL10 |
| 2 | 2 | 8: 00 | |
| 3 | 3 | 12: 00 |
2). Popcorn
| Pressing times | Weight(g) | Cooking time | Power level |
| 1 | 99 | 2: 20 | PL10 |
3). Pizza
| Pressing times | Weight(g) | Cooking time | Power level |
| 1 | 150 | : 50 | PL10 |
| 2 | 300 | 1:20 | |
| 3 | 450 | 1:50 |
4). Beverage
| Pressing times | 200m1/cup | Cooking time | Power level |
| 1 | 1 | 1:30 | PL10 |
| 2 | 2 | 2: 40 | |
| 3 | 3 | 3: 50 |
5). Frozen Vegetables
| Pressing times | Weight(g) | Cooking time | Power level |
| 1 | 200 | 4: 00 | PL10 |
| 2 | 300 | 5: 00 | |
| 3 | 400 | 6: 00 | |
| 4 | 500 | 7: 00 | |
| 5 | 600 | 8: 00 |
6). Reheat
| Pressing times | Weight(g) | Cooking time | Power level |
| 1 | 200 | 1:30 | PL10 |
| 2 | 300 | 2:00 | |
| 3 | 400 | 2:30 | |
| 4 | 500 | 3:00 | |
| 5 | 600 | 3:30 | |
| 6 | 700 | 4:00 | |
| 7 | 800 | 4:30 |
CLEANING AND CARE
- Turn off the oven and remove the power plug from the wall socket before cleaning.
- Keep the inside of the oven clean. When food splatters or spilled liquids adhere to oven walls, wipe with a damp cloth. Mild detergent may be used if the oven gets very dirty. Avoid the use of spray and other harsh cleaners as they may stain, streak or dull the door surface.
- The outside surfaces should be cleaned with a damp cloth. To prevent damage to the operating parts inside the oven, water should not be allowed to seep into the ventilation openings.
- Wipe the door and window on both sides, the door seals and adjacent parts frequently with a damp cloth to remove any spills or spatters. Do not use abrasive cleaner.
- A steam cleaner should not be used.
- Do not allow the control panel to become wet. Clean with a soft, damp cloth. When cleaning the control panel, leave the oven door open to prevent the oven from accidentally turning on.
- If steam accumulates inside or around the outside of the oven door, wipe with a soft cloth. This may occur when the microwave oven is operated under high humidity conditions. And it is normal.
- It is occasionally necessary to remove the glass tray for cleaning. Wash the tray in warm sudsy water or in a dishwasher.
- The roller ring and oven floor should be cleaned regularly to avoid excessive noise. Simply wipe the bottom surface of the oven with mild detergent. The roller ring may be washed in mild sudsy water or dishwasher. When removing the roller ring from the cavity floor for cleaning, be sure to replace in the proper position.
- Remove odors from your oven by combining a cup of water with the juice and skin of one lemon in a deep microwaveable bowl, microwave for 5 minutes. Wipe thoroughly and dry with a soft cloth.
- When it becomes necessary to replace the oven light, please consult a dealer to have it replaced.
- The oven should be cleaned regularly and any food deposits removed. Failure to maintain the oven in a clean condition could lead to deterioration of the surface that could adversely affect the life of the appliance and possibly result in a hazardous situation.
- Please do not dispose of this appliance in the domestic rubbish bin; it should be disposed of/recycled responsibly. If unsure, contact the local council waste management service for recycling facilities available for your area.
12 Month Warranty
Thank you for your purchase from Kmart.
Kmart Australia Ltd warrants your new product to be free from defects in materials and workmanship for the period stated above, from the date of purchase, provided that the product is used in accordance with accompanying recommendations or instructions where provided. This warranty is in addition to your rights under the Australian Consumer Law.
Kmart will provide you with your choice of a refund, repair, or exchange (where possible) for this product if it becomes defective within the warranty period. Kmart will bear the reasonable expense of claiming the warranty. This warranty will no longer apply where the defect is a result of alteration, accident, misuse, abuse or neglect.
Please retain your receipt as proof of purchase and contact our Customer Service Centre on 1800 124 125 (Australia) or 0800 945 995 (New Zealand) or alternatively, via Customer Help at Kmart.com.au for any difficulties with your product. Warranty claims and claims for expenses incurred in returning this product can be addressed to our Customer Service Centre at 690 Springvale Rd, Mulgrave Vic 3170.
Our goods come with guarantees that cannot be excluded under the Australian Consumer Law. You are entitled to a replacement or refund for a major failure and compensation for any other reasonably foreseeable loss or damage. You are also entitled to have the goods repaired or replaced if the goods fail to be of acceptable quality and the failure does not amount to a major failure.
For New Zealand customers, this warranty is in addition to statutory rights observed under New Zealand legislation.
















