
Model: CL-MIN90- -SS
Microwave Oven User’s manual

Please read these instructions carefully before installing and operating the oven. Record in the space below the SERIAL NO. found on the nameplate on your oven and retain this information for future reference.
PRECAUTIONS TO AVOID POSSIBLE EXPOSURE TO EXCESSIVE MICROWAVE ENERGY
- Do not attempt to operate this oven with the door open since an open-door operation can result in harmful exposure to microwave energy. It is important not to defeat or tamper with the safety interlocks.
- Do not place any object between the oven front face and the door or allow soil or cleaner residue to accumulate on sealing surfaces.
- Do not operate the oven if it is damaged. It is particularly important that the oven door close properly and that there is no damage to the:
1) Door (bent),
2) Hinges and latches (broken or loosened),
3) Door seals and sealing surfaces. - The oven should not be adjusted or repaired by anyone except properly qualified service personnel.
IMPORTANT SAFETY INSTRUCTIONS
When using electrical appliances, basic safety precautions should be followed, including the following:
WARNING – To reduce the risk of burns, electric shock, fire, injury to persons, or exposure to excessive microwave energy:
- Read all instructions before using the appliance.
- Read and follow the specific “PRECAUTIONS TO AVOID POSSIBLE EXPOSURE TO EXCESSIVE MICROWAVE ENERGY” on page 1.
- This appliance must be grounded. Connect only to properly grounded outlet. See “GROUNDING INSTRUCTIONS ” on page
- Install or locate this appliance only in accordance with the provided installation instructions.
- Some products such as whole eggs and sealed containers -for example, closed glass jars- are able to explode and should not be heated in this oven.
- Use this appliance only for its intended use as described in this manual. Do not use corrosive chemicals or vapors in this appliance. This type of oven is specifically designed to heat, cook, or dry food. It is not designed for industrial or laboratory use.
- As with any appliance, close supervision is necessary when used by children.
- To reduce the risk of fire in the oven cavity:
a)Do not overcook food. Carefully attend appliance when paper, plastic, or other combustible materials are placed inside the oven to facilitate cooking.
b)Remove wire twist-ties from paper or plastic bags before placing the bag in the oven.
c) If materials inside the oven should ignite, keep the oven door closed, turn the oven off, and disconnect the power cord or shut off the power at the fuse or circuit breaker panel.
d) Do not use the cavity for storage purposes. Do not leave paper products, cooking utensils or food in the cavity when not in use. - Liquids, such as water, coffee, or ea are able to be overheated beyond the boiling point without appearing to be boiling due to the surface tension of the liquid. Visible bubbling or boiling when the container is removed from the microwave oven is not always present. THIS COULD RESULT IN VERY HOT LIQUIDS SUDDENLY BOILING OVER WHEN A SPOON OR OTHER UTENSIL IS INSERTED INTO THE LIQUID. To reduce the risk of injury to a person:
a) Do not overheat the liquid.
b) Stir the liquid both before and halfway through heating it.
c) Do not use straight-sided containers with narrow necks.
d) After heating, allow the container to stand in the microwave oven for a short time before removing the container.
e) Use extreme care when inserting a spoon or other utensil into the container. - Do not heat oil or fat for deep-frying. It is difficult to control the temperature of oil in a microwave oven.
- Pierce foods with heavy skins such as. potatoes, whole squash, apples, and chestnuts before cooking.
- The contents of feeding bottles and baby jars should be stirred or shaken and the temperature should be checked before serving in order to avoid burns.
- Cooking utensils may become hot because of heat transferred from the heated food. Potholders may be needed to handle the utensil.
- Do not cover or block any openings on the appliance.
- Do not store or use this appliance outdoors. Do not use this product near water, for example, near a kitchen sink, in a wet basement, near a swimming pool, or similar locations.
- Do not operate this appliance if it has a damaged cord or a plug, if it is not working properly or if it has been damaged or dropped.
- Do not immerse the cord or plug in water. Keep the cord away from the heated surface. Do not let the cord hang over the edge of the table or counter.
- Use only thermometers, which are specifically designed for use in microwave
- Do not operate any heating or cooking appliance beneath this appliance.
- Be certain the glass tray and roller rings are in place when you operate the oven.
- This appliance should be serviced only by qualified service personnel, contact the nearest authorized service facility for examination, repair, or adjustment.
- When cleaning surfaces of door and oven that comes together on closing the door, use only mild, nonabrasive soaps, or detergents applied with a sponge or soft cloth.
- This equipment generates, uses, and can radiate radio frequency energy and, if not installed and used in accordance with the instructions, may cause harmful interference to radio communications. However, there is no guarantee that interference will not occur in a particular installation. If this equipment does cause harmful interference to radio or television reception, which can be determined by turning the equipment off and on, the user is encouraged to try to correct the interference by one or more of the following measures:
- Reorient or relocate the receiving antenna.
- Increase the separation between the equipment and receiver.
- Connect the equipment into an outlet on a circuit different from that to which the receiver is
- Consult the dealer or an experienced radio/TV technician for help.
SAVE THESE INSTRUCTIONS
INSTALLATION GUIDE
- Make sure that all the packing materials are removed from the inside of the door.
- Check the oven for any damage, such as misaligned or bent door, damaged door seals and sealing surface, broken or lose door hinges and latches, and dents inside the cavity or on the door. If there is any damage, do not operate the oven but contact qualified service personnel.
- This microwave oven must be placed on a flat, stable surface to hold its weight and the heaviest food likely to be cooked in the oven.
- Do not place the oven where heat, moisture, or high humidity are generated or near combustible materials.
- Do not operate the oven without a glass tray, roller support, and shaft in their proper positions.
- Make sure that the power supply cord is undamaged and does not run under the oven or over any hot or sharp surface.
- The socket must be readily accessible so that it can be easily unplugged in an emergency.
- Do not use the oven outdoors.
GROUNDING INSTRUCTIONS
This appliance must be grounded. In the event of an electrical short circuit, grounding reduces risk of electric shock by providing an escape wire for the electric current.
WARNING Improper use of the grounding plug can result in a risk of electric shock.
This appliance must be connected to a grounded, metallic, permanent wiring system, or an equipment grounding conductor should be run with the circuit conductors and connected to the equipment-grounding terminal or lead on the appliance.
Consult a qualified electrician or serviceman if the grounding instructions are not completely understood, or if doubt exists as to whether the appliance is properly grounded, and either: 1) If it is necessary to use an extension cord, use only a 3-wire extension cord that has a 3-blade grounding plug and a 3-slot receptacle that will accept the plug on the appliance. The marked rating of the extension cord shall be equal to or greater than the electrical rating of the appliance, or 2) Do not use an extension cord. If the power supply cord is too short, have a qualified electrician or serviceman install an outlet near the appliance.
ELECTRICAL REQUIREMENTS
The electrical requirements are 120 volt 60 Hz, AC only, 20 amp. It is recommended that a separate circuit serving only the oven be provided. The oven is equipped with a 3-prong grounding plug. It must be plugged into a wall receptacle that is properly installed and grounded.
Power Supply Cord
- A short power-supply cord is provided to reduce the risks resulting from becoming entangled in or tripping over a longer cord.
- Longer cord sets or extension cords are available and may be used if care is exercised in their use.
- If a long cord or extension cord is used:
- The marked electrical rating of the cord set or extension cord should be at least as great as the electrical rating of the appliance.
- The extension cord must be a grounding-type 3-wire cord, and The longer cord should be arranged so that it will not drape over the countertop or tabletop where it can be pulled on by children or tripped over
Notes:
If you have any questions about the grounding or electrical instructions, consult a qualified electrician or service person.
Neither Manufacturer nor the dealer can accept any liability for damage to the oven or personal injury resulting from failure to observe the electrical connection procedures.
Radio or TV Interference
Should there be any interference caused by the microwave oven to your radio or TV, check that the microwave oven is on a different circuit, relocate the radio or TV as far away from the oven as feasible or check the position and signal of receiving antenna.
UTENSILS GUIDE
This section lists which utensils can be used in the microwave, which ones have limited use for short periods, and which ones should not be used in the microwave.
√ RECOMMENDED
Microwave browning dish — Use to brown the exterior of small items such as steaks, chops, or pancakes. Follow the directions provided with your browning dish.
Microwaveable plastic wrap — Use to retain steam. Leave a small opening for some steam to escape and avoid placing it directly on the food.
Paper towels and napkins — Use for short-term heating and covering; these absorb excess moisture and prevent spattering. Do not use recycled paper towels, which may contain metal and could ignite.
Glass and glass–ceramic bowls and dishes — Use for heating or cooking.
Paper plates and cups — Use for short-term heating at low temperatures. Do not use recycled paper, which may contain metal and could ignite.
Wax paper — Use as a cover to prevent spattering.
Thermometers — Use only those labeled “Microwave Safe” and follow all directions. Check the food in several places. Conventional thermometers may be used on microwave food once the food has been removed from the oven.
LIMITED USE
Aluminum foil — Use narrow strips of foil to prevent overcooking of exposed areas. Using too much foil can damage your oven, so be careful. You should keep a distance of 1 inch (2.54cm) between aluminum foil and cavity.
Ceramic, porcelain, and stoneware— Use these if they are labeled “Microwave Safe”. If they are not labeled, test them to make sure they can be used safely.
Plastic — Use only if labeled “Microwave Safe”. Other plastics can melt.
Not Recommended
Glass jars and bottles — Regular glass is too thin to be used in a microwave. It can shatter and cause damage and injury.
Paper bags — These are a fire hazard, except for popcorn bags that are designed for microwave use.
Styrofoam plates and cups — These can melt and leave an unhealthy residue on food.
Plastic storage and food containers —Containers such as margarine tubs can melt in the microwave.
Metal utensils — These can damage your oven. Remove all metal before cooking.
Note:
Should you wish to check if a dish is safe for microwaving, place the empty dish in the oven and microwave on HIGH for 30 seconds. A dish which becomes very hot should not be used.
COOKING TECHNIQUES
STIRRINGYour microwave makes cooking easier than conventional cooking, provided you keep these considerations in mind:
Stir foods such as casseroles and vegetables while cooking to distribute heat evenly. Food at the outside of the dish absorbs more energy and heats more quickly, so stir from the outside to the center. The oven will turn off when you open the door to stir your food.
ARRANGEMENT
Arrange unevenly shaped foods, such as chicken pieces or chops, with the thicker, meatier parts toward the outside of the turntable where they receive more microwave energy. To prevent overcooking, place delicate areas, such as asparagus tips, toward the center of the turntable.
SHIELDING
Shield food with narrow strips of aluminum foil to prevent overcooking. Areas that need shielding include poultry wing-tips, the ends of poultry legs, and corners of square baking dishes. Use only small amounts of aluminum foil. Larger amounts can damage your oven.
TURNING
Turn foods over midway through cooking to expose all parts to microwave energy. This is especially important with large foods such as roasts.
STANDING
Foods cooked in the microwave build up internal heat and continue to cook for a few minutes after heating stops. Let foods stand to complete cooking, especially foods such as cakes and whole vegetables. Roasts need this time to complete cooking in the center without overcooking the outer areas. All liquids, such as soup or hot chocolate, should be shaken or stirred when cooking is complete. Let liquids stand a moment before serving. When heating baby food, stir well at removal and test the temperature before serving.
ADDING MOISTURE
Microwave energy is attracted to water molecules. Food that is uneven in moisture content should be covered or allowed to stand so that the heat disperses evenly. Add a small amount of water to dry food to help it cook.
SPECIFICATIONS
| Power Consumption: | 120V-60Hz, 1350W (MICROWAVE) |
| Output: | 900W |
| Operation Frequency: | 2450MHz |
| Outside Dimensions(H xWxD): | 14.9×23.4%14.1 inches. |
| Oven Cavity Dimensions(HxWxD): | 8.7×13.4x 12.6 inches. |
| Oven Capacity: | 0.9 cu. ft |
| Cooking Uniformity: | Turntable System |
| Net Weight: | Approx. 30 lbs |
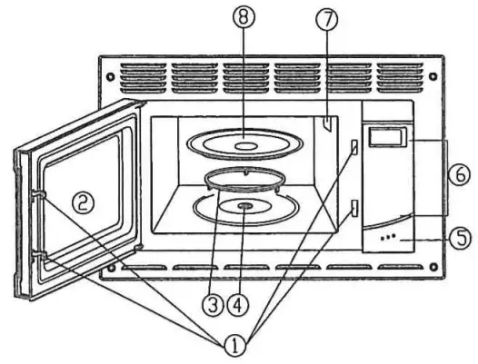
PART NAMES

- Door Safety Lock System
- Oven Window
- Roller Ring
- Shaft
- Door Release Button
- Control Panel
- WaveGuide(Please do not remove the mica plate covering the waveguide)
- Glass Tray
CONTROL PANAL

- MENU ACTION SCREEN Cooking time, power, indicators, and present time are displayed.
- QUICK COOK BUTTONS Instant settings to cook popular foods
- POWER LEVEL Use to set power levels other than high.
- COOK Use for multi-stage cooking. It enables cooking at multiple power and time settings automatically.
- TIMER Timer functions independently, even while a cooking program is in process.
- COOK BY WEIGHT Programmed cooking based on the weight of foods cooked.
- DEFROST BY WEIGHT Programmed defrosting based on the weight of the foods to be defrosted.
- SPEED DEFROST Quick defrost function that alternates defrost and stand times to quickly and effectively defrost foods.
- NUMBER PADS(0-9) Touch to set time or amount.
- CLOCK Use to set current time.
- RESET Use to clear all previous settings. Hold down to set child lock.
- PAUSE/CANCEL Press to cancel setting or reset the oven before setting a cooking program. Press once to temporarily stop cooking, or twice to cancel cooking altogether.
- START/+30SEC. Touch to start or add to cooking time. During cooking, press once increases the 30S, the most time can be set is 99min.59sec.
OPERATION INSTRUCTIONS
SIGNALS DURING OVEN SETTINGS ONE SIGNAL: Oven accepts the entry.
TWO SIGNALS: Oven does not accept the entry, check and try again.
SETTING THE CLOCK
- Touch CLOCK pad.
- Use the number pads to enter the correct You must touch at least three numbers to set the clock (one for an hour and two for minutes).
- Touch CLOCK pad again.
NOTE:
When the oven is first plugged in or when power resumes after a power interruption, the display will show ENTER CLOCK TIME. If you prefer to not have the clock displayed, touch RESET.
- You can check the clock time while cooking is in progress by touching the CLOCK pad.
SETTING THE OVER TIMER
- Touch TIMER.
- Enter the amount of time by touching the number pads. Digit time is in minutes and seconds and set left to right. Set one digit (a 5 for 5 seconds) or up to four digits (2405 for 24 minutes, 5 seconds).
- Touch START/+30SEC.
NOTE:
Time countdown can be seen in display for 5 seconds before clock or cooking time is returned to display.
- Touch TIMER and then touch RESET to cancel TIMER during the timing process.
SETTING A COOKING PROGRAM
A. One-stage Cooking
- Use the number pads to set a cooking time. You can set a cooking time from one second to 99 minutes and 99 seconds.
- If you want to set a power level other than 100% power, touch POWER LEVEL, then use the number pads to enter the power
- Touch START/+30SEC. to start cooking. Use single digits to set a cooking power level:
| Number pad | Cooking power |
| 1, | 100% |
| 9 | 90% |
| 8 | 80% |
| 7 | 70% |
| 6 | 60% |
| 5 | 50% |
| 4 | 40% |
| 3 | 30% |
| 2 | 20% |
| 1 | 10% |
| 0 | 0% |
B. Two-stage Cooking
Some recipes require different stages of cooking at different temperatures.
- SET STAGE 1:Follow steps 1 and 2 in “One-stage Cooking”. DO NOT TOUCH START/+30SEC.
- SET STAGE 2: Touch COOK then enter proper cooking time and (lower) power level. (Most 2-stage recipes use lower power for the second stage.)
- Touch START/+30SEC.
NOTE:
- After total time elapsed, the system will sound beeps with END in And the beeps will continue to sound every two minutes automatically until the door is opened or any pad is touched.
SPEED DEFROST
- Touch SPEED DEFROST.
- Enter desired to defrost time by touching correct number pads.
Digital timer sets minutes and seconds from left to right so a single digit can be set (5 for 5 seconds ) or up to 4 digits (2405 for 24 minutes 5 seconds). - Touch START/+30SEC.
NOTE:
- After setting SPEED DEFROST, the oven can be programmed to automatically switch to one or two-stage cooking.
- For speed defrost and one-stage cooking, follow the steps above. Before touching START/+30SEC., touch COOK, enter time and power level. Then touch START/+30SEC.
- For speed defrost and two-stage cooking, follow the steps above. Before touching START/+30SEC., enter two-stage cooking programs. Then touch START/+3OSEC.
COOK BY WEIGHT
- Touch COOK BY WEIGHT.
- Enter the one-digit code by touching the correct number pad.
- Enter weight.
- Touch START/+30SEC.
Cook By Weight Code Description
| CODE | TYPE | MAX WEIGHT |
| 1 | Beef | 5 lb. 16 oz. |
| 2 | Mutton | 5 lb. 16 oz. |
| 3 | Pork | 5 lb. 4 oz. |
Note:
- Meat must be defrosted and at refrigerated temperature.
- Weight must be in pounds and ounces.
- Ounce weights less than 10 must be preceded by a 0. If the label gives weight in pounds only, change the fraction of a pound to ounces using the following chart.
Converting Fractions of a Pound to Ounces
| Fractions of a pound | Ounces |
| Less than .03 | 0 |
| .03 to .09 | 1 |
| .10 to .15 | 2 |
| .16 to .21 | 3 |
| .22 to .27 | 4 |
| .28 to .34 | 5 |
| .35 to .40 | 6 |
| .41 to .46 | 7 |
| .47 to .53 | 8 |
| .54 to 59 | 9 |
| .60 to .65 | 10 |
| .66 to .71 | 11 |
| .72 to .78 | 12 |
| .79 to .84 | 13 |
| .85 to .90 | 14 |
| .91 to .97 | 15 |
- During the cooking program, the system will pause and sound beeps to remind the user to turn food over, and then press START/+30SEC. to resume the defrosting.
- Let meat stand a few minutes before carving.
DEFROST BY WEIGHT
- Touch DEFROST BY WEIGHT pad.
- Enter weight.
- Touch START/+30SEC. pad.
NOTE:
- Weight must be in pounds and ounces. Ounce weights less than 10 must be preceded by a 0. If the label gives weight in pounds only, change the fraction of a pound to ounces using the chart given above.
- You may need to turn food over at the middle of cooking time to obtain uniform cooking.
SETTING CHILD LOCK
The safety lock prevents unsupervised operation by children.
To set, press, and hold RESET for 3 seconds. LOCK is indicated on the display.
To cancel, press and hold RESET for 3 seconds. LOCK indication disappears.
QUICK COOK SETTINGS
The QUICK COOK settings allow you to cook or reheat food automatically without entering power level or time.
For smaller portions, simply touch the applicable pad and start. For larger portions, push the pad twice.
FROZEN DINNER, BAKED POTATO, and BEVERAGE allow you to cook multiple amounts of the same food. Simply touchpad once, and ENTER AMT appears on the display. Enter the number of servings and start.
POPCORN
- Touch POPCORN.
- CODE and cooking time appears in the POPCORN automatically sets the cooking time for a 3.5 oz. bag of microwave popcorn.
- Touch START/+30SEC. NOTE:
- To change the preset POPCORN time: Touch POPCORN twice. ENTER TIME appears in Touch number pads to enter minutes and seconds. Touch START/+30SEC. This new cooking time will remain whenever you use the POPCORN setting.
BAKED POTATO
For 4 – 6 oz. /each share of potatoes:
- Touch BAKED POTATO once.
- Enter a number of potatoes by touching number pads from 1 to 4.
- Touch START/+30SEC.
For the large 8-10 oz. / each share of potatoes:
- Touch BAKED POTATO twice.
- Enter a number of potatoes by touching number pads from 1 to 4.
- Touch START/+30SEC.
PIZZA
Reheating a slice of pizza:
- Touch PIZZA once. CODE and cooking time
- Touch START/+30SEC. Heating a whole frozen pizza:
- Touch PIZZA twice. CODE and cooking time
- Touch START/+30SEC.
BEVERAGE
For 5-7 oz. leach cup:
- Touch BEVERAGE once.
- Enter a number of cups by touching number pads from 1 to 4.
- Touch START/+30SEC.
For 9-11 oz. /each cup:
- Touch BEVERAGE twice.
- Enter a number of mugs by touching number pads from 1 to 4.
- Touch START/+30SEC.
FROZEN DINNER
For one or two small (7-9 oz.) frozen dinners:
- Touch FROZEN DINNER once.
- For 1 entree, touch the number pad “1”. For 2 entrees, touch the number pad “2”.
- Touch START/+30SEC. pad.
Microwaving one large (10-12 oz.) frozen dinner:
- Touch FROZEN DINNER twice.
- For 1 entree, touch the number pad “1”. For 2 entrees, touch the number pad “2”.
- Touch START/+30SEC.
REHEAT
To reheat a plate of leftovers:
- Touch REHEAT pad. CODE and cooking time
- Touch START/+30SEC.
CLEANING AND CARE
- Turn off the oven and remove the power plug from the wall socket before cleaning.
- Keep the inside of the oven clean. When food splatters or spilled liquids adhere to oven walls, wipe with a damp cloth. Mild detergent may be used if the oven gets very dirty. Avoid the use of spray and other harsh cleaners as they may stain, streak or dull the door surface.
- The outside surfaces should be cleaned with a damp cloth. To prevent damage to the operating parts inside the oven, water should not be allowed to seep into the ventilation openings.
- Wipe the window on both sides with a damp cloth to remove any spills or
- Do not allow the control panel to become Clean with a soft, damp cloth. When cleaning the control panel, leave the oven door open to prevent the oven from accidentally turning on.
- If steam accumulates inside or around the outside of the oven door, wipe with a soft This may occur when the microwave oven is operated under high humidity conditions. In such case, it is normal.
- It is occasionally necessary to remove the glass tray for cleaning. Wash the tray in warm sudsy water or in a dishwasher.
- The roller ring and oven floor should be cleaned regularly to avoid excessive Simply wipe the bottom surface of the oven with mild detergent. The roller ring may be washed in mild sudsy water or dishwasher. When removing the roller ring from the cavity floor for cleaning, be sure to replace in the proper position.
- Remove odors from your oven by combining a cup of water with the juice and skin of one lemon in a deep microwaveable bowl, microwave for 5 Wipe thoroughly, and dry with a soft cloth.
- When it becomes necessary to replace the oven light, please consult a dealer to have it replaced.
- The oven should be cleaned regularly and any food deposits removed. Failure to maintain the oven in a clean condition could lead to deterioration of the surface that could adversely affect the life of the appliance and possibly result in a hazardous situation.
- Please do not dispose of this appliance in the domestic rubbish bin, it should be disposed to the particular disposal center provided by the municipalities.



















