
Home Appliance

User Manual
Thank you for choosing this product.
This User Manual contains important safety information and instructions on the operation and maintenance of your appliance.
Please take the time to read this User Manual before using your appliance and keep this book for future reference
| Icon | Type | Meaning |
| WARNING | Serious injury or death risk | |
| RISK OF ELECTRIC SHOCK | Dangerous voltage risk | |
![]() | FIRE | Warning; Risk of fire / flammable materials |
| CAUTION | Injury or property damage risk | |
![]() | IMPORTANT / NOTE | Operating the system correctly |
SAFETY INSTRUCTIONS
- Carefully read all instructions before using your appliance and keep them in a convenient place for reference when necessary.
- This manual has been prepared for more than one model therefore your appliance may not have some of the features described within. For this reason, it is important o pay particular attention to any figures whilst reading the operating manual.
1.1 General Safety WarninGS
- This appliance can be used by children aged 8 years and above and by persons with reduced physical, sensory or mental capabilities or lack of experience and knowledge if they have been given supervision or instruction concerning the use of the appliance in a safe way and understand the hazards involved. Children should not play with the appliance. Cleaning and user maintenance should not be made by children without supervision.

WARNING: The appliance and its accessible parts become hot during use. Care should be taken to avoid touching heating elements. Keep children less than 8 years of age away unless they are continually supervised.
WARNING: Danger of fire: Do not store items on the cooking surfaces.
WARNING: If the surface is cracked, switch off the appliance to avoid the possibility of electric shock. - Do not operate the appliance with an external timer or separate remote-control system.
- During use, the appliance will get hot. Care should be taken to avoid touching heating elements inside the oven.
- Handles may get hot after a short period of use.
- Do not use harsh abrasive cleaners or scourers to clean oven surfaces. They can scratch the surfaces which may result in shattering of the door glass or damage to surfaces.
- Do not use steam cleaners for cleaning the appliance.
WARNING: To avoid the possibility of electric shock, make sure that the appliance is switched off before replacing the lamp.
CAUTION: Accessible parts may be hot when cooking or grilling. Keep young children away from the appliance while it is in use. - During pyrolytic operations, remove any excess spillage, oven shelves, shelf supports, wire shelves, and all accessories before cleaning.
- Your appliance is produced in accordance with all applicable local and international standards and regulations.
- Maintenance and repair work should only be carried out by authorized service technicians. Installation and repair work that is carried out by unauthorized technicians may be dangerous. Do not alter or modify the specifications of the appliance in any way. Inappropriate hob guards can cause accidents.
- Before connecting your appliance, make sure that the local distribution conditions (nature of the gas and gas pressure or electricity voltage and frequency) and the specifications of the appliance are compatible. The specifications for this appliance are stated on the label.
- CAUTION: This appliance is designed only for cooking food and is intended for indoor domestic household use only. It should not be used for any other purpose or in any other application, such as for non-domestic use, in a commercial environment, or for heating a room.
- Do not use the oven door handles to lift or move the appliance.
- All possible measures have been taken to ensure your safety. Since the glass may break, care should be taken while cleaning to avoid scratching. Avoid hitting or knocking the glass with accessories.
- Make sure that the supply cord is not trapped or damaged during installation. If the supply cord is damaged, it must be replaced by the manufacturer, its service agent, or similarly qualified persons in order to prevent a hazard.
- Do not let children climb on the oven door or sit on it while it is open.
- Please keep children and animals away from this appliance.
1.2 inStallation WarninGS
- Do not operate the appliance before it is fully installed.
- The appliance must be installed by an authorized technician. The manufacturer is not responsible for any damage that might be caused by defective placement and installation by unauthorized people.
- When the appliance is unpacked, make sure that it has not been damaged during transportation. In the case of a defect do not use the appliance and contact a qualified service agent immediately. The materials used for packaging (nylon, staplers, styrofoam, etc.) may be harmful to children, and they should be collected and removed immediately.
- Protect your appliance against atmospheric effects. Do not expose it to effects such as sun, rain, snow, dust, or excessive humidity.
- The material around the appliance must be able to withstand a minimum temperature of 100°C.
- The appliance must not be installed behind a decorative door, in order to avoid overheating.
1.3 DurinG uSe
- When you first use your oven you may notice a slight smell. This is perfectly normal and is caused by the insulation materials on the heater elements. We suggest that, before using your oven for the first time, you leave it empty and operate it at maximum temperature for 45 minutes. Make sure that the environment in which the product is installed is well ventilated.
- Take care when opening the oven door during or after cooking. The hot steam from the oven may cause burns.
- Do not put flammable or combustible materials in or near the appliance while it is operating.
- Always use oven gloves to remove and replace food in the oven.
- Under no circumstances should the oven be lined with aluminum foil as overheating may occur.
- Do not place dishes or baking trays directly onto the base of the oven whilst cooking. The base becomes very hot and damage may be caused to the product. Do not leave the oven unattended while cooking with solid or liquid oils. They may catch fire under extreme heating conditions. Never pour water onto flames that are caused by oil, instead switch the oven off and cover the pan with its lid or a fire blanket.
- If the product will not be used for a long period of time, turn the main control switch off.
- Make sure the appliance control knobs are always in the “0” (stop) position when it is not in use.
- The trays incline when pulled out. Take care not to spill or drop hot food while removing it from the oven.
- Do not place anything on the oven door when it is open. This could unbalance the oven or damage the door.
- Do not hang towels, dishcloths, or clothes from the appliance or its handles.
1.4 DurinG CleaninG anD MaintenanCe
- Make sure that your appliance is turned off at the mains before carrying out any cleaning or maintenance operations.
- Do not remove the control knobs to clean the control panel.
- To maintain the efficiency and safety of your appliance, we recommend you always use original spare parts and to call our authorized service agents in case of need. CE
Declaration of conformity
We declare that our products meet the applicable European Directives, Decisions, and Regulations and the requirements listed in the standards referenced.
This appliance has been designed to be used only for home cooking. Any other use (such as heating a room) is improper and dangerous.

The operating instructions apply to several models.
You may notice differences between these instructions and your model.
Disposal of your old machine
This symbol on the product or on its packaging indicates that this product should not be treated as household waste. Instead, it should be handed over to the applicable collection point for the recycling of electrical and electronic equipment. By ensuring this product is disposed of correctly, you will help prevent potential negative consequences for the environment and human health, which could otherwise be caused by inappropriate waste handling of this product. For more detailed information about recycling this product, please contact your local city office, your household waste disposal service, or the retailer who you purchased this product from.
INSTALLATION AND PREPARATION FOR USE
WARNING: This appliance must be installed by an authorized service person or qualified technician, according to the instructions in this guide and in compliance with the current local regulations.
- Incorrect installation may cause harm and damage, for which the manufacturer accepts no responsibility and the warranty will not be valid.
- Prior to installation, ensure that the local distribution conditions (electricity voltage and frequency) and the adjustments of the appliance are compatible. The adjustment conditions for this appliance are stated on the label.
- The laws, ordinances, directives, and standards in force in the country of use are to be followed (safety regulations, proper recycling in accordance with the regulations, etc.).
2.1 inStruCtionS for the inStaller General instructions
After removing the packaging material from the appliance and its accessories, ensure that the appliance is not damaged. If you suspect any damage, do not use it and contact an authorized service person or qualified technician immediately.
- Make sure that there are no flammable or combustible materials in the close vicinity, such as curtains, oil, cloth, etc. that may catch fire.
- The worktop and furniture surrounding the appliance must be made of materials resistant to temperatures above 100°C.
- The appliance should not be installed directly above a dishwasher, fridge, freezer, washing machine or clothes dryer.
2.2 inStallation of the oven
The appliances are supplied with installation kits and can be installed in a worktop with the appropriate dimensions. The dimensions for hob and oven installation are
| A (mm) | 557 | min./max. F (mm) | 560/580 |
| B (mm) | 550 | min. G (mm) | 555 |
| C (mm) | 595 | min. H/I (mm) | 600/590 |
| D (mm) | 575 | min. J/K (mm) | 5/10 |
| E (mm) | 576 | ||

After making the electrical connections, insert the oven into the cabinet by pushing it forward. Open the oven door and insert 2 screws in the holes located on the oven frame. While the product frame touches the wooden surface of the cabinet, tighten the screws.
2.3 eleCtriCal ConneCtion anD Safety
WARNING: The electrical connection of this appliance should be carried out by an authorized service person or qualified electrician, according to the instructions in this guide and in compliance with the current local regulations.
WARNING: THE APPLIANCE MUST BE EARTHED.
- Before connecting the appliance to the power supply, the voltage rating of the appliance (stamped on the appliance identification plate) must be checked for correspondence to the available mains supply voltage, and the mains electric wiring should be capable of handling the appliance’s power rating (also indicated
on the identification plate). - During installation, please ensure that isolated cables are used. An incorrect connection could damage your appliance. If the mains cable is damaged and needs to be replaced this should be done by qualified personnel.
- Do not use adaptors, multiple sockets, and/or extension leads.
- The supply cord should be kept away from hot parts of the appliance and must not be bent or compressed. Otherwise, the cord may be damaged, causing a short circuit.
- If the appliance is not connected to the mains with a plug, an all-poledisconnector (with at least 3 mm contact spacing) must be used in order to meet the safety regulations.
- The appliance is designed for a power supply of 220-240V If your supply is different, contact the authorized service person or a qualified electrician.
- The power cable (H05VV-F) must be long enough to be connected to the appliance, even if the appliance stands in the front of its cabinet.
- Ensure all connections are adequately tightened.
- Fix the supply cable in the cable clamp and then close the cover.
- The terminal box connection is placed on the terminal box.

PRODUCT FEATURES
Important: Specifications for the product vary and the appearance of your appliance may differ from that shown in the figures below.
List of Components
- Control Panel
- Oven Door Handle
- Oven Door
Control Panel
- Timer
- Oven Function Control Knob
- Oven Thermostat Knob
USE OF PRODUCT
Oven Functions
* The functions of your oven may be different due to the model of your product.
Defrost Function: The oven’s warning lights will switch on and the fan will start to operate. To use the defrost function, place your frozen food in the oven on a shelf in the third slot from the bottom.
It is recommended that you place an oven tray under the defrosting food to catch the water accumulated due to melting ice. This function will not cook or bake your food, it will only help to defrost it.
Turbo Function: The oven’s thermostat and warning lights will switch on, and the ring heating element and fan will start operating. The turbo function evenly disperses the heat in the oven so all food on all racks will cook evenly. It is recommended that you preheat the oven for about 10 minutes. 
Static Cooking Function: The oven’s thermostat and warning lights will switch on, and the lower and upper heating elements will start operating. The static cooking function emits heat, ensuring even cooking of food. This is ideal for making pastries, cakes, baked pasta, lasagne, and pizza. Preheating the oven for 10 minutes is recommended and it is best to use only one shelf at a time in this function.
Fan Function: The oven’s thermostat and warning lights will switch on, and the upper and lower heating elements and fan will start operating. This function is good for baking pastry. Cooking is carried out by the lower and upper heating elements within the oven and by the fan, which provides air circulation, giving a slightly grilled effect to the food. It is recommended that you preheat the oven for about 10 minutes. 
Grilling Function: The oven’s thermostat and warning lights will switch on, and the grill heating element will start operating. This function is used for grilling and toasting foods on the upper shelves of the oven. Lightly brush the wire grid with oil to stop food sticking and place food in the center of the grid. Always place a tray beneath the food to catch any drips of oil or fat. It is recommended that you preheat the oven for about 10 minutes.
Warning: When grilling, the oven door must be closed and the oven temperature should be adjusted to 190°C.
Faster Grilling Function: The oven’s thermostat and warning lights will switch on, and the grill and upper heating elements will start operating. This function is used for faster grilling and for grilling food with a larger surface area, such as meat. Use the upper shelves of the oven. Lightly brush the wire grid with oil to stop food sticking and place food in the center of the grid. Always place a tray beneath the food to catch any drips of oil or fat. It is recommended that you preheat the oven for about 10 minutes.
Warning: When grilling, the oven door must be closed and the oven temperature should be adjusted to 190°C.
Double Grill and Fan Function: The oven’s thermostat and warning lights will switch on, and the grill, upper heating elements, and fan will start operating. This function is used for faster grilling of thicker food and for grilling food with a larger surface area. Both the upper heating elements and grill will be energized along with the fan to ensure even cooking. Use the upper shelves of the oven. Lightly brush the wire grid with oil to stop food sticking and place food in the center of the grid. Always place a tray beneath the food to catch any drips of oil or fat. It is recommended that you preheat the oven for about 10 minutes.
Warning: When grilling, the oven door must be closed and the oven temperature should be adjusted to 190°C.
Pyrolytic Cleaning Function: This function allows you to clean the inside of the oven thoroughly.
Warning: Before activating the pyrolytic cleaning function, remove any excessive spillage and make sure that the oven is empty. Do not leave anything inside the oven cavity in order to prevent damage.
- Before activating the pyrolytic cleaning function, remove the wire oven shelves and shelf supports (if available) and ensure the oven door is closed.
- The oven door will lock when the pyrolytic function starts.
- When the pyrolytic cleaning function is on, it is advisable not to use a hob if it is fitted above the oven. This could cause overheating and damage to both appliances.
- During the pyrolytic cleaning cycle, the oven door will become hot. Children should be kept away until it has cooled.
- At the end of the pyrolytic cleaning process, the display will show the time of day.
4.1 CookinG table
| Function | Dishes | ![]() | ![]() | ![]() |
| Static | Puff Pastry | 2-3-4 | 170-190 | 35-45 |
| Cake | 2-3-4 | 170-190 | 30-40 | |
| Cookie | 2-3-4 | 170-190 | 30-40 | |
| Stew | 2 | 175-200 | 40-50 | |
| Chicken | 2-3-4 | 200 | 45-60 | |
| Fan | Puff Pastry | 2-3-4 | 170-190 | 25-35 |
| Cake | 2-3-4 | 150-170 | 25-35 | |
| Cookie | 2-3-4 | 150-170 | 25-35 | |
| Stew | 2 | 175-200 | 40-50 | |
| Chicken | 2-3-4 | 200 | 45-60 | |
| Turbo | Puff Pastry | 2-3-4 | 170-190 | 35-45 |
| Cake | 2-3-4 | 150-170 | 30-40 | |
| Cookie | 1 – 2 – 3 | 150-170 | 25-35 | |
| Stew | 2 | 175-200 | 40-50 |
| Grilling | Grilled meatballs | 5 | 200 | 10-15 |
| Chicken | * | 190 | 50-60 | |
| Chop | 4-5 | 200 | 15-25 | |
| Beefsteak | 4-5 | 200 | 15-25 |
*If available cook with a roast chicken skewer
4.2 uSe of the DiGital tiMer

| Function Description | |
A | Auto cooking |
![]() | Thermostat Symbol |
![]() | Degrees Celcius Symbol |
![]() | Pyrolytic Symbol |
![]() | Cooking time |
| Cooking end time | |
![]() | Key Lock |
![]() | Minute minder |
![]() | Mode function |
_ | Decrease timer |
+ | Increase timer |
![]() | Timer display |
Time Adjustment
The time must be set before you start using the oven. Following the power connection, the symbol “ ” and “000” will flash on the display screen.

- Press the “+” and “-” buttons simultaneously. The dots in the middle of the screen will start to flash.

- Adjust the time using the “+” and “-” buttons while the dots are flashing.

- After a few seconds, the dots will stop flashing and will remain illuminated.
Key Lock
The key lock automatically activates after the timer has not been used for 5 seconds. “
” symbol will appear and remain illuminated. To unlock the timer buttons, press and hold the “
” button for 2 seconds. The desired operation can then be carried out.
Audible warning time adjustment
The audible warning time can be set to any time between “0:00” and “23:59” hours. The audible warning time is for warning purposes only. The oven will not be activated with this function.
Audible warning time adjustment
The audible warning time can be set to any time between 0:00 and 23:59 hours. The audible warning time is for warning purposes only, the oven will not be activated with this function.

- Press “
”. The symbol
will start flashing and “000” will appear.
- Select the desired time period using the “+” and “-” keys while
is flashing.
- After a few seconds, the dots will stop flashing and will remain illuminated.
Key Lock
The key lock automatically activates after the timer has not been used for 5 seconds. “
” symbol will appear and remain illuminated. To unlock the timer buttons, press and hold the “
” button for 2 seconds. The desired operation can then be carried out.
Audible warning time adjustment
The audible warning time can be set to any time between “0:00” and “23:59” hours. The audible warning time is for warning purposes only. The oven will not be activated with this function.
Audible warning time adjustment
The audible warning time can be set to any time between 0:00 and 23:59 hours. The audible warning time is for warning purposes only, the oven will not be activated with this function.
- Press “
”. The symbol will start flashing and “000” will appear.
- Select the desired time period using the “+” and “-” keys while
is flashing.
- The symbol will remain illuminated, the time will be saved and the warning will be set.
When the timer reaches zero, an audible warning will sound and the symbol will flash. Press any key to stop the sound and the symbol will disappear.
Semi-automatic time adjustment (cooking period)
This function helps you to cook for a fixed period of time. A time range between 0 and 10 hours can be set. Prepare the food for cooking and put it in the oven.
- Select the desired cooking function and the temperature using the control knobs.

- Press “
” until you see “dur” on the screen. The symbol “A ” will flash.
- Select the desired cooking time period using the “+” and “–” buttons.

- The current time of day will reappear on the screen, and the symbols “ ” will remain illuminated.
When the timer reaches zero, the oven will switch off, an audible warning will sound and the symbol “A ” will flash. Turn both control knobs to the “0” position and press any button on the timer to stop the sound. The symbol will disappear and the timer will switch back to manual function.
Semi-automatic time adjustment (finishing time)
This function automatically starts the oven so that cooking will finish at a set time. You can set an end time of up to 10 hours after the current time of day. Prepare the food for cooking and put it in the oven.
- Select the desired cooking function and the temperature using the control knobs.

- Press “
” until you see “end” on the screen. The symbol “+” and the current time of day will start to flash.
- Use the “+” and “-” buttons to set the desired finishing time.

- The current time will reappear on the screen, ´and the symbol “A ” will remain illuminated.
When the timer reaches zero, the oven will switch off, an audible warning will sound and the symbol “ ” will flash. Turn both control knobs to the “0” position and press any key on the timer to stop the sound. The symbol will disappear and the timer will switch back to manual function. Full-automatic programming
This function is used to start cooking after a certain period of time and for a certain duration. A time of up to 10 hours after the current time of day can be set. Prepare the food for cooking and put it in the oven.
- Select the desired cooking function and the temperature using the control knobs.

- Press “
” until you see “dur” on the screen. The symbol “A ” will flash.
- Select the desired cooking time period using the “+” and “-” buttons.

- The current time will reappear on the screen, ´and the symbol “A ” will remain illuminated.

- Press “
” until you see “end” on the screen. The symbol “A ” and the current time of day will flash.
- Select the desired finishing time using the “+” and “-” buttons.

- Add the cooking period to the current time of day. You can set a time of up to 23 hours and 59 minutes after this.

- The current time will reappear on the screen, ´and the symbol “A ” will remain illuminated.
The operating time will be calculated and the oven will automatically start so that cooking will finish at the set finishing time. When the timer reaches zero, the oven will switch off, an audible warning will sound and the symbol “ ” will flash. Turn both control knobs to the “0” position and press any key to stop the sound. The symbol will disappear and the timer will switch back to manual function.
Sound Adjustment
To adjust the volume of the audible warning sound, press the “ ” button three times while the signal is sounding. The oven function selector knob must be at the “0” position. “L3” will appear on the display screen. Press the “+” and “-” buttons to adjust the sound level. Release the buttons and, after a few seconds, the signal sound volume will be set.
The Thermostat symbol
- The thermostat symbol ( ) automatically activates during the oven thermostat is running. The Pyrolytıc symbol

- The pyrolytic symbol (
) automatically activates during the pyrolytic function is running.
4.3 ACCESSORIES
The EasyFix Wire Rack
Clean the accessories thoroughly with warm water, detergent, and a soft clean cloth on first use.

- Insert the accessory to the correct position inside the oven.
- Allow at least a 1 cm space between the fan cover and accessories.
- Take care to remove cookware and/or accessories out of the oven. Hot meals or accessories can cause burns.
- The accessories may deform with heat. Once they have cooled down, they will recover their original appearance and performance.
- Trays and wire grids can be positioned on any level from 1 to 5.
- Telescopic rails can be positioned on levels T1, T2, 3, 4, 5.
- Level 3 is recommended for single-level cooking.
- Level T2 is recommended for single-level cooking with telescopic rails.
- The turnspit wire grid must be positioned on Level 3.
- Level T2 is used for the turnspit wire grid positioning with telescopic rails.
****Accessories may vary depending on the model purchased.
The Wire Grid for Deep Trays
Makes sure the wire grid is correctly placed within a deep tray. It is recommended to use this accessory for grilling steaks, meatballs, and similar food

The Grill Pan and Handle Set
The grill pan set is best used for grilling steaks and similar foods.
WARNING: The grill pan has a detachable handle. Make sure when using the grill pan handle that it is centralized and secure, as shown in the figure. Do not leave the handle in position while grilling is in operation.

The Shallow Tray
The shallow tray is best used for baking pastries.
Put the tray into any rack and push it to the end to make sure it is correctly placed.

The Wire Grid
The wire grid is best used for grilling or for processing food in oven-friendly containers.

WARNING
Place the grid to any corresponding rack in the oven cavity correctly and push it to the end.

The Water Collector
In some cases of cooking, condensation may appear on the inner glass of the oven door. This is not a product malfunction. Open the oven door into the grilling position and leave it in this position for 20 seconds.
Water will drip to the collector.
Cool the oven and wipe the inside of the door with a dry towel. This procedure must be applied regularly.

CLEANING AND MAINTENANCE
5.1 CleaninG
WARNING: Switch off the appliance and allow it to cool before cleaning is to be carried out.
General Instructions
- Check whether the cleaning materials are appropriate and recommended by the manufacturer before use on your appliance.
- Use cream cleaners or liquid cleaners which do not contain particles. Do not use caustic (corrosive) creams, abrasive cleaning powders, rough wire wool, or hard tools as they may damage the cooker surfaces. Do not use cleaners that contain particles as they may scratch the glass, enameled, and/or painted parts of your appliance.
- Should any liquids overflow, clean them immediately to avoid parts becoming damaged.
Do not use steam cleaners for cleaning any part of the appliance.
Cleaning the Inside of the Oven
- The inside of enameled ovens is best cleaned while the oven is warm.
- Wipe the oven with a soft cloth soaked in soapy water after each use. Then, wipe the oven over again with a wet cloth and dry it.
- You may need to use a liquid cleaning material occasionally to completely clean the oven.

Pyrolytic cleaning
WARNING: Before activating the pyrolytic cleaning function, remove any excessive spillage and make sure that the oven is empty. Do not leave anything inside the oven, such as wire grids, trays, or oven shelves and supports (if available), as they could be damaged during pyrolytic cleaning.
- The oven cavity is coated with a special enamel that is resistant to high temperatures. During the pyrolytic cleaning operation, the temperature inside the oven can reach about 475°C.
- The oven door will automatically lock, for your safety, while the pyrolytic cleaning function is in operation. After the cleaning is complete, the cooling fan will begin operating and the oven will remain locked until it has cooled.
- It is advisable to wipe the oven down with a sponge soaked in warm water, after each cooking operation or pyrolytic the cleaning cycle has been carried out.
- During the pyrolytic operation, a smell and some fumes will emanate due to the destruction of food residue within the oven. This is normal. Oven cleaning fumes could be fatal to birds, children, and pets so all should be kept away until the operation is complete.
- The area where the oven is installed should be kept well-ventilated, especially during the pyrolytic cleaning function, and any doors leading into the area should be closed to avoid passing the smell and fumes throughout. Cleaning the Glass Parts
- Clean the glass parts of your appliance on a regular basis.
- Use a glass cleaner to clean the inside and outside of the glass parts. Then, rinse and dry them thoroughly with a dry cloth
Cleaning the Stainless Steel Parts (if available)
- Clean the stainless steel parts of your appliance on a regular basis.
- Wipe the stainless steel parts with a soft cloth, soaked in only water. Then, dry them thoroughly with a dry cloth.
Do not clean the stainless steel parts while they are still hot from cooking.
Do not leave vinegar, coffee, milk, salt, water, lemon, or tomato juice on the stainless steel for a long time.
Cleaning Painted Surfaces (if available) - Spots of tomato, tomato paste, ketchup, lemon, oil derivatives, milk, sugary foods, sugary drinks, and coffee should be cleaned with a cloth dipped in warm water immediately. If these stains are not cleaned and allowed to dry on the surfaces they are on, they should NOT be rubbed with hard objects (pointed objects, steel, and plastic scouring wires, surface-damaging dish sponge) or cleaning agents containing high levels of alcohol, stain removers, degreasers, surface abrasive chemicals. Otherwise, corrosion may occur on the powder-painted surfaces, and stains may occur. The manufacturer will not be held responsible for any damage caused by the use of appropriate cleaning products or methods.
Removal of the Inner Glass
You must remove the oven door glass before cleaning, as shown below.
1. Push the glass in the direction of B and release it from the location bracket (x). Pull the glass out in the direction of ATo replace the inner glass:
- Push the glass towards and under the location bracket (y), in the direction of B.

- Place the glass under the location bracket (x) in the direction of C.

If the oven door is a triple glass oven door, the third glass layer can be removed the same way as the second glass layer.Removal of the Oven Door
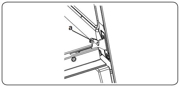
Before cleaning the oven door glass, you must remove the oven door, as shown below.- Open the oven door

- Open the locking catch (a) (with the aid of a screwdriver) up to the end position.

- Close the door until it almost reaches the fully closed position and removes the door by pulling it towards you.

Removal of the Wire Shelf
To remove the wire rack, pull the wire rack as shown in the figure. After releasing it from the clips (a), lift it up.
5.2 MaintenanCe
WARNING: The maintenance of this appliance should be carried out by an authorized service person or qualified technician only.
Changing the Oven Lamp
WARNING: Switch off the appliance and allow it to cool before cleaning your appliance.
- Remove the glass lens, then remove the bulb.
- Insert the new bulb (resistant to 300 °C) to replace the bulb that you removed (230 V, 15-25 Watt, Type E14).
- Replace the glass lens, and your oven is ready for use.
- The product contains a light source of energy efficiency class G.
- The light source can not be replaced by the end-user.
After-sales service is needed. - The included light source is not intended for use in other applications.

The lamp is designed specifically for use in household cooking appliances. It is not suitable for household room illumination.
TROUBLESHOOTING&TRANSPORT
6.1 troubleShootinG
If you still have a problem with your appliance after checking these basic troubleshooting steps, please contact an authorized service person or qualified technician.
| Problem | Possible Cause | Solution |
| The oven does not switch on. | The power is switched off. | Check whether there is power supplied. Also, check that other kitchen appliances are working. |
| No heat or oven does not warm up. | Oven temperature control is incorrectly set. The oven door has been left open. | Check that the oven temperature control knob is set correctly. |
| The oven light (if available) does not operate. | The lamp has failed. The electrical supply is disconnected or switched off. | Replace the lamp according to the instructions. Make sure the electrical supply is switched on at the wall socket outlet. |
| Cooking is uneven within the oven. | Oven shelves are incorrectly positioned. | Check that the recommended temperatures and shelf positions are being used. Do not frequently open the door unless you are cooking things that need to be turned. If you open the door often, the interior temperature will be lower and this may affect the results of your cooking. |
| The timer buttons cannot be pressed properly. | There is foreign matter caught between the timer buttons. Touch model: there is moisture on the control panel. The key lock function is set. | Remove the foreign matter and try again. Remove the moisture and try again. Check whether the key lock function is set. |
| The oven fan (if available) is noisy. | Oven shelves are vibrating. | Check that the oven is level. Check that the shelves and any bakeware are not vibrating or in contact with the oven back panel. |
6.2 tranSport
If you need to transport the product, use the original product packaging and carry it using its original case. Follow the transport signs on the packaging. Tape all independent parts to the product to prevent damaging the product during transport. If you do not have the original packaging, prepare a carriage box so that the appliance, especially the external surfaces of the product, is protected against external threats.
TECHNICAL SPECIFICATIONS
| Brand | ||
| Model | K-61P27BNM-EN | |
| Type of Oven | ELECTRIC | |
| Mass | kg | 35,9 |
| Energy Efficiency Index – conventional | 103,6 | |
| Energy Efficiency Index – fan forced | 94,0 | |
| Energy Class | A | |
| Energy consumption (electricity) – conventional | kWh/cycle | 0,87 |
| Energy consumption (electricity) – fan-forced | kWh/cycle | 0,79 |
| Number of cavities | 1 | |
| Heat Source | ELECTRIC | |
| Volume | l | 68 |
| This oven complies with EN 60350-1 |
Service &Support
Visit Our Website
sharphomeappliances.com![]()

![]()



















































