Plate Joiner
INSTRUCTION MANUAL
PJ7000

![]()
PJ7000 Plate Joiner




SPECIFICATIONS
| Model | PJ7000 | |
| Type of blade | Plate joiner | |
| Max. grooving depth | Plate joiner blade | 20 mm |
| No load speed (mind) | 11,000 | |
| Overall length | 302 mm | |
| Net weight | 2.5 kg | |
| Safety class | ||
- Due to our continuing programme of research and development, the specifications herein are subject to change without notice.
- Specifications may differ from country to country.
- Weight according to EPTA-Procedure 01/2003
Symbols
The following show the symbols used for the equipment.
Be sure that you understand their meaning before use.
| Read instruction manual. | |
| DOUBLE INSULATION | |
| Only for EU countries Do not dispose of electric equipment together with household waste material! Inobservance of the European Directive, on Waste Electric and Electronic Equipment and its implementation in accordance with national law, electric equipment that have reached the end of their life must be col- lected separately and returned to an environmentally compatible recycling facility. |
Intended use
The tool is intended for cutting crescent shaped slots for the placement of flat wooden dowels or biscuit by a plunging action.
Power supply
The tool should be connected only to a power supply of the same voltage as indicated on the nameplate, and can only be operated on single-phase AC supply. They are double-insulated and can, therefore, also be used from sockets without earth wire.
General Power Tool Safety Warnings
WARNING Read all safety warnings and all instructions. Failure to follow the warnings and instructions may result in electric shock, fire and/or serious injury.
Save all warnings and instruc-tions for future reference.
The term “power tool” in the warnings refers to your mains-operated (corded) power tool or battery-operated (cordless) power tool.
Work area safety
- Keep work area clean and well lit. Cluttered or dark areas invite accidents.
- Do not operate power tools in explosive atmospheres, such as in the presence of flammable liquids, gases or dust. Power tools create sparks which may ignite the dust or fumes.
- Keep children and bystanders away while operating a power tool. Distractions can cause you to lose control.
Electrical safety - Power tool plugs must match the outlet. Never modify the plug in any way. Do not use any adapter plugs with earthed (grounded) power tools. Unmodified plugs and matching outlets will reduce risk of electric shock.
- Avoid body contact with earthed or grounded surfaces such as pipes, radiators, ranges and refrigerators. There is an increased risk of electric shock if your body is earthed or grounded.
- Do not expose power tools to rain or wet conditions. Water entering a power tool will increase the risk of electric shock.
- Do not abuse the cord. Never use the cord for carrying, pulling or unplugging the power tool. Keep cord away from heat, oil, sharp edges or moving parts. Damaged or entangled cords increase the risk of electric shock.
- When operating a power tool outdoors, use an extension cord suitable for outdoor use. Use of a cord suitable for outdoor use reduces the risk of electric shock.
- If operating a power tool in a damp location is unavoidable, use a residual current device (RCD) protected supply. Use of an RCD reduces the risk of electric shock.
- Use of power supply via a RCD with a rated residual current of 30 mA or less is always recommended.
Personal safety - Stay alert, watch what you are doing and use common sense when operating a power tool. Do not use a power tool while you are tired or under the influence of drugs, alcohol or medication. A moment of inattention while operating power tools may result in serious personal injury.
- Use personal protective equipment. Always wear eye protection. Protective equipment such as dust mask, non-skid safety shoes, hard hat, or hearing protection used for appropriate conditions will reduce personal injuries.
- Prevent unintentional starting. Ensure the switch is in the off-position before connecting to power source and/or battery pack, picking up or carrying the tool. Carrying power tools with your finger on the switch or energising power tool sthat have the switch on invites accidents.
- Remove any adjusting key or wrench before turning the power tool on. A wrench or a key left attached to a rotating part of the power tool may result in personal injury.
- Do not overreach. Keep proper footing and balance at all times. This enables better control of the power tool in unexpected situations.
- Dress properly. Do not wear loose clothing or jewellery. Keep your hair, clothing, and gloves away from moving parts. Loose clothes, jewellery or long hair can be caught in moving parts.
- If devices are provided for the connection of dust extraction and collection facilities, ensurethese are connected and properly used. Use ofdust collection can reduce dust-related hazards. Power tool use and care
- Do not force the power tool. Use the correct power tool for your application. The correct power tool will do the job better and safer at the rate for which it was designed.
- Do not use the power tool if the switch does not turn it on and off. Any power tool that cannot be controlled with the switch is dangerous and must be repaired.
- Disconnect the plug from the power source and/or the battery pack from the power tool before making any adjustments, changing accessories, or storing power tools. Such preventive safety measures reduce the risk of startingthe power tool accidentally.
- Store idle power tools out of the reach of children and do not allow persons unfamiliar with the power tool or these instructions to operatethe power tool. Power tools are dangerous in thehands of untrained users.
- Maintain power tools. Check for misalignment or binding of moving parts, breakage of parts and any other condition that may affect the power tool’s operation. If damaged, have the power tool repaired before use. Many accidentsare caused by poorly maintained power tools.
- Keep cutting tools sharp and clean. Properly maintained cutting tools with sharp cutting edges are less likely to bind and are easier to control.
- Use the power tool, accessories and tool bits etc. in accordance with these instructions, taking into account the working conditions and the work to be performed. Use of the power tool for operations different from those intended could result in a hazardous situation.
Service - Have your power tool serviced by a qualified repair person using only identical replacement parts. This will ensure that the safety of the power tool is maintained.
- Follow instruction for lubricating and changing accessories.
- Keep handles dry, clean and free from oil and grease.
PLATE JOINER SAFETY WARNINGS
- Blades must be rated for at least the speed marked on the tool. Blades running over rated speed can fly apart and cause injury.
- Always use the guard. The guard protects the operator from broken blade fragments and unintentional contact with the blade.
- Hold power tool by insulated gripping surfaces, because the blade may contact its own cord. Cutting a “live” wire may make exposed metal parts of the power tool “live” and could give the operator an electric shock.
- Use only the blades specified for this tool.
- Never operate the tool with the blade locked in exposed position or without the blade cover secured properly in place.
- Make sure that the blade slides smoothly before operation.
- Check the blades carefully for cracks or damage before operation. Replace cracked or damaged blades immediately.
- Make sure that the flange fits in the arbor hole when installing the blade.
- Inspect for and remove all nails or foreign matter from the workpieces before operation.
- Always place the workpieces on a stable workbench.
- Secure the workpieces firmly with clamp or vise.
- NEVER wear gloves during operation.
- Hold the tool firmly with both hands.
- Keep your hands and body away from the grooving area.
- Run the tool for a while without the blade pointing toward anybody. Watch for vibration or wobbling that could indicate poor installation or a poorly balanced blade.
- Never reach your hands underneath the workpieces while the blade is rotating.
- Do not leave the tool running unattended.
- Always be sure that the tool is switched off and unplugged before making any adjustments or replacing the blade.
- Some material contains chemicals which may be toxic. Take caution to prevent dust inhalation and skin contact. Follow material supplier safety data.
- Do not use blunt or damaged blades.
- Do not use the tool with damaged guards.
SAVE THESE INSTRUCTIONS.
WARNING: DO NOT let comfort or familiarity with product (gained from repeated use) replace strict adherence to safety rules for the subject product. MISUSE or failure to follow the safety rules stated in this instruction manual may cause seriouspersonal injury.
FUNCTIONAL DESCRIPTION
CAUTION:
- Always be sure that the tool is switched off and unplugged before adjusting or checking functionon the tool.
Adjusting the depth of groove
► Fig.1:
- Pointer
- Stopper
- Adjusting screw
- Rubber spike 6 grooving depths can be preset according to the size of biscuit to be used.
Refer to the table below for the correspondence between the sizes marked on the stopper and the biscuit size. Fine adjustments to the grooving depth can be made by turning the adjusting screw after loosening the hex nut. This may become necessary after the blade has been resharpened a few times.
| Size on stopper | 0 | 10 | 20 | S | D | MAX |
| Biscuit size | 0 | 10 | 20 | – | – | – |
| Depth of groove | 8 mm | 10 mm | 12.3mm | 13 mm | 14.7mm | 20 mm* |
Angle guide
The angle guide height can be moved up and down to adjust the position of the blade in relation to the top of the workpiece.
► Fig.2: 1. Lock lever 2. Angle guide 3. Knob 4. Scale5. Pointer 6. Tighten 7. Loosen
To adjust the angle guide height, loosen the lock lever down and rotate the knob until the pointer points to the desired scale graduation marked on the angle guide.
► Fig.3: 1. Knob 2. Down 3. Up 4. Center of blade thickness
Then tighten the lock lever up to secure the angle guide.
The scale on the angle guide indicates the distance from the top of the workpiece to the center of the blade thickness.
The angle guide is removable from the fence according to the need of your work. To remove the angle guide, loosen the lock lever and turn the knob clockwise until it comes out of the upper end of the fence.
Fence
NOTE:
- Remove the angle guide according to the need of your work when using the tool with the angle of the fence adjusted to other than 0°. When you need to use the angle guide under the above condition, be sure to adjust the depth of groove to get a proper depth.
► Fig.4: 1. Fence 2. Lock lever 3. Angle scale
4. Tighten 5. Loosen
► Fig.5: 1. Lock lever 2. Pointer 3. Angle scale
4. Center of blade thickness 5. Blade cover
The angle of the fence can be adjusted between 0° and 90° (positive stops at 0°, 45° and 90°). To adjust the angle, loosen the lock lever and tilt the fence until the pointer points to the desired graduation on the angle scale. Then tighten the lock lever to secure the fence.
When the fence is set at 90°, both the distance from the center of the blade thickness to the fence and the distance from the center of the blade thickness to the bottom of the blade cover are 10 mm.
Set plate
► Fig.6: 1. Lock lever 2. Pointer 3. Angle scale 4. Set plate 5. Thickness of set plate 6. Center of blade thickness 7. Blade cover
► Fig.7: 1. Set plate
Use the set plate as shown in the figures when cutting slots in thin workpieces.
Switch action
► Fig.8: 1. Slide switch|
CAUTION:
- Before plugging in the tool, always check to see that the slide switch actuates properly and returns to the “OFF” position when the rear of the slide switch is depressed.
- Switch can be locked in “ON” position for ease of operator comfort during extended use. Apply caution when locking tool in “ON” position and maintain firm grasp on tool.
To start the tool, slide the slide switch toward the “I (ON)” position. For continuous operation, press the front of the slide switch to lock it.
To stop the tool, press the rear of the slide switch, then slide it toward the “O (OFF)” position.
ASSEMBLY
CAUTION:
- Always be sure that the tool is switched off and unplugged before carrying out any work on the tool.
Removing or installing the blade
► Fig.9:
- Lock nut
- Plate joiner blade
- Inner flange
- Clamp screw
- Blade cover
- Loosen
- Tighten
- Shaft lock
CAUTION:
- When installing the plate joiner blade, mount the inner flange with the side marked “22” facing toward you.
To remove the blade, loosen the clamp screw and open the blade cover. Push the shaft lock and loosen the lock nut using the lock nut wrench. To install the blade, first mount the inner flange.
Then mount the blade and the lock nut. Securely tighten the lock nut using the lock nut wrench. Close the blade cover and tighten the clamp screw to secure the blade cover.
CAUTION:
- Use only Makita lock nut wrench provided to remove or install the blade.
- Always check the depth of groove after replacing the blade. Reajust it if necessary.
Dust bag
► Fig.10: 1. Dust bag 2. Fastener 3. Dust nozzle
To attach the dust bag, fit it onto the dust nozzle. If the dust bag becomes an obstacle to your work, turn the dust nozzle to change the dust bag position. When the dust bag is about half full, switch off and unplug the tool. Remove the dust bag from the tool and pull the bag’s fastener out. Empty the dust bag by tapping it lightly to remove as much of the dust as possible.
NOTE:
- If you connect a Makita vacuum cleaner to your plate joiner, more efficient and cleaner operations can be performed.
OPERATION
How to make joints
WARNING:
- Always clamp the workpiece to the workbench before each operation.
► Fig.11
► Fig.12
Corner Joint (Fig. A)
► Fig.13
► Fig.14
► Fig.15
T-Butt Joint (Fig. B)
► Fig.16
► Fig.17
► Fig.18
Miter Joint (Fig. C)
► Fig.19
► Fig.20
Frame Joint (Fig. D)
► Fig.21
► Fig.22
Edge-To-Edge Joint (Fig. E)
► Fig.23
► Fig.24
To make joints, proceed as follows:
- Fit the two workpieces together as they will appear in the finished joint position.
- Mark the center of the intended biscuit grooves on the workpiece using a pencil.
NOTE:
• The center of grooves should be at least 50 mm from the outer edge of the workpieces.
• Allow 100 mm – 150 mm between grooves in multiple biscuit application. - For Corner Joint and T-Butt Joint only Clamp the vertical workpiece to the workbench.
For Miter Joint only
Clamp one workpiece to the workbench with the mitered edge facing up.
For Frame Joint and Edge-To-Edge Joint only
Clamp one workpiece to the workbench. - Set the depth of groove according to the size of biscuit to be used. Refer to the table in the “Adjusting the depth of groove” section.
- Adjust the angle guide height so that the blade is centered in the board thickness.
- Align the center mark on the base with the pencil line on the workpiece.
- Switch on the tool and gently push it forward to extend the blade into the workpiece.
- Gently return the tool to the original position after the adjusting screw reaches the stopper.
- For Corner Joint and T-Butt Joint only Clamp the horizontal workpiece to the workbench.
For Miter Joint only
Clamp the other workpiece to the workbench with the mitered edge facing up.
For Frame Joint and Edge-To-Edge Joint only
Clamp the other workpiece to the workbench. - For Corner Joint only
Place the tool on the workpiece so that the blade is facing down.
For T-Butt Joint only
Remove the angle guide from the tool. Place the tool on the workpiece so that the blade is facing down. - Repeat the steps 6 – 8 to groove in the horizontal or the other workpiece.
If you do not need to center the blade in the board thickness, proceed as follows:
For Corner Joint, Miter Joint, Frame Joint and Edge-To-Edge Joint only
- Remove the angle guide from the tool. Set the fence at 90° for Corner Joint, Frame Joint and Edge-To-Edge Joint or at 45° for Miter Joint.
- Follow steps 1 – 11 excluding steps 5 and 10 described above.
For T-Butt Joint only - Fit the two workpieces together as they will appear in the finished joint position.
- Lay the vertical workpiece on the horizontal one.
Clamp both workpieces to the workbench. - Remove the angle guide from the tool.
- Follow the steps 2, 4, 6, 7, 8 and 11 described above.
MAINTENANCE
CAUTION:
- Always be sure that the tool is switched off and unplugged before attempting to perform inspection or maintenance.
- Never use gasoline, benzine, thinner, alcohol or the like. Discoloration, deformation or cracks may result.
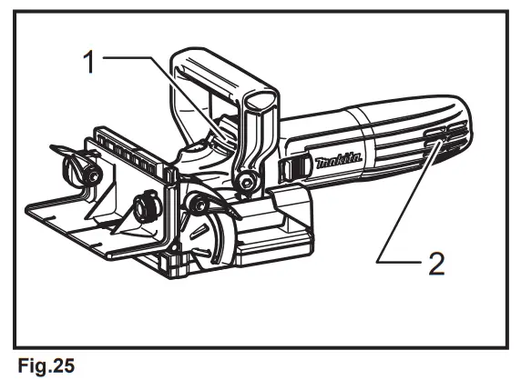
► Fig.25: 1. Exhaust vent 2. Inhalation vent
The tool and its air vents have to be kept clean.
Regularly clean the tool’s air vents or whenever the vents start to become obstructed.
To maintain product SAFETY and RELIABILITY, repairs, carbon brush inspection and replacement, any other maintenance or adjustment should be performed by Makita Authorized Service Centers, always using Makita replacement parts.
OPTIONAL ACCESSORIES
CAUTION:
- These accessories or attachments are recommended for use with your Makita tool specified in this manual. The use of any other accessories or attachments might present a risk of injury to persons. Only use accessory or attachment for its stated purpose.
If you need any assistance for more details regarding these accessories, ask your local Makita Service Center.
- Angle guide
- Dust bag
- Set plate 4
- Lock nut wrench 20
- Plate joiner blades
NOTE:
- Some items in the list may be included in the tool package as standard accessories. They may differ from country to country.
Makita Corporation
3-11-8, Sumiyoshi-cho,
Anjo, Aichi 446-8502 Japan
www.makita.com
885075C375
EN, ZHCN, ID, MS, VI, TH
20200220
















