Makita M3702 Trimmer

Instruction Steps










SPECIFICATIONS
| Model: | M3702 |
| Collet chuck capacity | 6.35 mm (1/4″) or 6.0 mm |
| No-load speed | 35,000 min-1 |
| Overall height | 211 mm |
| Net weight | 1.5 kg |
| Safety class | /II |
- Due to our continuing program of research and development, the specifications herein are subject to change without notice.
- Specifications may differ from country to country.
- Weight according to EPTA-Procedure 01/2014.
Symbols
The followings show the symbols which may be used for the equipment. Be sure that you understand their meaning before use.

Only for EU countries Due to the presence of hazardous components in the equipment, used electrical and electronic equipment may have a negative impact on the environment and human health. Do not dispose of electrical and electronic appliances with household waste! In accordance with the European Directive on waste electrical and electronic equipment and its adaptation to national law, used electrical and electronic equipment should be collected separately and delivered to a separate collection point for municipal waste, operating in accordance with the environmental protection regulations. This is indicated by the symbol of the crossed-out wheeled bin placed on the equipment.
Intended use
The tool is intended for trimming the edge of laminate sheets or similar materials.
Power supply
The tool should be connected only to a power supply of the same voltage as indicated on the nameplate, and can only be operated on a single-phase AC supply. They are double-insulated and can, therefore, also be used from sockets without earth wire.
SAFETY WARNINGS
General power tool safety warnings
Read all safety warnings, instructions, illustrations, and specifications provided with this power tool. Failure to follow all instructions listed below may result in electric shock, fire, and/or serious injury.
Save all warnings and instructions for future reference.
The term “power tool” in the warnings refers to your mains-operated (corded) power tool or battery-operated (cordless) power tool.
Work area safety
- Keep work area clean and well-lit. Cluttered or dark areas invite accidents.
- Do not operate power tools in explosive atmospheres, such as in the presence of flammable liquids, gases, or dust. Power tools create sparks that may ignite dust or fumes.
- Keep children and bystanders away while operating a power tool. Distractions can cause you to lose control.
- Electrical safety
- Power tool plugs must match the outlet. Never modify the plug in any way. Do not use any adapter plugs with earthed (grounded) power tools. Unmodified plugs and matching outlets will reduce the risk of electric shock.
- Avoid body contact with earthed or grounded surfaces, such as pipes, radiators, ranges, and refrigerators. There is an increased risk of electric shock if your body is earthed or grounded.
- Do not expose power tools to rain or wet conditions. Water entering a power tool will increase the risk of electric shock.
- Do not abuse the cord. Never use the cord for carrying, pulling, or unplugging the power tool. Keep cord away from heat, oil, sharp edges, or moving parts. Damaged or entangled cords increase the risk of electric shock.
- When operating a power tool outdoors, use an extension cord suitable for outdoor use. The use of a cord suitable for outdoor use reduces the risk of electric shock.
- If operating a power tool in a damp location is unavoidable, use a residual current device (RCD) protected supply. The use of an RCD reduces the risk of electric shock.
7. Use of power supply via an RCD with a rated residual current of 30 mA or less is always recommended. - Power tools can produce electromagnetic fields (EMF) that are not harmful to the user. However, users of pacemakers and other similar medical devices should contact the maker of their device and/or doctor for advice before operating this power tool.
- Do not touch the power plug with wet hands. 10. If the cord is damaged, have it replaced by the manufacturer or his agent in order to avoid a safety hazard.
Personal safety
Stay alert, watch what you are doing, and use common sense when operating a power tool. Do not use a power tool while you are tired or under the influence of drugs, alcohol, or medication. A moment of inattention while operating power tools may result in serious personal injury.
- Use personal protective equipment. Always wear eye protection. Protective equipment such as a dust mask, non-skid safety shoes, hard hat, or hearing protection used for appropriate conditions will reduce personal injuries.
- Prevent unintentional starting. Ensure the switch is in the off-position before connecting to a power source and/or battery pack, picking up or carrying the tool. Carrying power tools with your finger on the switch or energizing power tools that have the switch on invites accidents. 4. Remove any adjusting key or wrench before turning the power tool on. A wrench or a key left attached to a rotating part of the power tool may result in personal injury.
- Do not overreach. Keep proper footing and balance at all times. This enables better control of the power tool in unexpected situations.
- Dress properly. Do not wear loose clothing or jewelry. Keep your hair and clothing away from moving parts. Loose clothes, jewelry, or long hair can be caught in moving parts.
- If devices are provided for the connection of dust extraction and collection facilities, ensure these are connected and properly used. The use of dust collection can reduce dust-related hazards.
- Do not let familiarity gained from frequent use of tools allow you to become complacent and ignore tool safety principles. A careless action can cause severe injury within a fraction of a second.
- Always wear protective goggles to protect your eyes from injury when using power tools. The goggles must comply with ANSI Z87.1 in the USA, EN 166 in Europe, or AS/NZS 1336 in Australia/New Zealand. In Australia/New Zealand, it is legally required to wear a face shield to protect your face, too.

It is an employer’s responsibility to enforce the use of appropriate safety protective equipment by the tool operators and by other persons in the immediate working area.
Power tool use and care
Do not force the power tool. Use the correct power tool for your application. The correct power tool will do the job better and safer at the rate at which it was designed.
- Do not use the power tool if the switch does not turn on and off. Any power tool that cannot be controlled with the switch is dangerous and must be repaired.
- Disconnect the plug from the power source and/or remove the battery pack, if detachable, from the power tool before making any adjustments, changing accessories, or storing power tools. Such preventive safety measures reduce the risk of starting the power tool accidentally.
- Store idle power tools out of the reach of children and do not allow persons unfamiliar with the power tool or these instructions to operate the power tool. Power tools are dangerous in the hands of untrained users.
- Maintain power tools and accessories. Check for misalignment or binding of moving parts, breakage of parts, and any other condition that may affect the power tool’s operation. If damaged, have the power tool repaired before use. Many accidents are caused by poorly maintained power tools.
- Keep cutting tools sharp and clean. Properly maintained cutting tools with sharp cutting edges are less likely to bind and are easier to control.
Use the power tool, accessories and tool bits, etc. in accordance with these instructions, taking into account the working conditions and the work to be performed. Use of the power tool for operations different from those intended could result in a hazardous situation. - Keep handles and grasping surfaces dry, clean, and free from oil and grease. Slippery handles and grasping surfaces do not allow for safe handling and control of the tool in unexpected situations.
- When using the tool, do not wear cloth work gloves which may be entangled. The entanglement of cloth work gloves in the moving parts may result in personal injury
Service
- Have your power tool serviced by a qualified repair person using only identical replacement parts. This will ensure that the safety of the power tool is maintained.
- Follow instructions for lubricating and changing accessories.
Trimmer safety warnings
Hold the power tool by insulated gripping surfaces only, because the cutter may contact its own cord. Cutting a “live” wire may make exposed metal parts of the power tool “live” and could give the operator an electric shock.
- Use clamps or another practical way to secure and support the workpiece to a stable platform. Holding the work by your hand or against the body leaves it unstable and may lead to loss of control.
- The trimmer bit shank must match the designed collet chuck.
- Only use a trimmer bit that is rated at least equal to the maximum speed marked on the tool.
- Wear hearing protection during extended periods of operation.
- Handle the trimmer bits very carefully.
- Check the trimmer bit carefully for cracks or damage before operation. Replace cracked or damaged bit immediately.
- Avoid cutting nails. Inspect and remove all nails from the workpiece before operation.
- Hold the tool firmly.
- Keep hands away from rotating parts.
- Make sure the trimmer bit is not contacting the workpiece before the switch is turned on.
- Before using the tool on an actual workpiece, let it run for a while. Watch for vibration or wobbling that could indicate an improperly installed bit.
- Be careful of the trimmer bit rotating direction and the feed direction.
- Do not leave the tool running. Operate the tool only when hand-held.
- Always switch off and wait for the trimmer bit to come to a complete stop before removing the tool from the workpiece.
- Do not touch the trimmer bit immediately after operation; it may be extremely hot and could burn your skin.
- Do not smear the base carelessly with thinner, gasoline, oil, or the like. They may cause cracks in the base.
- Some material contains chemicals that may be toxic. Take caution to prevent dust inhalation and skin contact. Follow material supplier safety data.
- Always use the correct dust mask/respirator for the material and application you are working with.
- Place the tool in the stable area. Otherwise falling accident may occur and cause an injury.
SAVE THESE INSTRUCTIONS.
DO NOT let comfort or familiarity with the product (gained from repeated use) replace strict adherence to safety rules for the subject product. MISUSE or failure to follow the safety rules stated in this instruction manual may cause serious personal injury.
FUNCTIONAL DESCRIPTION
Always be sure that the tool is switched off and unplugged before adjusting or checking the function on the tool.
Adjusting trimmer bit protrusion
To adjust the bit protrusion, loosen the clamping screw and move the base up or down as desired. After adjusting, tighten the clamping screw firmly to secure the base.
- Base
- Scale
- Bit protrusion
- Clamping screw.
- Switch action
- CAUTION: Before plugging in the tool, always be sure that the tool is switched off. To start the tool, move the switch lever to the I position. To stop the tool, move the switch lever to the O position. Switch lever
- Electronic function
- The tool is equipped with electronic functions for easy operation.
- Indication lamp
- The indication lamp lights up green when the tool is plugged. If the indicator lamp does not light up, the main cord or the controller may be defective. The indication lamp is lit but the tool does not start even if the tool is switched on, the carbon brushes may be worn out, or the controller, the motor, or the ON/OFF switch may be defective.
- Unintentional restart proof
- The tool does not start with the switch lever in the I position even when the tool is plugged. At this time, the indication lamp blinks in red and shows the unintentional restart proof device is on function. To cancel the unintentional restart proof, return the switch lever to the O position.
- Soft start feature
- Soft-start feature minimizes start-up shock and makes the tool start smoothly
ASSEMBLY
Always be sure that the tool is switched off and unplugged before carrying out any work on the tool.
Installing or removing the trimmer bit
- Do not tighten the collet nut without inserting a trimmer bit, or the collet cone will break.
- Use only the wrenches provided with the tool.
- Insert the trimmer bit all the way into the collet cone and tighten the collet nut securely with the two wrenches.
- To remove the bit, follow the installation procedure in reverse.
OPERATION
Set the base on the workpiece to be cut without the trimmer bit making any contact.
- Turn the tool on and wait until the trimmer bit attains full speed.
- Move the tool forward over the workpiece surface, keeping the base flush and advancing smoothly until the cutting is complete.
- When doing edge cutting, the workpiece surface should be on the left side of the trimmer bit in the feed direction.
- Workpiece
- Bit revolving direction
- View from the top of the tool 4. Feed direction
- When using the straight guide or the trimmer guide, be sure to keep it on the right side in the feed direction. This will help to keep it flush with the side of the workpiece.
- Feed direction
- Bit revolving direction
- Workpiece
- Straight guide
- Moving the tool forward too fast may cause a poor quality of cut or damage to the trimmer bit or motor. Moving the tool forward too slowly may burn and mar the cut. The proper feed rate will depend on the bit size, the kind of workpiece, and the depth of cut. Before beginning the cut on the actual workpiece, it is advisable to make a sample cut on a piece of scrap lumber. This will show exactly how the cut will look as well as enable you to check dimensions.
Templet guide
The templet guide provides a sleeve through which the trimmer bit passes, allowing the use of the trimmer with templet patterns.
- Loosen the clamping screw and then remove the guide holder and the chip deflector.
- Clamping screw 2. Guide holder 3. Chip deflector
- Loosen the screws and remove the base protector.
- Base protector
- Screws
- Place the templet guide on the base, and place the base protector again. Then secure the base protector by tightening the screws.
- Secure the templet to the workpiece. Place the tool on the templet and move the tool with the templet guide sliding along the side of the templet.
- Trimmer bit
- Base
- Base protector
- Templet
- Workpiece
- Templet guide
The workpiece will be cut a slightly different size from the templet. Allow for the distance (X) between the trimmer bit and the outside of the templet guide. The distance (X) can be calculated by using the following equation: Distance (X) = (outside diameter of the templet guide – trimmer bit diameter)
Straight guide
The straight guide is effectively used for straight cuts when chamfering.
- Attach the guide plate to the straight guide with the bolt and the wing nut.
- Bolt
- Guide plate
- Straight guide
- Wingnut
- Remove the guide holder and the chip deflector then attach the straight guide with the clamping screw.
- Clamping screw
- Straight guide
- Wing
- Base
- Loosen the wing nut on the straight guide and adjust the distance between the trimmer bit and the straight guide. At the desired distance, tighten the wing nut securely.
- When cutting, move the tool with the straight guide flush with the side of the workpiece.
Trimmer guide
Trimming, curved cuts in veneers for furniture and the like can be done easily with the trimmer guide. The guide roller rides the curve and assures a fine cut.
- Attach the chip deflector to the groove of the base.
- Install the trimmer guide and guide holder on the base with the clamping screw (A).
- Loosen the clamping screw (B) and adjust the distance between the trimmer bit and the trimmer guide by turning the adjusting screw (1 mm per turn). At the desired distance, tighten the clamping screw (B) to secure the trimmer guide in place.
- Adjusting screw
- Guide holder
- Trimmer guide 4. Chip deflector
- When cutting, move the tool with the guide roller riding the side of the workpiece.
- Workpiece
- Trimmer bit
- Guide roller
MAINTENANCE
- Always be sure that the tool is switched off and unplugged before attempting to perform inspection or maintenance.
- Never use gasoline, benzene, thinner, alcohol, or the like. Discoloration, deformation, or cracks may result.
- To maintain product SAFETY and RELIABILITY, repairs, and any other maintenance or adjustment should be performed by Makita Authorized or Factory Service Centers, always using Makita replacement parts.
Replacing carbon brushes
- Limit mark
- Check the carbon brushes regularly. Replace them when they wear down to the limit mark. Keep the carbon brushes clean and free to slip in the holders. Both carbon brushes should be replaced at the same time. Use only identical carbon brushes.
- Use a screwdriver to remove the brush holder caps.
- Take out the worn carbon brushes, insert the new ones, and secure the brush holder caps.
- Brush holder cap
OPTIONAL ACCESSORIES
- These accessories or attachments are recommended for use with your Makita tool specified in this manual. The use of any other accessories or attachments might present a risk of injury to persons. Only use accessory or attachment for its stated purpose.
- If you need any assistance with more details regarding these accessories, ask your local Makita Service Center.
- Some items in the list may be included in the tool package as standard accessories. They may differ from country to country.
Trimmer bits
Straight bit
| D | A | L1 | L2 |
| 6 | 20 | 50 | 15 |
| 1/4″ | |||
| 6 | 8 | 50 | 18 |
| 1/4″ | |||
| 6 | 6 | 50 | 18 |
| 1/4″ |
U-grooving bit
| D | A | L1 | L2 | R |
| 6 | 6 | 60 | 28 | 3 |
| 1/4″ |
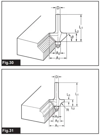
V-grooving bit
| D | A | L1 | L2 | θ |
| 1/4″ | 20 | 50 | 15 | 90° |
Drill point flush trimming bit
| D | A | L1 | L2 | L3 |
| 6 | 6 | 60 | 18 | 28 |
| 1/4″ |
Drill point double flush trimming bit
| D | A | L1 | L2 | L3 | L4 |
| 6 | 6 | 70 | 40 | 12 | 14 |
| 1/4″ |
Corner rounding bit
| D | A1 | A2 | L1 | L2 | L3 | R |
| 6 | 25 | 9 | 48 | 13 | 5 | 8 |
| 1/4″ | ||||||
| 6 | 20 | 8 | 45 | 10 | 4 | 4 |
| 1/4″ |
Chamfering bit
| D | A | L1 | L2 | L3 | θ |
| 6 | 23 | 46 | 11 | 6 | 30° |
| 6 | 20 | 50 | 13 | 5 | 45° |
| 6 | 20 | 49 | 14 | 2 | 60° |
Cove beading bit
| D | A | L1 | L2 | R |
| 6 | 20 | 43 | 8 | 4 |
| 6 | 25 | 48 | 13 | 8 |
Ball-bearing flush trimming bit
| D | A | L1 | L2 |
| 6 | 10 | 50 | 20 |
| 1/4″ |
Ball-bearing corner rounding bit
| D | A1 | A2 | L1 | L2 | L3 | R |
| 6 | 15 | 8 | 37 | 7 | 3.5 | 3 |
| 6 | 21 | 8 | 40 | 10 | 3.5 | 6 |
| 1/4″ | 21 | 8 | 40 | 10 | 3.5 | 6 |
Ball-bearing chamfering bit
| D | A1 | A2 | L1 | L2 | θ |
| 6 | 26 | 8 | 42 | 12 | 45° |
| 1/4″ | |||||
| 6 | 20 | 8 | 41 | 11 | 60° |
Ball-bearing beading bit
| D | A1 | A2 | A3 | L1 | L2 | L3 | R |
| 6 | 20 | 12 | 8 | 40 | 10 | 5.5 | 4 |
| 6 | 26 | 12 | 8 | 42 | 12 | 4.5 | 7 |
Ball-bearing cove beading bit
| D | A1 | A2 | A3 | A4 | L1 | L2 | L3 | R |
| 6 | 20 | 18 | 12 | 8 | 40 | 10 | 5.5 | 3 |
| 6 | 26 | 22 | 12 | 8 | 42 | 12 | 5 | 5 |
The ball-bearing roman ogee bit
| D | A1 | A2 | L1 | L2 | L3 | R1 | R2 |
| 6 | 20 | 8 | 40 | 10 | 4.5 | 2.5 | 4.5 |
| 6 | 26 | 8 | 42 | 12 | 4.5 | 3 | 6 |




















