makita 3709 Laminate Wood Trimmer

Explanation of general view
- 1-1. Base
- 1-2. Scale
- 1-3. Bit protrusion
- 1-4. Clamping nut
- 1-5. Adjusting screw
- 2-1. Switch lever
- 3-1. Loosen
- 3-2. Tighten
- 3-3. Hold
- 4-1. Feed direction
- 4-2. Bit revolving direction
- 4-3. Workpiece
- 4-4. Straight guide
- 6-1. Base protector
- 6-2. Screws
- 6-3. Screwdriver
- 7-1. Bit
- 7-2. Base
- 7-3. Templet
- 7-4. Workpiece
- 7-5. Templet guide
- 9-1. Bolt
- 9-2. Guide plate
- 9-3. Straight guide
- 9-4. Wing nut
- 10-1. Clamp screw (A)
- 10-2. Straight guide
- 10-3. Wing nut
- 10-4. Base
- 12-1. Wing nut
- 12-2. Guide plate
- 12-3. Straight guide
- 12-4. Center hole
- 12-5. Bolt
- 13-1. Wing nut
- 13-2. Guide plate
- 13-3. Straight guide
- 13-4. Center hole
- 13-5. Bolt
- 14-1. Nail
- 14-2. Center hole
- 14-3. Straight guide
- 16-1. Clamp screw (A)
- 16-2. Adjusting screw
- 16-3. Clamp screw (B)
- 16-4. Trimmer guide
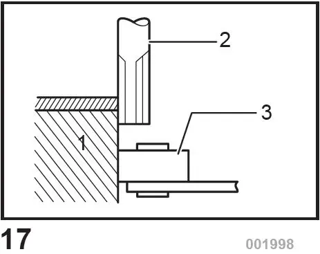
- 17-1. Workpiece
- 17-2. Bit
- 17-3. Guide roller
- 18-1. Limit mark
- 19-1. Brush holder cap
- 19-2. Screwdriver
SPECIFICATIONS
| Model | 3709 |
| Collet chuck capacity | 6 mm or 1/4″ |
| No load speed (min-1) | 30,000 |
| Overall length | 199 mm |
| Net weight | 1.5 kg |
| Safety class | /II |
- Due to our continuing program of research and development, the specifications herein are subject to change without notice.
- Specifications may differ from country to country.
- Weight according to EPTA-Procedure 01/2003
Intended use
The tool is intended for flush trimming and profiling of wood, plastic and similar materials.
Power supply
The tool should be connected only to a power supply of the same voltage as indicated on the nameplate, and can only be operated on single-phase AC supply. They are double-insulated and can, therefore, also be used from sockets without earth wire.
Noise
The typical A-weighted noise level determined according to EN60745:
- Sound pressure level (LpA) : 80 dB (A)
- Uncertainty (K) : 3 dB (A)
The noise level under working may exceed 80 dB (A).
Wear ear protection
Vibration
The vibration total value (tri-axial vector sum) determined according to EN60745:
- Work mode: rotation without load
- Vibration emission (ah): 2.5 m/s2 or less
- Uncertainty (K): 1.5 m/s2
- • The declared vibration emission value has been measured in accordance with the standard test method and may be used for comparing one tool with another.
• The declared vibration emission value may also be used in a preliminary assessment of exposure.
WARNING:
- The vibration emission during actual use of the power tool can differ from the declared emission value depending on the ways in which the tool is used.
- Be sure to identify safety measures to protect the operator that are based on an estimation of exposure in the actual conditions of use (taking account of all parts of the operating cycle such as the times when the tool is switched off and when it is running idle in addition to the trigger time).
For European countries only
EC Declaration of Conformity
Makita declares that the following Machine(s):
Designation of Machine:
- Trimmer
- Model No./ Type: 3709
Conforms to the following European Directives:
2006/42/EC
They are manufactured in accordance with the following standard or standardized documents:
EN60745
The technical file in accordance with 2006/42/EC is available from:
Makita, Jan-Baptist Vinkstraat 2, 3070, Belgium
3.8.2015 
Yasushi Fukaya
Director
Makita, Jan-Baptist Vinkstraat 2, 3070, Belgium
General Power Tool Safety
Warnings
WARNING
Read all safety warnings and all instructions. Failure to follow the warnings and instructions may result in electric shock, fire, and/or serious injury.
Save all warnings and instructions for future reference.
TRIMMER SAFETY WARNINGS
- Hold the power tool by insulated gripping surfaces, because the cutter may contact its own cord. Cutting a “live” wire may make exposed metal parts of the power tool “live” and shock the operator.
- Use clamps or another practical way to secure and support the workpiece to a stable platform.Holding the work by your hand or against the body leaves it unstable and may lead to loss of control.
- Wear hearing protection during an extended period of operation.
- Handle the bits very carefully.
- Check the bit carefully for cracks or damage before operation. Replace cracked or damaged bit immediately.
- Avoid cutting nails. Inspect for and remove all nails from the workpiece before operation.
- Hold the tool firmly.
- Keep hands away from rotating parts.
- Make sure the bit is not contacting the workpiece before the switch is turned on.
- Before using the tool on an actual workpiece, let it run for a while. Watch for vibration or wobbling that could indicate improperly installed bit.
- Be careful of the bit rotating direction and the feed direction.
- Do not leave the tool running. Operate the tool only when hand-held.
- Always switch off and wait for the bit to come to a complete stop before removing the tool from workpiece.
- Do not touch the bit immediately after operation; it may be extremely hot and could burn your skin.
- Do not smear the tool base carelessly with thinner, gasoline, oil or the like. They may cause cracks in the tool base.
- Use bits of the correct shank diameter suitable for the speed of the tool.
- Some material contains chemicals that may be toxic. Take caution to prevent dust inhalation and skin contact. Follow material supplier safety data.
- Always use the correct dust mask/respirator for the material and application you are working with.
SAVE THESE INSTRUCTIONS.
WARNING:
DO NOT let comfort or familiarity with product (gained from repeated use) replace strict adherence to safety rules for the subject product. MISUSE or failure to follow the safety rules stated in this instruction manual may cause serious personal injury.
FUNCTIONAL DESCRIPTION
CAUTION:
- Always be sure that the tool is switched off and unplugged before adjusting or checking the function on the tool.
Adjusting bit protrusion Fig.1
To adjust the bit protrusion, loosen the clamping nut and move the tool base up or down as desired by turning the adjusting screw. After adjusting, tighten the clamping nut firmly to secure the tool base.
Switch action Fig.2
To start the tool, move the switch lever to the I (ON) position. To stop the tool, move the switch lever to the O (OFF) position.
ASSEMBLY
CAUTION:
Always be sure that the tool is switched off and unplugged before carrying out any work on the tool.
Installing or removing trimmer bit Fig.3 
CAUTION:
- Use only the wrenches provided with the tool. Insert the bit all the way into the collet cone and tighten the collet nut securely with the two wrenches.
To remove the bit, follow the installation procedure in reverse.
OPERATION
Set the tool base on the workpiece to be cut without the bit making any contact. Then turn the tool on and wait until the bit attains full speed. Move the tool forward over the workpiece surface, keeping the tool base flush and advancing smoothly until the cutting is complete. When doing edge cutting, the workpiece surface should be on the left side of the bit in the feed direction.
- Workpiece
- Bit revolving direction
- View from the top of the tool
- Feed direction
NOTE:
Moving the tool forward too fast may cause a poor-quality of cut or damage to the bit or motor. Moving the tool forward too slowly may burn and mar the cut. The proper feed rate will depend on the bit size, the kind of workpiece, and the depth of cut. Before beginning the cut on the actual workpiece, it is advisable to make a sample cut on a piece of scrap lumber. This will show exactly how the cut will look as well as enable you to check the dimensions. Fig.4 
NOTE:
- When using the trimmer shoe, the straight guide or the trimmer guide, be sure to keep it on the right side in the feed direction. This will help to keep it flush with the side of the workpiece.
CAUTION:
Since excessive cutting may cause overload of the motor or difficulty in controlling the tool, the depth of cut should not be more than 3 mm at a pass when cutting grooves. When you wish to cut grooves more than 3 mm deep, make several passes with progressively deeper bit settings.
Templet guide Fig.5
The templet guide provides a sleeve through which the bit passes, allowing use of the trimmer with templet patterns.
Remove the chip deflector. Fig.6
Loosen the screws and remove the base protector. Place the templet guide on the base and replace the base protector. Then secure the base protector by tightening the screws.
Secure the templet to the workpiece. Place the tool on the templet and move the tool with the templet guide sliding along the side of the temple. Fig.7
NOTE:
The workpiece will be cut a slightly different size from the templet. Allow for the distance (X) between the router bit and the outside of the templet guide. The distance (X) can be calculated by using the following equation:
- Distance (X) = (outside diameter of the templet guide – router bit diameter) / 2
Straight guide (Accessory) Fig.8
The straight guide is effectively used for straight cuts when chamfering or grooving. Attach the guide plate to the straight guide with the bolt and the wing nut.
Fig.9
Remove the chip deflector.
Fig.10
Attach the straight guide with the clamp screw (A). Loosen the wing nut on the straight guide and adjust the distance between the bit and the straight guide. At the desired distance, tighten the wing nut securely.
When cutting, move the tool with the straight guide flush with the side of the workpiece. If the distance (A) between the side of the workpiece and the cutting position is too wide for the straight guide, or if the side of the workpiece is not straight, the straight guide cannot be used. In this case, firmly clamp a straight board to the workpiece and use it as a guide against the trimmer base. Feed the tool in the direction of the arrow. Fig.11

Circular work Fig.12
Circular work may be accomplished if you assemble the straight guide and guide plate as shown in the figures. Min. and max. the radius of circles to be cut (distance between the center of the circle and the center of bit) are as follows:
- Min.: 70 mm
- Max.: 221 mm
- For cutting circles between 70 mm and 121 mm in radius.
- For cutting circles between 121 mm and 221 mm in radius. Fig.13

NOTE:
- Circles between 172 mm and 186 mm in radius cannot be cut using this guide.
Align the center hole in the straight guide with the center of the circle to be cut. Drive a nail less than 6 mm in diameter into the center hole to secure the straight guide. Pivot the tool around the nail in a clockwise direction. Fig.14

Fig.15
Trimming, curved cuts in veneers for furniture and the like can be done easily with the trimmer guide. The guide roller rides the curve and assures a fine cut. Install the trimmer guide on the tool base with the clamp screw (A). Loosen the clamp screw (B) and adjust the distance between the bit and the trimmer guide by turning the adjusting screw (1 mm per turn). At the desired distance, tighten the clamp screw (B) to secure the trimmer guide in place.


Fig.16
When cutting, move the tool with the guide roller riding the side of the workpiece.
MAINTENANCE
CAUTION:
- Always be sure that the tool is switched off and unplugged before attempting to perform an inspection or maintenance.
- Never use gasoline, benzine, thinner, alcohol or the like. Discoloration, deformation or cracks may result.
Replacing carbon brushes Fig.18
Remove and check the carbon brushes regularly. Replace when they wear down to the limit mark. Keep the carbon brushes clean and free to slip in the holders. Both carbon brushes should be replaced at the same time. Use only identical carbon brushes. Use a screwdriver to remove the brush holder caps. Take out the worn carbon brushes, insert the new ones and secure the brush holder caps.
Fig.19
To maintain product SAFETY and RELIABILITY, repairs, any other maintenance or adjustment should be performed by Makita Authorized Service Centers, always using Makita replacement parts.
OPTIONAL ACCESSORIES
CAUTION:
These accessories or attachments are recommended for use with your Makita tool specified in this manual. The use of any other accessories or attachments might present a risk of injury to persons. Only use accessory or attachment for its stated purpose.
If you need any assistance for more details regarding these accessories, ask your local Makita Service Center.
Router bits
Straight bit Fig.20
| D | A | L 1 | L 2 | |
| 20 | 6 | 20 | 50 | 15 |
| 20E | 1/4″ | |||
| 8 | 6 | 8 | 50 | 18 |
| 8E | 1/4″ | |||
| 6 | 6 | 6 | 50 | 18 |
| 6E | 1/4″ |
“U” Grooving bit Fig.21 
| D | A | L 1 | L 2 | R | |
| 6 | 6 | 6 | 60 | 28 | 3 |
| 6E | 1/4″ |
“V” Grooving bit Fig.22
| D | A | L 1 | L 2 | |
| 1/4″ | 20 | 50 | 15 | 90 |
Drill point flush trimming bit Fig.23
| D | A | L 1 | L 2 | L 3 | |
| 6 | 6 | 6 | 60 | 18 | 28 |
| 6E | 1/4″ |
Drill point double flush trimming bit Fig.24
| D | A | L 1 | L 2 | L 3 | L 4 | |
| 6 | 6 | 6 | 70 | 40 | 12 | 14 |
| 6E | 1/4″ |
Corner rounding bit Fig.25
| D | A 1 | A 2 | L 1 | L 2 | L 3 | H | |
| 8R | 6 | 25 | 9 | 48 | 13 | 5 | 8 |
| 8RE | 1/4″ | ||||||
| 4R | 6 | 20 | 8 | 45 | 10 | 4 | 4 |
| 4RE | 1/4″ |
Chamfering bit Fig.26
| D | A | L 1 | L 2 | L 3 | |
| 6 | 23 | 46 | 11 | 6 | 30 |
| 6 | 20 | 50 | 13 | 5 | 45 |
| 6 | 20 | 49 | 14 | 2 | 60 |
Cove beading bit Fig.27
| D | A | L 1 | L 2 | R |
| 6 | 20 | 43 | 8 | 4 |
| 6 | 25 | 48 | 13 | 8 |
Ball bearing flush trimming bit Fig.28
| D | A | L 1 | L 2 |
| 6 | 10 | 50 | 20 |
| 1/4″ |
Ball bearing corner rounding bit Fig.29
| D | A 1 | A 2 | L 1 | L 2 | L 3 | R |
| 6 | 15 | 8 | 37 | 7 | 3.5 | 3 |
| 6 | 21 | 8 | 40 | 10 | 3.5 | 6 |
| 1/4″ | 21 | 8 | 40 | 10 | 3.5 | 6 |
Ball bearing chamfering bit Fig.30
| D | A 1 | A 2 | L 1 | L 2 | |
| 6 | 26 | 8 | 42 | 12 | 45 |
| 1/4″ | |||||
| 6 | 20 | 8 | 41 | 11 | 60 |
Ball bearing beading bit Fig.3 
| D | A 1 | A 2 | A 3 | L 1 | L 2 | L 3 | R |
| 6 | 20 | 12 | 8 | 40 | 10 | 5.5 | 4 |
| 6 | 26 | 12 | 8 | 42 | 12 | 4.5 | 7 |
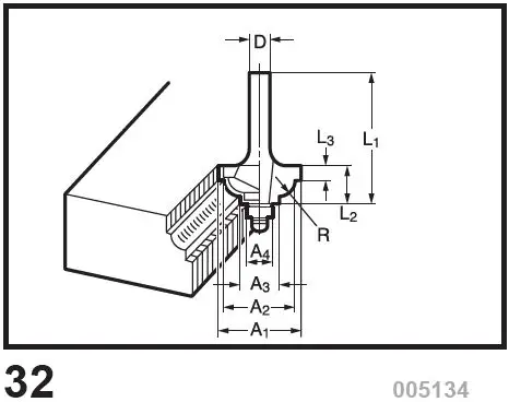
Ball bearing cove beading bit Fig.32
| D | A 1 | A 2 | A 3 | A 4 | L 1 | L 2 | L 3 | R |
| 6 | 20 | 18 | 12 | 8 | 40 | 10 | 5.5 | 3 |
| 6 | 26 | 22 | 12 | 8 | 42 | 12 | 5 | 5 |
Ball bearing roman ogee bit Fig.33
| D | A 1 | A 2 | L 1 | L 2 | L 3 | R1 | R2 |
| 6 | 20 | 8 | 40 | 10 | 4.5 | 2.5 | 4.5 |
| 6 | 26 | 8 | 42 | 12 | 4.5 | 3 | 6 |
NOTE:
Some items in the list may be included in the tool package as standard accessories. They may differ from country to country.
Makita Jan-Baptist Vinkstraat 2, 3070, Belgium Makita Corporation Anjo, Aichi, Japan. www.ma48kita.com.





















