makita RT0700C Wood Trimmer

Original instructions

Explanation of general view
- 1-1. Bit protrusion
- 1-2. Tool base
- 1-3. Scale
- 1-4. Locking lever
- 1-5. Adjusting screw
- 1-6. Hex nut
- 2-1. Switch
- 2-2. OFF (O) side
- 2-3. ON ( I ) side
- 3-1. Speed adjusting dial
- 4-1. Tighten
- 4-2. Loosen
- 4-3. Hold
- 5-1. Tighten
- 5-2. Loosen
- 5-3. Shaft lock
- 6-1. Feed direction
- 6-2. Bit revolving direction
- 6-3. Workpiece
- 6-4. Straight guide
- 8-1. Base protector
- 8-2. Screws
- 8-3. Screwdriver
- 9-1. Straight bit
- 9-2. Base
- 9-3. Templet
- 9-4. Distance (X)
- 9-5. Workpiece
- 9-6. Templet guide 10
- 9-7. Base protector
- 11-1. Bolt
- 11-2. Guide plate
- 11-3. Straight guide
- 11-4. Wing nut
- 12-1. Clamp screw (A)
- 12-2. Straight guide
- 12-3. Wing nut
- 12-4. Base
- 14-1. Wing nut
- 14-2. Guide plate
- 14-3. Straight guide
- 14-4. Center hole
- 14-5. Bolt
- 15-1. Wing nut
- 15-2. Guide plate
- 15-3. Straight guide
- 15-4. Center hole
- 15-5. Bolt
- 16-1. Nail
- 16-2. Center hole
- 16-3. Straight guide
- 18-1. Clamp screw (A)
- 18-2. Adjusting screw
- 18-3. Clamp screw (B)
- 18-4. Trimmer guide
- 19-1. Workpiece
- 19-2. Bit
- 19-3. Guide roller
- 20-1. Clamping screws
- 21-1. Base protector
- 21-2. Screw
- 23-1. Pulley
- 23-2. Collet nut
- 23-3. Collet cone
- 24-1. Wrench
- 24-2. Pulley
- 24-3. Shaft lock
- 25-1. Collet nut
- 25-2. Collet cone
- 27-1. Pulley
- 27-2. Belt
- 28-1. Locking lever
- 28-2. Offset base
- 29-1. Wrench
- 29-2. Hex wrench
- 29-3. Bit
- 30-1. Screws
- 30-2. Offset base plate
- 30-3. Upper section of the offset base
- 31-1. Bar type grip (optional accessory)
- 31-2. Grip attachment (optional accessory)
- 31-3. Offset base plate
- 31-4. Trimmer base assembly (optional accessory)
- 32-1. Screw
- 32-2. Knob type grip
- 32-3. Offset base plate
- 34-1. Plunge base
- 34-2. Grip
- 35-1. Screw
- 35-2. Knob
- 36-1. Bar type grip (optional accessory)
- 37-1. Adjusting knob
- 37-2. Lock lever
- 37-3. Depth pointer
- 37-4. Stopper pole setting nut
- 37-5. Fast-feed button
- 37-6. Stopper pole
- 37-7. Stopper block
- 37-8. Adjusting bolt
- 38-1. Feed direction
- 38-2. Bit revolving direction
- 38-3. Workpiece
- 38-4. Straight guide
- 40-1. Guide bar
- 40-2. Wing bolt
- 40-3. Straight guide
- 43-1. Screw
- 43-2. Base
- 43-3. Templet
- 44-1. Bit
- 44-2. Base
- 44-3. Templet
- 44-4. Workpiece
- 44-5. Distance (X)
- 44-6. Outside diameter of the templet guide
- 44-7. Templet guide
- 46-1. Limit mark
- 47-1. Screwdriver
- 47-2. Brush holder cap
SPECIFICATIONS
| Model | RT0700C |
| Collet chuck capacity | 6 mm, 8 mm, 1/4″ or 3/8″ |
| No load speed (min-1) | 10,000 – 30,000 |
| Overall length | 200 mm |
| Net weight | 1.8 kg |
| Safety class | /II |
- Due to our continuing programmed of research and development, the specifications herein are subject to change without notice.
- Specifications may differ from country to country.
- Weight according to EPTA-Procedure 01/2003
Intended use
The tool is intended for flush trimming and profiling of wood, plastic and similar materials.
Power supply
The tool should be connected only to a power supply of the same voltage as indicated on the nameplate, and can only be operated on single-phase AC supply. They are double-insulated in accordance with European Standard and can, therefore, also be used from sockets without earth wire.
Noise
The typical A-weighted noise level determined according to EN60745:
- Sound pressure level (LpA) : 82 dB(A)
- Sound power level (LWA) : 93 dB(A)
- Uncertainty (K) : 3 dB(A)
Wear ear protection
Vibration
The vibration total value (tri-axial vector sum) determined according to EN60745:
- Work mode : rotation without load
- Vibration emission (ah) : 2.5 m/s2 or less
- Uncertainty (K) : 1.5 m/s2
- Work mode : cutting grooves in MDF
- Vibration emission (ah) : 3.5 m/s2
- Uncertainty (K) : 1.5 m/s2
- The declared vibration emission value has been measured in accordance with the standard test method and may be used for comparing one tool with another.
- The declared vibration emission value may also be used in a preliminary assessment of exposure.
WARNING:
- The vibration emission during actual use of the power tool can differ from the declared emission value depending on the ways in which the tool is used.
- Be sure to identify safety measures to protect the operator that are based on an estimation of exposure in the actual conditions of use (taking account of all parts of the operating cycle such as the times when the tool is switched off and when it is running idle in addition to the trigger time).
For European countries only
EC Declaration of Conformity
- We Makita Corporation as the responsible manufacturer declare that the following Makita machine(s):
- Designation of Machine:
- Trimmer
- Model No./ Type: RT0700C
- are of series production and
- Conforms to the following European Directives:
- 2006/42/EC
- And are manufactured in accordance with the following standards or standardized documents:
- EN60745
- The technical documentation is kept by our authorized representative in Europe who is:
- Makita International Europe Ltd.
- Michigan Drive, Longwall,
- Milton Keynes, MK15 8JD, England
Tomoyasu Kato
General Power Tool Safety
Warnings
WARNING Read all safety warnings and all instructions. Failure to follow the warnings and instructions may result in electric shock, fire and/or serious injury.
Save all warnings and instructions for future reference.
TRIMMER SAFETY WARNINGS
- Hold power tool by insulated gripping surfaces, because the cutter may contact its own cord. Cutting a “live” wire may make exposed metal parts of the power tool “live” and shock the operator.
- Use clamps or another practical way to secure and support the workpiece to a stable platform. Holding the work by your hand or against the body leaves it unstable and may lead to loss of control.
- Wear hearing protection during extended period of operation.
- Handle the bits very carefully.
- Check the bit carefully for cracks or damage before operation. Replace cracked or damaged bit immediately.
- Avoid cutting nails. Inspect for and remove all nails from the workpiece before operation.
- Hold the tool firmly.
- Keep hands away from rotating parts.
- Make sure the bit is not contacting the workpiece before the switch is turned on.
- Before using the tool on an actual workpiece, let it run for a while. Watch for vibration or wobbling that could indicate improperly installed bit.
- Be careful of the bit rotating direction and the feed direction.
- Do not leave the tool running. Operate the tool only when hand-held.
- Always switch off and wait for the bit to come to a complete stop before removing the tool from workpiece.
- Do not touch the bit immediately after operation; it may be extremely hot and could burn your skin.
- Do not smear the tool base carelessly with thinner, gasoline, oil or the like. They may cause cracks in the tool base.
- Use bits of the correct shank diameter suitable for the speed of the tool.
- Some material contains chemicals which may be toxic. Take caution to prevent dust inhalation and skin contact. Follow material supplier safety data.
- Always use the correct dust mask/respirator for the material and application you are working with.
SAVE THESE INSTRUCTIONS.
WARNING:
DO NOT let comfort or familiarity with product (gained from repeated use) replace strict adherence to safety rules for the subject product. MISUSE or failure to follow the safety rules stated in this instruction manual may cause serious personal injury.
FUNCTIONAL DESCRIPTION
CAUTION:
- Always be sure that the tool is switched off and unplugged before adjusting or checking function on the tool.
Adjusting bit protrusion
Fig.1
To adjust the bit protrusion, loosen the locking lever and move the tool base up or down as desired by turning the adjusting screw. After adjusting, tighten the locking lever firmly to secure the tool base.
NOTE:
- When the tool is not secured even if the locking lever is tightened, tighten the hex nut and then tighten the locking lever.
Switch action
Fig.2 
CAUTION:
- Before plugging in the tool, always check to see that the tool is switched off.
To start the tool, press the “ON ( I )” side of the switch. To stop the tool, press the “OFF (O)” side of the switch.
Electronic function
The tool equipped with electronic function are easy to operate because of the following features.
Constant speed control
Electronic speed control for obtaining constant speed. Possible to get fine finish, because the rotating speed is kept constant even under load condition.
Soft start
Soft-start feature minimizes start-up shock, and makes the tool start smoothly.
Speed adjusting dial
Fig.3
The tool speed can be changed by turning the speed adjusting dial to a given number setting from 1 to 6. Higher speed is obtained when the dial is turned in the direction of number 6. And lower speed is obtained when it is turned in the direction of number 1.
This allows the ideal speed to be selected for optimum material processing, i.e. the speed can be correctly adjusted to suit the material and bit diameter.
Refer to the table for the relationship between the number settings on the dial and the approximate tool speed.
| Number | min-1 |
| 1 | 10,000 |
| 2 | 12,000 |
| 3 | 17,000 |
| 4 | 22,000 |
| 5 | 27,000 |
| 6 | 30,000 |
CAUTION:
- If the tool is operated continuously at low speeds for a long time, the motor will get overloaded, resulting in tool malfunction.
- The speed adjusting dial can be turned only as far as 6 and back to 1. Do not force it past 6 or 1, or the speed adjusting function may no longer work.
ASSEMBLY
CAUTION:
- Always be sure that the tool is switched off and unplugged before carrying out any work on the tool.
Installing or removing trimmer bit
Fig.4
Fig.5
CAUTION:
- Do not tighten the collet nut without inserting a bit, or the collet cone will break.
- Use only the wrenches provided with the tool. Insert the bit all the way into the collet cone and tighten the collet nut securely with the two wrenches or by pressing the shaft lock and using the provided wrench. To remove the bit, follow the installation procedure in reverse.
OPERATION
For the trimmer base

- Dust nozzle
- Thumb screw
- Trimmer base
WARNING:
- Before using the tool with the trimmer base, always install the dust nozzle on the trimmer base.
Set the tool base on the workpiece to be cut without the bit making any contact. Then turn the tool on and wait until the bit attains full speed. Move the tool forward over the workpiece surface, keeping the tool base flush and advancing smoothly until the cutting is complete. When doing edge cutting, the workpiece surface should be on the left side of the bit in the feed direction.
- Workpiece
- Bit revolving direction
- View from the top of the tool
- Feed direction
NOTE:
- Moving the tool forward too fast may cause a poor quality of cut, or damage to the bit or motor. Moving the tool forward too slowly may burn and mar the cut. The proper feed rate will depend on the bit size, the kind of workpiece and depth of cut. Before beginning the cut on the actual workpiece, it is advisable to make a sample cut on a piece of scrap lumber. This will show exactly how the cut will look as well as enable you to check dimensions.
- When using the trimmer shoe, the straight guide or the trimmer guide, be sure to keep it on the right side in the feed direction. This will help to keep it flush with the side of the workpiece.
Fig.6
CAUTION:
- Since excessive cutting may cause overload of the motor or difficulty in controlling the tool, the depth of cut should not be more than 3 mm at a pass when cutting grooves. When you wish to cut grooves more than 3 mm deep, make several passes with progressively deeper bit settings.
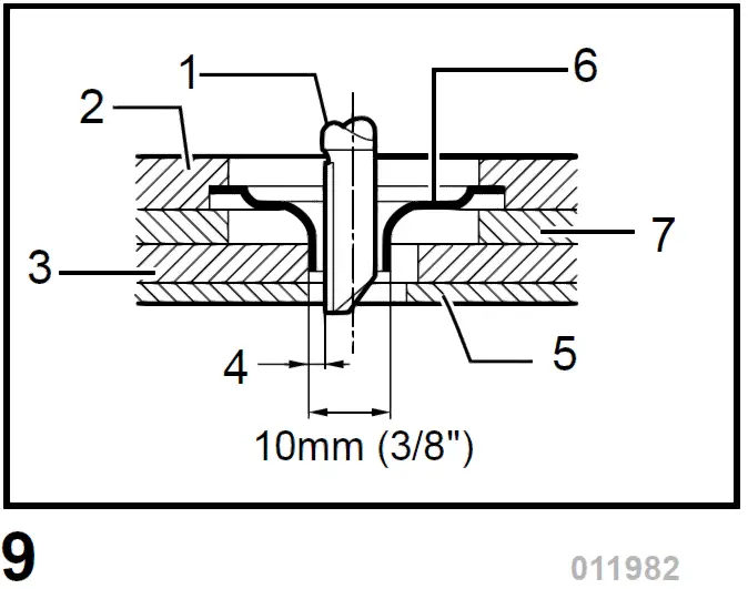
Templet guide (optional accessory)
Fig.7
The templet guide provides a sleeve through which the bit passes, allowing use of the trimmer with templet patterns. Loosen the screws and remove the base protector. Place the templet guide on the base and replace the base protector. Then secure the base protector by tightening the screws.
Fig.8

Secure the templet to the workpiece. Place the tool on the templet and move the tool with the templet guide sliding along the side of the templet.
Fig.9

NOTE:
- The workpiece will be cut a slightly different size from the templet. Allow for the distance (X) between the router bit and the outside of the templet guide. The distance (X) can be calculated by using the following equation:
Distance (X) = (outside diameter of the templet guide – router bit diameter) / 2
Straight guide (optional accessory)
Fig.10
The straight guide is effectively used for straight cuts when chamfering or grooving.
Fig.11 
Attach the guide plate to the straight guide with the bolt and the wing nut.
Fig.12
Attach the straight guide with the clamp screw (A). Loosen the wing nut on the straight guide and adjust the distance between the bit and the straight guide. At the desired distance, tighten the wing nut securely.
When cutting, move the tool with the straight guide flush with the side of the workpiece.
If the distance (A) between the side of the workpiece and the cutting position is too wide for the straight guide, or if the side of the workpiece is not straight, the straight guide cannot be used. In this case, firmly clamp a straight board to the workpiece and use it as a guide against the trimmer base. Feed the tool in the direction of the arrow.
Fig.13 
Circular work
Fig.14 
Circular work may be accomplished if you assemble the straight guide and guide plate as shown in the figures. Min. and max. radius of circles to be cut (distance between the center of circle and the center of bit) are as follows:
- Min.: 70 mm
- Max.: 221 mm
For cutting circles between 70 mm and 121 mm in radius. For cutting circles between 121 mm and 221 mm in radius.
Fig.15 
NOTE:
- Circles between 172 mm and 186 mm in radius cannot be cut using this guide.
Fig.16
Align the center hole in the straight guide with the center of the circle to be cut. Drive a nail less than 6 mm in diameter into the center hole to secure the straight guide.
Pivot the tool around the nail in clockwise direction.
Trimmer guide (optional accessory)
Fig.17

Trimming, curved cuts in veneers for furniture and the like can be done easily with the trimmer guide. The guide roller rides the curve and assures a fine cut.
Fig.18 
Install the trimmer guide on the tool base with the clamp screw (A). Loosen the clamp screw (B) and adjust the distance between the bit and the trimmer guide by turning the adjusting screw (1 mm per turn). At the desired distance, tighten the clamp screw (B) to secure the trimmer guide in place.
Fig.19 
When cutting, move the tool with the guide roller riding the side of the workpiece.
Tilt base (optional accessory)
Tilt base (optional accessory) is convenient for chamfering.
Fig.20 
- Place the tool onto the tilt base and close the locking lever at the desired protrusion of the bit. For desired angle,
- tighten the clamping screws on its sides.
- Firmly clamp a straight board to the workpiece and use it as a guide against the tilt base. Feed the tool in the direction of the arrow.
- Base protector removed from the tilt base (optional accessory)
- Mounting the base protector which has been removed from the tilt base on the trimmer base allows the change of the trimmer base from the round base to a square base.
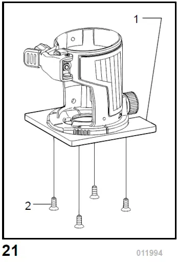
- For another application, remove the base protector from the tilt base by loosening and removing four screws.
Fig.21 
And then mount the base protector on the trimmer base.
Offset base (optional accessory)
Fig.22

- Offset base (optional accessory) is convenient for work in a tight area such as a corner.
Fig.23
Before installing the tool on the offset base, remove the collet nut and collet cone by loosening the collet nut.
Fig.24
Install the pulley on the tool by pressing the shaft lock and firmly tightening the pulley with a wrench.
Fig.25
Place the collet cone and screw the collet nut on the offset base as shown in the figure.
Fig.26
Mount the tool on the offset base
Fig.27

Put an end of the belt over the pulley using a screwdriver and make sure that its entire belt width fits over the pulley completely.
Fig.28
Secure it with a locking lever on the offset base.
Fig.29
To install the bit, fall the tool with the offset base on its side. Insert the hex wrench into the hole in the offset base. With the hex wrench held in that position, insert the bit into the collet cone on the shaft of the offset base from the opposite side and tighten the collet nut firmly with a wrench.
To remove the bit at replacement, follow the installation procedure in reverse.
- Offset base (optional accessory) can also be used with a trimmer base and a grip attachment (optional accessory) for more stability.
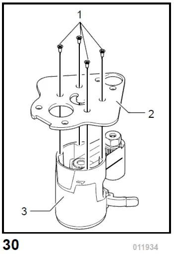
Fig.30
Loosen the screws and remove the upper section from the offset base. Put aside the upper section of the offset base.
Fig.31
Mount the trimmer base with four screws and the grip attachment (optional accessory) with two screws on the offset base plate.
Screw a bar type grip (optional accessory) onto the grip attachment.
Fig.32
In another way of use, the knob type grip which is removed from a plunge base (optional accessory) can be installed on the grip attachment. To install the knob type grip, place it on the grip attachment and secure it with a screw.
Fig.33
When using as a router only with a plunge base (optional accessory)
CAUTION:
- When using as a router, hold the tool firmly with both hands.
Fig.34
To use the tool as a router, install the tool on a plunge base (optional accessory) by pressing it down fully. Either knob type grip or bar type grip (optional accessory) can be used according to your work.
Fig.35
To use the bar type grip (optional accessory), loosen the screw and remove the knob type grip.
Fig.36
- And then screw the bar type grip on the base.
Adjusting the depth of cut when using the plunge base (optional accessory)
Fig.37
Place the tool on a flat surface. Loosen the lock lever and lower the tool body until the bit just touches the flat surface. Tighten the lock lever to lock the tool body.
Turn the stopper pole setting nut counterclockwise. Lower the stopper pole until it makes contact with the adjusting bolt. Align the depth pointer with the “0” graduation. The depth of cut is indicated on the scale by the depth pointer. While pressing the fast-feed button, raise the stopper pole until the desired depth of cut is obtained. Minute depth adjustments can be obtained by turning the adjusting knob (1 mm per turn).
By turning the stopper pole setting nut clockwise, you can fasten the stopper pole firmly. Now, your predetermined depth of cut can be obtained by loosening the lock lever and then lowering the tool body until the stopper pole makes contact with the adjusting hex bolt of the stopper block.
Always firmly hold the tool by both grip during operation. Set the tool base on the workpiece to be cut without the bit making any contact. Then turn the tool on and wait until the bit attains full speed. Lower the tool body and move the tool forward over the workpiece surface, keeping the tool base flush and advancing smoothly until the cutting is complete.
When doing edge cutting, the workpiece surface should be on the left side of the bit in the feed direction.
- Workpiece
- Bit revolving direction
- View from the top of the tool
- Feed direction
NOTE:
- Moving the tool forward too fast may cause a poor quality of cut, or damage to the bit or motor. Moving the tool forward too slowly may burn and mar the cut. The proper feed rate will depend on the bit size, the kind of workpiece and depth of cut. Before beginning the cut on the actual workpiece, it is advisable to make a sample cut on a piece of scrap lumber. This will show exactly how the cut will look as well as enable you to check dimensions.
- When using the straight guide, be sure to install it on the right side in the feed direction. This will help to keep it flush with the side of the workpiece.
Fig.38 
Straight guide when using as a router (needed to use with guide holder (optional accessory))
The straight guide is effectively used for straight cuts when chamfering or grooving.
- Bolt
- Guide holder
- Wing nut
- Bolt
- Wing nut
- Guide plate
- Straight guide
- Wing bolts
Install the straight guide on the guide holder (optional accessory) with the wing nut.
Insert the guide holder into the holes in the plunge base and tighten the wing bolts. To adjust the distance between the bit and the straight guide, loosen the wing nut. At the desired distance, tighten the wing nut to secure the straight guide in place.
Straight guide (optional accessory)
Fig.39
The straight guide is effectively used for straight cuts when chamfering or grooving.
Fig.40
To install the straight guide, insert the guide bars into the holes in the plunge base. Adjust the distance between the bit and the straight guide. At the desired distance, tighten the wing bolts to secure the straight guide in place. When cutting, move the tool with the straight guide flush with the side of the workpiece.
Fig.41
If the distance (A) between the side of the workpiece and the cutting position is too wide for the straight guide, or if the side of the workpiece is not straight, the straight guide cannot be used. In this case, firmly clamp a straight board to the workpiece and use it as a guide against the router base. Feed the tool in the direction of the arrow.
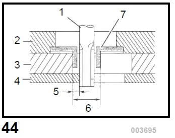
Templet guide (optional accessory)
Fig.42
The templet guide provides a sleeve through which the bit passes, allowing use of the tool with templet patterns. To install the templet guide, loosen the screws on the tool base, insert the templet guide and then tighten the screws.
Fig.43
Secure the templet to the workpiece. Place the tool on the templet and move the tool with the templet guide sliding along the side of the templet.
Fig.44
NOTE:
- The workpiece will be cut a slightly different size from the templet. Allow for the distance (X) between the bit and the outside of the templet guide. The distance (X) can be calculated by using the following equation:
Distance (X) = (outside diameter of the templet guide – bit diameter) / 2
Dust nozzle
sets For the trimmer base

- Dust nozzle
- Thumb screw
- Trimmer base
For the plunge base (optional accessory)
- Dust nozzle
- Thumb screw
Use the dust nozzle for dust extraction. Install the dust nozzle on the tool base using the thumb screw so that protrusion on the dust nozzle fit to the notch in the tool base.
Then connect a vacuum cleaner to the dust nozzle.
Fig.45
MAINTENANCE
CAUTION:
- Always be sure that the tool is switched off and unplugged before attempting to perform inspection or maintenance.
- Never use gasoline, benzine, thinner, alcohol or the like. Discoloration, deformation or cracks may result.
Replacing carbon brushes
Fig.46
Remove and check the carbon brushes regularly. Replace when they wear down to the limit mark. Keep the carbon brushes clean and free to slip in the holders. Both carbon brushes should be replaced at the same time. Use only identical carbon brushes.
Fig.47
Use a screwdriver to remove the brush holder caps. Take out the worn carbon brushes, insert the new ones and secure the brush holder caps.
To maintain product SAFETY and RELIABILITY, repairs, any other maintenance or adjustment should be performed by Makita Authorized Service Centers, always using Makita replacement parts.
OPTIONAL ACCESSORIES
CAUTION:
- These accessories or attachments are recommended for use with your Makita tool specified in this manual. The use of any other accessories or attachments might present a risk of injury to persons. Only use accessory or attachment for its stated purpose.
If you need any assistance for more details regarding these accessories, ask your local Makita Service Center.
- Straight & groove forming bits
- Edge forming bits
- Laminate trimming bits
- Straight guide assembly
- Trimmer guide assembly
- Trimmer base assembly
- Tilt base assembly
- Plunge base assembly
- Offset base assembly
- Templet guide
- Collet cone 6 mm
- Collet cone 6.35 mm (1/4″)
- Collet cone 8 mm
- Collet cone 9.53 mm (3/8″)
- Wrench 13
- Wrench 22
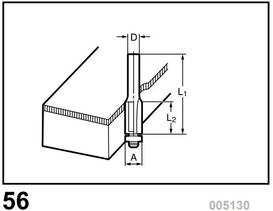
Trimmer bits
Straight bit
Fig.48
| D | A | L 1 | L 2 | |
| 20 | 6 | 20 | 50 | 15 |
| 20E | 1/4″ | |||
| 8 | 8 | 8 | 60 | 25 |
| 8 | 6 | 50 | 18 | |
| 8E | 1/4″ | |||
| 6 | 6 | 6 | 50 | 18 |
| 6E | 1/4″ |
“U” Grooving bit
Fig.49 

“V” Grooving bit
Fig.50 

Drill point flush trimming bit
Fig.51

Drill point double flush trimming bit
Fig.52


Corner rounding bit
Fig.53 

Chamfering bit
Fig.54

Cove beading bit
Fig.55

Ball bearing flush trimming bit
Fig.56

Ball bearing corner rounding bit
Fig.57

Ball bearing chamfering bit
Fig.58 

Ball bearing beading bit
Fig.59 

Ball bearing cove beading bit
Fig.60

Ball bearing roman ogee bit
Fig.61 

NOTE:
- Some items in the list may be included in the tool package as standard accessories. They may differ from country to country.




















