makita M1901 Planer Instruction Manual

SPECIFICATIONS
| Model: | M1901 |
| Planing width | 82 mm |
| Planing depth | 2 mm |
| Shiplapping depth | 9 mm |
| No load speed | 16,000 min-1 |
| Overall length | 285 mm |
| Net weight | 2.7 kg |
| Safety class | /II |
- Due to our continuing program of research and development, the specifications herein are subject to change without notice.
- Specifications may differ from country to country.
- Weight according to EPTA-Procedure 01/2003
Symbols
The following show the symbols used for the equipment.
Be sure that you understand their meaning before use.
Read instruction manual
DOUBLE INSULATION
Only for EU countries Do not dispose of electric equipment together with household waste material! In observance of the European Directive, on
Waste Electric and Electronic Equipment and its implementation in accordance with national law, electric equipment that have reached the end of their life must be collected
separately and returned to an environmentally compatible recycling facility.
Intended use
The tool is intended for planing wood.
Power supply
The tool should be connected only to a power supply of the same voltage as indicated on the nameplate, and can only be operated on single-phase AC supply. They
are double-insulated and can, therefore, also be used from sockets without earth wire.
Noise
The typical A-weighted noise level determined according to EN60745: Sound pressure level (LpA) : 85 dB(A) Sound power level (LWA) : 96 dB (A) Uncertainty (K) : 3 dB(A)
WARNING: Wear ear protection.
Vibration
The vibration total value (tri-axial vector sum) determined according to EN60745:
Work mode: planing softwood Vibration emission (ah) : 3.5 m/s2 Uncertainty (K) : 1.5 m/s2.
NOTE: The declared vibration emission value has been measured in accordance with the standard test method and may be used for comparing one tool with another.
NOTE: The declared vibration emission value may also be used in a preliminary assessment of exposure.
WARNING: The vibration emission during actual use of the power tool can differ from the declared emission value depending on the ways in which the tool is used.
WARNING: Be sure to identify safety measures to protect the operator that are based on an estimation of exposure in the actual conditions of use (taking account of all parts of the operating cycle such as the times when the tool is switched off and when it is running idle in addition to the trigger time).
EC Declaration of Conformity
For European countries only Makita declares that the following Machine(s): Designation of Machine: Planer Model No./ Type: M1901
Conforms to the following European Directives: 2006/42/EC
They are manufactured in accordance with the following standard or standardized documents: EN60745
The technical file in accordance with 2006/42/EC is available from: Makita, Jan-Baptist Vinkstraat 2, 3070, Belgium 17.8.2015.
General power tool safety warnings
WARNING: Read all safety warnings and all instructions. Failure to follow the warnings and instructions may result in electric shock, fire and/or serious injury.
Save all warnings and instructions for future reference.
The term “power tool” in the warnings refers to your mains-operated (corded) power tool or battery-operated (cordless) power tool.
Work area safety
- Keep work area clean and well lit. Cluttered or dark areas invite accidents.
- Do not operate power tools in explosive atmospheres, such as in the presence of flammable liquids, gases or dust. Power tools create sparks which may ignite the dust or fumes.
- Keep children and bystanders away while operating a power tool. Distractions can cause you to lose control.
Electrical Safety
- Power tool plugs must match the outlet. Never modify the plug in any way. Do not use any adapter plugs with earthed (grounded) power tools. Unmodified plugs and matching outlets will reduce risk of electric shock.
- Avoid body contact with earthed or grounded surfaces such as pipes, radiators, ranges and refrigerators. There is an increased risk of electric shock if your body is earthed or grounded.
- Do not expose power tools to rain or wet conditions. Water entering a power tool will increase the risk of electric shock.
- Do not abuse the cord. Never use the cord for carrying, pulling or unplugging the power tool. Keep cord away from heat, oil, sharp edges or moving parts. Damaged or entangled cords increase the risk of electric shock.
- When operating a power tool outdoors, use an extension cord suitable for outdoor use. Use of a cord suitable for outdoor use reduces the risk of electric shock.
- If operating a power tool in a damp location is unavoidable, use a residual current device (RCD) protected supply. Use of an RCD reduces the risk of electric shock.
- Use of power supply via an RCD with a rated residual current of 30 mA or less is always recommended.
Personal Safety
- Stay alert, watch what you are doing and use common sense when operating a power tool.
Do not use a power tool while you are tired or under the influence of drugs, alcohol or medication.
A moment of inattention while operating power tools may result in serious personal injury. - Use personal protective equipment. Always wear eye protection. Protective equipment such as dust mask, non-skid safety shoes, hard hat, or hearing protection used for appropriate conditions will reduce personal injuries.
- Prevent unintentional starting. Ensure the switch is in the off-position before connecting to power source and/or battery pack, picking up or carrying the tool. Carrying power tools with your finger on the switch or energising power tools that have the switch on invites accidents.
- Remove any adjusting key or wrench before turning the power tool on. A wrench or a key left attached to a rotating part of the power tool may result in personal injury.
- Do not overreach. Keep proper footing and balance at all times. This enables better control of the power tool in unexpected situations.
- Dress properly. Do not wear loose clothing or jewellery. Keep your hair, clothing, and gloves away from moving parts. Loose clothes, jewellery or long hair can be caught in moving parts.
- If devices are provided for the connection of dust extraction and collection facilities, ensure these are connected and properly used. Use of dust collection can reduce dust-related hazards.
Power tool use and care
- Do not force the power tool. Use the correct power tool for your application. The correct power tool will do the job better and safer at the rate for which it was designed.
- Do not use the power tool if the switch does not turn it on and off. Any power tool that cannot be controlled with the switch is dangerous and must be repaired.
- Disconnect the plug from the power source and/or the battery pack from the power tool before making any adjustments, changing accessories, or storing power tools. Such preventive safety measures reduce the risk of starting the power tool accidentally.
- Store idle power tools out of the reach of children and do not allow persons unfamiliar with the power tool or these instructions to operate the power tool. Power tools are dangerous in the hands of untrained users.
- Maintain power tools. Check for misalignment or binding of moving parts, breakage of parts and any other condition that may affect the power tool’s operation. If damaged, have the power tool repaired before use. Many accidents are caused by poorly maintained power tools.
- Keep cutting tools sharp and clean. Properly maintained cutting tools with sharp cutting edges are less likely to bind and are easier to control.
- Use the power tool, accessories and tool bits etc. in accordance with these instructions, taking into account the working conditions and the work to be performed. Use of the power tool for operations different from those intended could result in a hazardous situation.
Service
- Have your power tool serviced by a qualified repair person using only identical replacement parts. This will ensure that the safety of the power tool is maintained.
- Follow instruction for lubricating and changing accessories.
- Keep handles dry, clean and free from oil and grease.
Planer safety warnings
- Wait for the cutter to stop before setting the tool down. An exposed rotating cutter may engage the surface leading to possible loss of control and serious injury.
- Hold the power tool by insulated gripping surfaces only, because the cutter may contact its own cord. Cutting a “live” wire may make exposed metal parts of the power tool “live” and could give the operator an electric shock.
- Use clamps or another practical way to secure and support the workpiece to a stable platform. Holding the work by your hand or against the body leaves it unstable and may lead to loss of control.
- Rags, cloth, cord, string and the like should never be left around the work area.
- Avoid cutting nails. Inspect for and remove all nails from the workpiece before operation.
- Use only sharp blades. Handle the blades very carefully.
- Be sure the blade installation bolts are securely tightened before operation.
- Hold the tool firmly with both hands.
- Keep hands away from rotating parts.
- Before using the tool on an actual workpiece,let it run for a while. Watch for vibration or wobbling that could indicate poor installation or a poorly balanced blade.
- Make sure the blade is not contacting the workpiece before the switch is turned on.
- Wait until the blade attains full speed before cutting.
- Always switch off and wait for the blades to come to a complete stop before any adjusting.
- Never stick your finger into the chip chute. Chute may jam when cutting damp wood. Clean out chips with a stick.
- Do not leave the tool running. Operate the tool only when hand-held.
- Always change both blades or covers on the drum, otherwise the resulting imbalance will cause vibration and shorten tool life.
- Use only Makita blades specified in this manual.
- Always use the correct dust mask/respirator for the material and application you are working with.
SAVE THESE INSTRUCTIONS.
WARNING: DO NOT let comfort or familiarity with product (gained from repeated use) replace strict adherence to safety rules for the subject product. MISUSE or failure to follow the safety rules stated in this instruction manual may cause serious personal injury.
FUNCTIONAL DESCRIPTION
CAUTION: Always be sure that the tool is switched off and unplugged before adjusting or checking function on the tool.
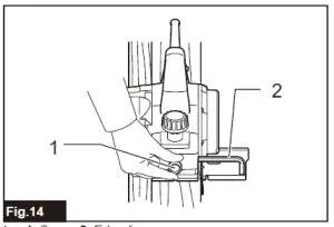
Adjusting depth of cut

1. Pointer 2. Knob
Depth of cut may be adjusted by simply turning the knob on the front of the tool so that the pointer points the desired depth of cut.
Switch action

1. Switch trigger 2. Lock button or Lock-off button.
CAUTION: Before plugging in the tool, always check to see that the switch trigger actuates properly and returns to the “OFF” position when released.
CAUTION: Switch can be locked in “ON” position for ease of operator comfort during extended use. Apply caution when locking tool in “ON” position and maintain firm grasp on tool.
To start the tool, simply pull the switch trigger. Release the switch trigger to stop.
For continuous operation, pull the switch trigger and then push in the lock button.
To stop the tool from the locked position, pull the switch trigger fully, then release it.
To prevent the switch trigger from being accidentally pulled, a lock-off button is provided.
To start the tool, depress the lock-off button and pull the switch trigger. Release the switch trigger to stop.
CAUTION: Do not pull the switch trigger hard without depressing the lock-off button. This can cause switch breakage.
Foot

1. Planer blade 2. Rear base 3. Foot
After a cutting operation, raise the back side of the tool so that the foot comes out of the rear base. This prevents the planer blades to be damaged.
ASSEMBLY
CAUTION: Always be sure that the tool is switched off and unplugged before carrying out any work on the tool.
Removing or installing planer blades
CAUTION: Tighten the blade installation bolts carefully when attaching the planer blades to the tool. A loose installation bolt can be dangerous. Always check to see they are tightened securely.
CAUTION: Handle the planer blades very carefully. Use gloves or rags to protect your fingers or hands when removing or installing the blades.
CAUTION: Use only the Makita wrench provided to remove or install the planer blades. Failure to do so may result in overtightening or insufficient tightening of the installation bolts. This could cause an injury.
For tool with conventional planer blades
To remove the planer blades on the drum, unscrew the installation bolts with the socket wrench. The drum cover comes off together with the blades.

1. Socket wrench 2. Bolts

1. Bolts 2. Drum 3. Planer blade 4. Drum cover
5. Adjusting plate 6. Groove
To install the planer blades, do the following procedure.
- Clean out all chips or foreign matter adhering to the drum and planer blades.
- Choose planer blades of the same dimensions and weight. Otherwise drum oscillation/vibration will result, causing poor planing action and, eventually, tool breakdown.
- Use the blade gauge to set the planer blades correctly. Put the planer blade on the gauge base. Apply the cutting edge of the blade on the inside flank of the gauge plate.

1. Inside flank of gauge plate 2. Blade edge
3. Planer blade 4. Adjusting plate 5. Screws
6. Heel 7. Back side of gauge base 8. Gauge plate
9. Gauge base - Place the adjusting plate on the planer blade. Press the adjusting plate so that its heel is flush with the back side of gauge base. Tighten two screws on the adjusting plate.
- Slip the heel of the adjusting plate into the drum groove, then fit the drum cover on it.
- Tighten all the installation bolts evenly and alternately with the socket wrench.
- Repeat the procedure above for the other blade.
For tool with mini planer blades
To replace the mini planer blades, do the following procedure.
- Carefully clean the drum surfaces and the drum cover.
- Unscrew the three installation bolts with the socket wrench. Remove the drum cover, adjusting plate, set plate and the mini planer blade.

► 1. Socket wrench 2. Bolts - Use the blade gauge to set the planer blades correctly. Put the mini planer blade on the gauge base. Apply the cutting edge of the blade on the inside flank of the gauge plate.

- Loosely attach the adjusting plate to the set plate with the screws. Put the adjusting plate and set plate on the gauge base. Fit the planer blade locating lugs on
the set plate into the mini planer blade groove. - Apply the heel of the adjusting plate onto the back side of the gauge base and tighten the screws. Checkthe alignments carefully to ensure uniform cutting.
- Slip the heel of the adjusting plate into the groove
of the drum. - Put the drum cover on the set plate and loosely fit them onto the drum with the three bolts. Slip the mini planer blade into the space between the drum and set
plate. Make sure that the planer blade locating lugs on the set plate fit in the mini planer blade groove.
Service
- Have your power tool serviced by a qualified epair person using only identical replacement parts. This will ensure that the safety of the power tool is maintained.
- Follow instruction for lubricating and changing accessories.
- Keep handles dry, clean and free from oil and grease.
Planer safety warnings
- Wait for the cutter to stop before setting the tool down. An exposed rotating cutter may engage the surface leading to possible loss of control and serious injury.
- Hold the power tool by insulated gripping surfaces only, because the cutter may contact its own cord. Cutting a “live” wire may make exposed metal parts of the power tool “live” and could give the operator an electric shock.
- Use clamps or another practical way to secure and support the workpiece to a stable platform. Holding the work by your hand or against the body leaves it unstable and may lead to loss of control.
- Rags, cloth, cord, string and the like should never be left around the work area.
- Avoid cutting nails. Inspect for and remove all nails from the workpiece before operation.
- Use only sharp blades. Handle the blades very carefully.
- Be sure the blade installation bolts are securely tightened before operation.
- Hold the tool firmly with both hands.
- Keep hands away from rotating parts.
- Before using the tool on an actual workpiece, let it run for a while. Watch for vibration or wobbling that could indicate poor installation or a poorly balanced blade.
- Make sure the blade is not contacting the workpiece before the switch is turned on.
- Wait until the blade attains full speed before cutting.
- Always switch off and wait for the blades to come to a complete stop before any adjusting.
- Never stick your finger into the chip chute. Chute may jam when cutting damp wood. Clean out chips with a stick.
- Do not leave the tool running. Operate the tool only when hand-held.
- Always change both blades or covers on the drum, otherwise the resulting imbalance will cause vibration and shorten tool life.
- Use only Makita blades specified in this manual.
- Always use the correct dust mask/respirator for the material and application you are working with.
WARNING: DO NOT let comfort or familiarity with product (gained from repeated use) replace strict adherence to safety rules for the subject product. MISUSE or failure to follow the safety rules stated in this instruction manual may cause serious personal injury.
For the correct planer blade setting
Your planing surface will end up rough and uneven, unless the planer blade is set properly and securely. The planer blade must be mounted so that the cutting edge is absolutely level, that is, parallel to the surface of the rear base. Refer to some examples below for proper and improper settings.
(A) Front base (Movable shoe)
(B) Rear base (Stationary shoe)

Connecting a vacuum cleaner
For European countries only
When you wish to perform clean planing operation, connect a Makita vacuum cleaner to your tool. Then connect a hose of the vacuum cleaner to the nozzle as
shown in the figures.
OPERATION
Hold the tool firmly with one hand on the knob and the other hand on the switch handle when performing the tool.
Planing operation

► 1. Start 2. End
Apply the tool front base flat upon the workpiece surface without the planer blades contacting the workpiece. Switch on and wait until the blades attain full speed. Then move the tool gently forward at a uniform speed. Apply pressure on the front of tool at the start of planing, and on the rear at the end of planing.
The speed and depth of cut determine the finish. To obtain a good surface finish, plane deeply until you get near the desired depth, and then plane thinly and slowly for the final pass.
Shiplapping (Rabbeting)

To make a stepped cut as shown in the figure, use the edge fence (guide rule).
Draw a cutting line on the workpiece. Insert the edge fence into the hole in the front of the tool. Align the blade edge with the cutting line.

► 1. Blade edge 2. Cutting line
Adjust the edge fence until it comes in contact with the side of the workpiece, then secure it by tightening the screw.

► 1. Screw 2. Edge fence
When planing, move the tool with the edge fence flush with the side of the workpiece. Otherwise uneven planing may result.
OPERATION
Hold the tool firmly with one hand on the knob and the other hand on the switch handle when performing the tool.
Planing operation

► 1. Start 2. End
Apply the tool front base flat upon the workpiece surface without the planer blades contacting the workpiece. Switch on and wait until the blades attain full speed. Then move the tool gently forward at a uniform speed. Apply pressure on the front of tool at the start of planing, and on the rear at the end of planing.
The speed and depth of cut determine the finish. To obtain a good surface finish, plane deeply until you get near the desired depth, and then plane thinly and slowly for the final pass.
Shiplapping (Rabbeting)

To make a chamfering cut as shown in the figure, align the “V” groove in the front base with the edge of the workpiece and plane it.
To make a chamfering cut as shown in the figure, align the “V” groove in the front base with the edge of the workpiece and plane it.
MAINTENANCE
CAUTION: Always be sure that the tool is switched off and unplugged before attempting to perform inspection or maintenance.
CAUTION: Never use gasoline, benzine, thinner, alcohol or the like. Discoloration, deformation or cracks may result.
For conventional planer blades only
Always keep your planer blades sharp for the best performance possible. Use the sharpening holder (optional accessory) to remove nicks and produce a fine edge.

► 1. Sharpening holder
First, loosen the two wing nuts on the holder and insert the planer blades (A) and (B), so that they contact the sides (C) and (D). Then tighten the wing nuts.
► 1. Wing nut 2. Planer blade (A) 3. Planer blade (B)
4. Side (D) 5. Side (C)
Immerse the dressing stone in water for 2 or 3 minutes before sharpening. Hold the holder so that the both blades contact the dressing stone for simultaneous sharpening at the same angle.

Replacing carbon brushes

► 1. Limit mark
Remove and check the carbon brushes regularly. Replace when they wear down to the limit mark. Keep the carbon brushes clean and free to slip in the holders.
Both carbon brushes should be replaced at the same time. Use only identical carbon brushes. Use a screwdriver to remove the chip cover or nozzle.

Use a screwdriver to remove the brush holder caps. Take out the worn carbon brushes, insert the new ones and secure the brush holder caps
► 1. Brush holder cap 2. Screwdriver
To maintain product SAFETY and RELIABILITY, repairs, any other maintenance or adjustment should be performed by Makita Authorized or Factory Service
Centers, always using Makita replacement parts























