makita 1911B Power Planer Instruction Manual
SPECIFICATIONS
- Model 1911B
- Planing width 110 mm
- Planing depth 2 mm
- No load speed (min-1) 16,000
- Overall length 355 mm
- Net weight 4.1 kg
- Safety class /II
- Due to our continuing program of research and development, the specifications herein are subject to change without notice.
- Specifications may differ from country to country.
- Weight according to EPTA-Procedure 01/2014
Intended use
The tool is intended for planing wood.
Power supply
The tool should be connected only to a power supply of the same voltage as indicated on the nameplate, and can only be operated on single-phase AC supply. They are double-insulated and can, therefore, also be used from sockets without earth wire.
Noise
The typical A-weighted noise level determined according to EN62841-2-14:
Sound pressure level (LpA) : 86 dB(A) Sound power level (LWA) : 97 dB (A) Uncertainty (K) : 3 dB(A)
NOTE: The declared noise emission value(s) has been measured in accordance with a standard test method and may be used for comparing one tool with another.
NOTE: The declared noise emission value(s) may also be used in a preliminary assessment of exposure.
WARNING: Wear ear protection.
WARNING: The noise emission during actual use of the power tool can differ from the declared value(s) depending on the ways in which the tool is used especially what kind of workpiece is processed.
WARNING: Be sure to identify safety measures to protect the operator that are based on an estimation of exposure in the actual conditions of use (taking account of all parts of the operating cycle such as the times when the tool is switched off and when it is running idle in addition to the trigger time).
Vibration
The vibration total value (tri-axial vector sum) determined according to EN62841-2-14: Work mode: planing softwood Vibration emission (ah) : 3.5 m/s2 Uncertainty (K) : 1.5 m/s2
NOTE: The declared vibration total value(s) has been measured in accordance with a standard test method and may be used for comparing one tool with another.
NOTE: The declared vibration total value(s) may also be used in a preliminary assessment of exposure.
WARNING: The vibration emission during actual use of the power tool can differ from the declared value(s) depending on the ways in which the tool is used especially what kind of workpiece is processed.
WARNING: Be sure to identify safety measures to protect the operator that are based on an estimation of exposure in the actual conditions of use (taking account of all parts of the operating cycle such as the times when the tool is switched off and when it is running idle in addition to the trigger time).
EC Declaration of Conformity
For European countries only The EC declaration of conformity is included as Annex A to this instruction manual.
General power tool safety warnings
WARNING: Read all safety warnings, instructions, illustrations and specifications provided with this power tool. Failure to follow all instructions listed below may result in electric shock, fire and/or serious injury
Save all warnings and instructions for future reference.
The term “power tool” in the warnings refers to your mains-operated (corded) power tool or battery-operated (cordless) power tool.
Planer Safety Warnings
- Wait for the cutter to stop before setting the tool down. An exposed rotating cutter may engage the surface leading to possible loss of control and serious injury.
- Hold the power tool by insulated gripping surfaces, because the cutter may contact its own cord. Cutting a “live” wire may make exposed metal parts of the power tool “live” and could give the operator an electric shock.
- Use clamps or another practical way to secure and support the workpiece to a stable platform. Holding the workpiece by your hand or against the body leaves it unstable and may lead to loss of control.
- Rags, cloth, cord, string and the like should never be left around the work area.
- Avoid cutting nails. Inspect for and remove all nails from the workpiece before operation.
- Use only sharp blades. Handle the blades very carefully.
- Be sure the blade installation bolts are securely tightened before operation.
- Hold the tool firmly with both hands.
- Keep hands away from rotating parts.
- Before using the tool on an actual workpiece, let it run for a while. Watch for vibration or wobbling that could indicate poor installation or a poorly balanced blade.
- Make sure the blade is not contacting the workpiece before the switch is turned on.
- Wait until the blade attains full speed before cutting.
- Always switch off and wait for the blades to come to a complete stop before any adjusting.
- Never stick your finger into the chip chute. Chute may jam when cutting damp wood. Clean out chips with a stick.
- Do not leave the tool running. Operate the tool only when hand-held.
- Always change both blades or covers on the drum, otherwise the resulting imbalance will cause vibration and shorten tool life.
- Use only Makita blades specified in this manual.
- Always use the correct dust mask/respirator for the material and application you are working with.
SAVE THESE INSTRUCTIONS.
WARNING:
DO NOT let comfort or familiarity with product (gained from repeated use) replace strict adherence to safety rules for the subject product. MISUSE or failure to follow the safety rules stated in this instruction manual may cause serious personal injury.
FUNCTIONAL DESCRIPTION
CAUTION:
• Always be sure that the tool is switched off and unplugged before adjusting or checking function on the tool.
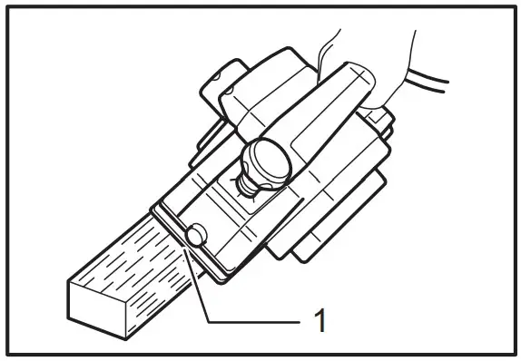
Adjusting depth of cut
Knob
Depth of cut may be adjusted by simply turning the knob on the front of the tool. Switch action
CAUTION:
• Before plugging in the tool, always check to see that the switch trigger actuates properly and returns to the “OFF” position when released.

Fig.2: 1. Lock button / Lock-off button 2. Switch trigger
For tool with lock button
To start the tool, simply pull the switch trigger. Release the switch trigger to stop. For continuous operation, pull the switch trigger and then push in the lock button. To stop the tool from the locked position, pull the switch trigger fully, then release it.
For tool with lock-off button
To prevent the switch trigger from being accidentally pulled, a lock-off button is provided. To start the tool, depress the lock-off button and pull the switch trigger. Release the switch trigger to stop.
ASSEMBLY
CAUTION:
- Always be sure that the tool is switched off and unplugged before carrying out any work on the tool.
Removing or installing planer blades

- Socket wrench
- Installation bolt
CAUTION:
- Tighten the blade installation bolts carefully when attaching the blades to the tool. A loose installation bolt can be dangerous. Always check to see they are tightened securely.
- Handle the blades very carefully. Use gloves or rags to protect your fingers or hands when removing or installing the blades.
- Use only the Makita wrench provided to remove or install the blades. Failure to do so may result in overtightening or insufficient tightening of the installation bolts. This could cause an injury.
To remove the blades on the drum, unscrew the installation bolts with the socket wrench. The drum cover comes off together with the blades. To install the blades, first clean out all chips or foreign matter adhering to the drum or blades. Use blades of the same dimensions and weight, or drum oscillation/ vibration will result, causing poor planing action and, eventually, tool breakdown.
- Bolt
- Drum
- Planer blade
- Drum cover
- Adjust plate

Place the blade on the gauge base so that the blade edge is perfectly flush with the inside edge of the gauge plate. Place the adjust plate on the blade, then simply press in the heel of the adjust plate flush with the back side of the gauge base and tighten two screws on the adjust plate. Now slip the heel of the adjust plate into the drum groove, then fit the drum cover on it. Tighten the installation bolts evenly and alternately with the socket wrench.
- Adjust plate
- Screws
- Heel of adjust plate
- Back side of gauge base
- Blade edg
- Planer blade
- Inside edge of gauge plate
- Gauge plate

For the correct planer blade setting
Your planing surface will end up rough and uneven, unless the blade is set properly and securely. The blade must be mounted so that the cutting edge is absolutely level, that is, parallel to the surface of the rear base. Refer to some examples below for proper and improper settings.
(A) Front base (Movable shoe)
(B) Rear base (Stationary shoe)
Correct setting

Although this side view cannot show it, the edges of the blades run perfectly parallel to the rear base surface.
Nicks in surface

Cause: One or both blades fails to have edge parallel to rear base line.
Gouging at start

Cause: One or both blade edges fails to protrude enough in relation to rear base line.
Gouging at end

Cause: One or both blade edges protrudes too far in relation to rear base line.
Connecting a vacuum cleaner
NOTE: In some countries, the nozzle may not be included in the tool package as standard accessory.
► Fig.7: 1. Vacuum cleaner

For tool with nozzle
Connect a hose of the vacuum cleaner to the nozzle.
For tool without nozzle
- Remove the chip cover from the tool.
- Install the nozzle on the tool using the screws
►
1. Nozzle assembly
2. Screwdriver - Connect a hose of the vacuum cleaner to the nozzle.
Nozzle cleaning
Clean the nozzle regularly.Use a compressed air to clean the clogged nozzle
OPERATIONWARNING:
To reduce the risk of injury to persons, do not operate without nozzle or chip cover in place.
Planing operation

1. Start 2. End
First, rest the tool front base flat upon the workpiecesurface without the blades making any contact. Switch on and wait until the blades attain full speed. Then move the tool gently forward. Apply pressure on the front of tool at the start of planing, and at the back at the end of planing. Planing will be easier if you incline the workpiece in stationary fashion, so that you can plane somewhat downhill. The speed and depth of cut determine the kind of finish. The power planer keeps cutting at a speed that will not result in jamming by chips. For rough cutting, the depth of cut can be increased, while for a good finish you should reduce the depth of cut and advance the tool more slowly
Chamfering


To make a cut as shown in the figure, align the ”V” groove in the front base with the edge of the workpiece and plane it as shown in the figure.
1. Align the (Y) groove with the edge of the workpiece
MAINTENANCE
CAUTION:
- Always be sure that the tool is switched off and unplugged before attempting to perform inspection or maintenance.
- Never use gasoline, benzine, thinner, alcohol or the like. Discoloration, deformation or cracks may result.
To maintain product SAFETY and RELIABILITY, repairs, carbon brush inspection and replacement, any other maintenance or adjustment should be performed by Makita Authorized or Factory Service Centers, always using Makita replacement parts.

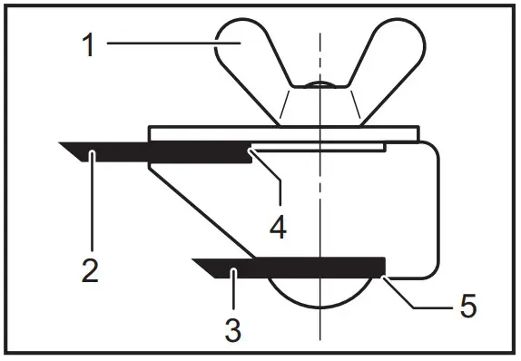
1. Sharpening holder
Always keep your blades sharp for the best performance possible. Use the sharpening holder to remove nicks and produce a fine edge. First, loosen the two wing nuts on the holder and insert the blades (A) and (B), so that they contact the sides (C) and (D). Then tighten the wing nuts

- Wing nut
- Blade
(A) - Blade
(B) - Side
(C) - Side(D)
Immerse the dressing stone in water for 2 or 3 minutes before sharpening. Hold the holder so that the both blades contact the dressing stone for simultaneous sharpening at the same angle.

OPTIONAL ACCESSORIES
CAUTION:
- These accessories or attachments are recommended for use with your Makita tool specified in this manual. The use of any other accessories or attachments might present a risk of injury to persons. Only use accessory or attachment for its stated purpose
If you need any assistance for more details regarding these accessories, ask your local Makita Service Center.
- High-speed steel Planer blade
- Mini planer blade
- Sharpening holder assembly
- Blade gauge
- Guide rule
- Extension guide set
- Dressing stone
- Nozzle assembly
- Dust bag assembly
- Joint
- Socket wrench
NOTE:
- Some items in the list may be included in the tool package as standard accessories. They may differ from country to country.
►


















