makita M1902 Planer Instruction Manual

SPECIFICATIONS
| Model: | M1902 | |
| Planing width | 82 mm | |
| Planing depth | 1 mm | |
| Shiplapping depth | 9 mm | |
| No load speed | 16,000 min-1 | |
| Overall length | Without foot | 278 mm |
| With foot | 285 mm | |
| Net weight | 2.65 kg | |
| Safety class | /II | |
- Due to our continuing program of research and development, the specifications herein are subject to change without notice.
- Specifications may differ from country to
- Weight according to EPTA-Procedure 01/2003
Intended use
The tool is intended for planing wood.
Power supply
The tool should be connected only to a power supply of the same voltage as indicated on the nameplate, and can only be operated on single-phase AC supply. They are double-insulated and can, therefore, also be used from sockets without earth wire.
Noise
The typical A-weighted noise level determined accord- ing to EN60745:
Sound pressure level (LpA) : 84 dB(A) Sound power level (LWA) : 95 dB (A) Uncertainty (K) : 3 dB(A)
Vibration
The vibration total value (tri-axial vector sum) deter- mined according to EN60745:
Work mode: planing softwood Vibration emission (ah) : 3.0 m/s2 Uncertainty (K) : 1.5 m/s2
EC Declaration of Conformity
For European countries only
The EU declaration of conformity is included as Annex A to this instruction manual.
SAFETY WARNINGS
General power tool safety warnings
Save all warnings and instruc- tions for future reference.
The term “power tool” in the warnings refers to your mains-operated (corded) power tool or battery-operated (cordless) power tool.
Planer safety warnings
- Wait for the cutter to stop before setting the tool down. An exposed rotating cutter may engage the surface leading to possible loss of control and serious
- Hold the power tool by insulated gripping surfaces only, because the cutter may contact its own cord. Cutting a “live” wire may make exposed metal parts of the power tool “live” and could give the operator an electric
- Use clamps or another practical way to secure and support the workpiece to a stable plat- Holding the work by your hand or against the body leaves it unstable and may lead to loss of control.
- Rags, cloth, cord, string and the like should never be left around the work
- Avoid cutting nails. Inspect for and remove all nails from the workpiece before
- Use only sharp blades. Handle the blades very
- Be sure the blade installation bolts are securely tightened before
- Hold the tool firmly with both
- Keep hands away from rotating
- Before using the tool on an actual workpiece, let it run for a while. Watch for vibration or wobbling that could indicate poor installation or a poorly balanced
- Make sure the blade is not contacting the workpiece before the switch is turned
- Wait until the blade attains full speed before
- Always switch off and wait for the blades to come to a complete stop before any
- Never stick your finger into the chip chute. Chute may jam when cutting damp wood. Clean out chips with a
- Do not leave the tool running. Operate the tool only when hand-held.
- Always change both blades or covers on the drum, otherwise the resulting imbalance will cause vibration and shorten tool
- Use only Makita blades specified in this
- Always use the correct dust mask/respirator for the material and application you are work- ing
SAVE THESE INSTRUCTIONS
WARNING: DO NOT let comfort or familiarity with product (gained from repeated use) replace strict adherence to safety rules for the subject product. MISUSE or failure to follow the safety rules stated in this instruction manual may cause serious personal injury.
FUNCTIONAL DESCRIPTION
CAUTION: Always be sure that the tool is switched off and unplugged before adjusting or checking function on the tool.
Adjusting depth of cut
- 1: 1. Pointer 2. Knob

Depth of cut may be adjusted by simply turning the knob on the front of the tool so that the pointer points the desired depth of cut.
Switch action
- 2: 1. Switch trigger 2. Lock button or Lock-off button

To start the tool, simply pull the switch trigger. Release the switch trigger to stop.
For continuous operation, pull the switch trigger and then push in the lock button.
To stop the tool from the locked position, pull the switch trigger fully, then release it.
To prevent the switch trigger from being accidentally pulled, a lock-off button is provided.
To start the tool, depress the lock-off button and pull the switch trigger. Release the switch trigger to stop
Foot
Country specific
- 3: 1. Planer blade 2. Rear base 3. Foot

After a cutting operation, raise the back side of the tool so that the foot comes out of the rear base. This pre- vents the planer blades to be damaged.
ASSEMBLY
For tool with conventional planer blades
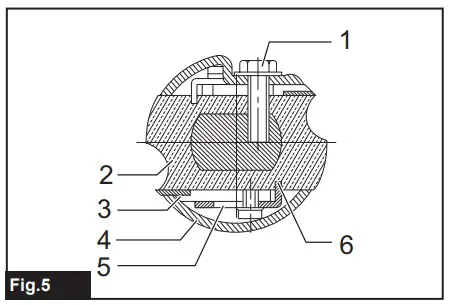
To remove the planer blades on the drum, unscrew the installation bolts with the hex wrench. The drum cover comes off together with the blades.
- 4: 1. Hex wrench 2. Bolts

- 5: 1. Bolts 2. Drum 3. Planer blade 4. Drum

cover 5. Adjusting plate 6. Groove
To install the planer blades, do the following procedure.
- Clean out all chips or foreign matter adhering to the drum and planer
- Choose planer blades of the same dimensions and weight. Otherwise drum oscillation/vibration will result, causing poor planing action and, eventually, tool
- Use the blade gauge to set the planer blades cor- Put the planer blade on the blade gauge. Apply the cutting edge of the blade on the inside flank of the blade gauge.
- 6: 1. Inside flank of blade gauge 2. Blade edge

- Planer blade Adjusting plate 5. Screws
- Heel 7. Back side of blade gauge 8. Blade gauge
- Place the adjusting plate on the planer blade. Press the adjusting plate so that its heel is flush with the back side of blade gauge. Tighten two screws on the adjusting
- Slip the heel of the adjusting plate into the drum groove, then fit the drum cover on
- Tighten all the installation bolts evenly and alter- nately with the hex
- Repeat the procedure above for the other
For tool with mini planer blades
To replace the mini planer blades, do the following procedure.
- Carefully clean the drum surfaces and the drum cover.
- Unscrew the three installation bolts with the hex Remove the drum cover, adjusting plate, set plate and the mini planer blade.
- 7: 1. Hex wrench 2. Bolts

- Use the blade gauge to set the planer blades Put the mini planer blade on the blade gauge. Apply the cutting edge of the blade on the inside flank of the blade gauge.
- 8: 1. Screws 2. Adjusting plate 3. Planer blade locating lugs 4. Heel of adjusting plate 5. Set plate 6. Inside flank of blade gauge 7. Blade gauge 8. Back side of blade gauge 9. Mini planer blade

- Loosely attach the adjusting plate to the set plate with the screws. Put the adjusting plate and set plate on the blade gauge. Fit the planer blade locating lugs on the set plate into the mini planer blade
- Apply the heel of the adjusting plate onto the back side of the blade gauge and tighten the screws. Check the alignments carefully to ensure uniform
- Slip the heel of the adjusting plate into the groove of the drum.
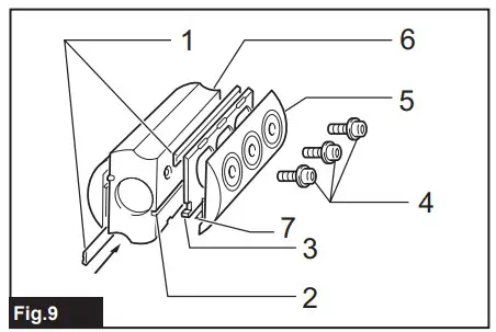
- Put the drum cover on the set plate and loosely fit them onto the drum with the three bolts. Slip the mini planer blade into the space between the drum and set Make sure that the planer blade locating lugs on the set plate fit in the mini planer blade groove.
- 9: 1. Mini planer blade 2. Groove 3. Set plate

- Bolts 5. Drum cover 6. Drum 7. Adjustingplate
- Adjust the mini planer blade position lengthway so that the blade ends are clear and equidistant from the housing on one side and the metal bracket on the
- Tighten the three bolts with the socket wrench provided and rotate the drum to check the clearances between the blade ends and the tool
- Check the three bolts for final
- Repeat the procedure above for the other
For the correct planer blade setting
Your planing surface will end up rough and uneven, unless the planer blade is set properly and securely. The planer blade must be mounted so that the cutting edge is absolutely level, that is, parallel to the surface of the rear base. Refer to some examples below for proper and improper settings.
(A) Első alap (mozgó láb)
(B) Hátsó alap (álló láb)

Connecting a vacuum cleaner
For European countries only
- 10

When you wish to perform clean planing operation, connect a Makita vacuum cleaner to your tool. Then connect a hose of the vacuum cleaner to the nozzle as shown in the figures.
OPERATION
Hold the tool firmly with one hand on the knob and the other hand on the switch handle when performing the tool.
Planing operation
- 11: 1. Start 2. End

Apply the tool front base flat upon the workpiece surface without the planer blades contacting the work- piece. Switch on and wait until the blades attain full speed. Then move the tool gently forward at a uniform speed. Apply pressure on the front of tool at the start of planing, and on the rear at the end of planing.
The speed and depth of cut determine the finish. To obtain a good surface finish, plane deeply until you get near the desired depth, and then plane thinly and slowly for the final pass.
Shiplapping (Rabbeting)
- 12

To make a stepped cut as shown in the figure, use the\ edge fence (guide rule).
Draw a cutting line on the workpiece. Insert the edge fence into the hole in the front of the tool. Align the blade edge with the cutting line.
- 13: 1. Blade edge 2. Cutting line

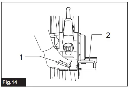
Adjust the edge fence until it comes in contact with the side of the workpiece, then secure it by tightening the screw.
- 14: 1. Screw 2. Edge fence

When planing, move the tool with the edge fence flush with the side of the workpiece. Otherwise uneven plan- ing may result.
- 15

Maximum shiplapping (rabbeting) depth is 9 mm (11/32″).
You may wish to add to the length of the fence by attaching an extra piece of wood. Convenient holes are provided in the fence for this purpose, and also for attaching an extension guide (optional accessory).
- 16

Chamfering
- 17

- 18

To make a chamfering cut as shown in the figure, align the “V” groove in the front base with the edge of the workpiece and plane it.
MAINTENANCE
For conventional planer blades only
Always keep your planer blades sharp for the best per- formance possible. Use the sharpening holder (optional accessory) to remove nicks and produce a fine edge.
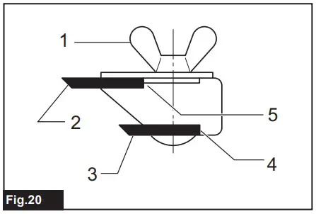
- 19: 1. Sharpening holder

First, loosen the two wing nuts on the holder and insert the planer blades (A) and (B), so that they contact the sides (C) and (D). Then tighten the wing nuts.
- 20: 1. Wing nut 2. Planer blade (A) 3. Planer

blade (B) 4. Side (D) 5. Side (C)
Immerse the dressing stone in water for 2 or 3 minutes before sharpening. Hold the holder so that the both blades contact the dressing stone for simultaneous sharpening at the same angle.
- 21

Replacing carbon brushes
- 22: 1. Limit mark

Remove and check the carbon brushes regularly. Replace when they wear down to the limit mark. Keep the carbon brushes clean and free to slip in the holders. Both carbon brushes should be replaced at the same time. Use only identical carbon brushes. Use a screwdriver to remove the chip cover or nozzle.
- 23: 1. Chip cover or Nozzle 2. Screwdriver

Use a screwdriver to remove the brush holder caps. Take out the worn carbon brushes, insert the new ones and secure the brush holder caps.
- 24: 1. Brush holder cap 2. Screwdriver

To maintain product SAFETY and RELIABILITY, repairs, any other maintenance or adjustment should be performed by Makita Authorized or Factory Service Centers, always using Makita replacement parts.












































