HORMANN HET-S 2 BLE Bluetooth Receiver Instruction Manual
Dear Customer,
We thank you for choosing a quality product from our company.
About these instructions
Read through all of the instructions carefully, as they contain important information about the product. Pay attention to and follow the instructions provided, particularly the safety instructions and warnings.
Further information about handling the Bluetooth receiver can be found on the Internet at www.hoermann.com.
Please keep these instructions in a safe place and make sure that they are available to all users at all times.
Symbols Used
Factory setting
The Bluetooth® word mark and logos are registered trademarks of Bluebooth SIG, Inc. and are used by Hörmann KG Verkaufsgesellschaft under license. Other trademarks and brand names are the property of their respective owners.
Safety instructions
Intended use
The HET/S 2 BLE / HET/S 24 BLE Bluetooth receiver is a bidirectional receiver. Door operators, motor locks or electric strikes can be operated via Bluetooth using the associated app on a smartphone. The receiver has 2 volt-free relay outputs.
Other types of application are prohibited. The manufacturer is not liable for damage caused by improper use or incorrect operation.
Safety instructions for operating the receiver
CAUTION
Danger of injuries due to unintended door travel
Unintended door travel may occur while teaching in the radio code.
- Make sure that no persons or objects are in the door system’s area of travel when teaching in the radio system.
ATTENTION
External voltage at the connecting terminals and relay outputs External voltage on the connecting terminals and relay outputs will destroy the electronics.
- Do not apply any mains voltage (230 / 240 V AC) to the connecting terminals and relay outputs.
ATTENTION
Functional impairment caused by environmental conditions
Non-compliance with these instructions can impair function!
Protect the receiver from the following conditions:
- Direct sunlight (permissible ambient temperature: –20°C to +60°C)
- Moisture
- Dust
NOTE
- If there is no separate entrance to the garage, then you should enhance or change the radio system within the garage.
- If you want to start operating, enhance or change the radio system:
- Perform a function check.
- Only use original parts.
- Local conditions may affect the range of the radio system.
Scope of delivery
- Bluetooth receiver HET/S 2 BLE / HET/S 24 BLE in housing
- Connection cable 7 m, 4-wire (HET/S 24 BLE)
- Key card with QR code
- Operating instructions
Description of the receiver
HET/S 2 BLE
- Receiver with power supply unit
- Power supply 230 – 240 V AC, pre-assembled
- Connecting terminal for volt-free relay outputs
- Connection socket for external antenna
- Programming button P (P button)
- Double LED – blue / red (BU /RD)
HET/S 24 BLE
- Receiver in housing
- Connecting terminal for 12 V AC / 12 – 24 V DC power supply
- Connecting terminal for volt-free relay outputs
- Connection socket for external antenna
- Programming button P (P button)
- Double LED – blue / red (BU /RD)
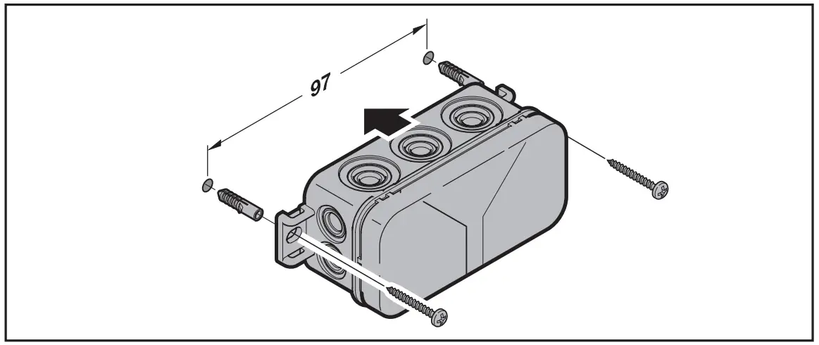
Assembly

NOTE:
By selecting an appropriate fitting location, the range can be optimised. Determine the best orientation by trial and error.
Connection

The starting procedure begins when the supply voltage is applied to the connecting terminals. The LED is continuously illuminated blue for at least 2 seconds, until the communication link is completely established. No functions are permitted at this time. The receiver is ready for operation as soon as the LED goes out.
Relay functions
| Press and hold | When a transmission impulse is received, the relay is activated for the preset duration and then deactivated. The duration of the transmission pulse is adjustable. The factory setting is 1 second. |
| Switching | The relay is activated after the first transmission impulse. On the next one, it is deactivated. |
BlueSecur application (app)

You can operate door operators, motor locks or electric strikes and manage access rights (keys) using your smartphone.
The BlueSecur app is available free of charge in the App StoreSM or from Google™ Play.
Install the BlueSecur app on your smartphone.
System requirements
Operating system | Software version |
Android Smartphone | from 5 |
| iOS Smartphone | from 9 |
App authorisations
In order to use the full functionality of the app, you must allow the following authorisations:
| Camera | To scan the QR code. |
| Bluetooth | For the communication between app and receiver. |
| Location Android | For the Bluetooth function. |
User roles
| Admin | The first user who connects with the receiver via the QR code. One other admin can be added. |
| Allocates access rights (keys) for users. | |
| Can delete access rights (keys) for users. | |
| Can adjust relay settings. | |
| Users | Receive access rights (keys) from the admin. |
App functions
You can select the impulse and push notification functions in the app. The factory setting is the impulse function.
Impulse
When the user is within range of the receiver, an impulse command can be triggered using the app, e.g. open or close.
Push notification
The smartphone must allow push notifications for this function. The app must be active in the background. The push notification is displayed as a pop-up as soon as the user is within the range of the receiver from which a command can be triggered.
You can activate or deactivate push notifications.
NOTE:
For Android smartphones, you may need to activate push notifications in the settings menu, depending on the software version.
Deleting devices
If a door operator or motor lock is deleted in the app using the dustbin icon, you can no longer operate the device using the smartphone. However, the device is still saved in the receiver.
When a device is to be removed from the receiver, perform a reset (see chapter 12).
NOTE
Performing a reset deletes all devices, keys, users and settings.
Backup
To avoid losing data, you can create a backup on the Hörmann server. Saved data can be accessed there at any time. To create a backup, you must first register.
All the following data existing up until this point in time will be saved:
- Devices (door operators, motor locks or electric strikes)
- Purchased sets of keys
- Distributed keys
A backup is necessary for restoring data, if, for example,
- the admin changes the smartphone,
- a reset is to be performed,
- if the smartphone is defective or lost.
A backup is strongly recommended to secure the data.
Initial start-up
The first user that connects with the receiver using the supplied QR code is the admin. This procedure can only be performed once!
- Make sure that you are in range of the receiver and the receiver is fully connected.
- Start the app.
- Select the Teach in field (iOS) or the + symbol (Android). The camera opens.
- Scan the QR code on the supplied key card.
The first user is connected with the receiver as the admin. - Assign a name to the device.
The receiver is in operation mode.
Keep the key card in a safe place. The key card will be required if you need to set up the receiver again at a later stage.
Operation
A connection to the receiver is always established exclusively through communication with the app, e.g. for triggering a command, adjusting settings in the app or user management.
Only one smartphone can be connected to the receiver at a time. A connection takes approx. 1 second. Only after this can the next smartphone connect to the receiver.
If the receiver detects a valid key, the LED illuminates. A command (open, close, etc.) will be triggered according to the preset relay function.
| Relay 1 (channel 1) | LED is illuminated blue once |
| Relay 2 (channel 2) | LED is illuminated blue twice |
Range
Range and performance are highly dependent on the smartphone.
For communication with the receiver, the admin or user must be in range to perform the following actions:
- Trigger a command (open, close, etc.)
- Set up and manage devices
- Delete devices
- Delete user authorisations
- Adjust relay settings
- Import 2nd admin key.
Synchronising
The date and time is synchronised in the receiver with each communication of the admin’s smartphone with the receiver.
Power failure and power restoration
In the case of power failure, the relay outputs open (the relay outputs are de-energised). Taught-in keys, user data and settings are saved in a power failure-proof manner.
Once the power returns, the relay outputs remain open. This prevents triggering unintended door travel.
Loss of the smartphone
In the event that the smartphone is lost, unauthorised parties could have access to the door. In this event, reset the receiver (see chapter 12). This will delete all keys from the receiver and therefore also the access authorisations.
Keys
Purchasing sets of keys
In order to distribute keys, the admin must purchase sets of keys using the in app purchase function. Payment is made according to the App StoreSM or GoogleTM Play policies.
One-time keys are free of charge.
Distributing keys
The admin can distribute keys to users via all installed messaging services, e.g. e-mail, Facebook Messenger, iMessage, WhatsApp, etc.
The admin can only distribute a key once to another admin. The 2nd admin must be in range of the receiver to import this admin key.
The admin can distribute a maximum of 15 one-time keys simultaneously.
NOTE
The BlueSecur app must be installed on the smartphone to use the key. If users have not installed the app upon receiving a key, they will be directed to download it from the App StoreSM or GoogleTM Play.
| Key type | Validity |
| Admin key | Always valid |
| User key | Always valid or just for a defined time period |
| One-time key | Valid only once and within a maximum of 1 month |
The admin has 2 options for defining the time of validity for one-time keys:
- The one-time key is valid immediately and can be used just once, within 1 month.
- The one-time key is valid from a defined date and can be used just once, within 1 month.
Safety when distributing keys
When the admin distributes a key to a user, for security reasons, the user must authenticate himself/herself using a PIN generated by the server. The user must enter this PIN before the key can be provided to him/her.
Reset
ATTENTION
If a reset is performed, all purchased keys are also irretrievably deleted from the receiver. Using the backup function on the Hörmann server is the only way to ensure that all purchased sets of keys continue to be available.
- Create a backup before resetting the device (see chapter 8.6).
The following steps delete all devices, keys, users and settings on the receiver.
- Switch the activated relay off.
- Press and hold the P button.
- The LED slowly flashes in blue for 5 seconds.
- The LED flashes rapidly in blue for 2 seconds.
- Release the P button.
All devices, keys, users and settings are deleted. The receiver is now back to its factory setting.
NOTE
If the P button is released prematurely, the reset is aborted. The devices, keys, users and settings are not deleted.
Blue (BU)
State | Function |
| Illuminated for at least 2 seconds | System start |
| Illuminated once | A valid key was discovered for channel 1. |
| Illuminated twice | A valid key was discovered for channel 2. |
| flashes quickly for 2 seconds | A valid key was discovered during the teach-in procedure. |
| Flashes slowly for 5 seconds, flashes quickly for 2 seconds | Reset is being performed or is complete. |
| Off | Operation mode |
Red (RD)
State | Function |
Illuminated once | An invalid key was discovered. |
| Off | Operation mode |
Button
P button | Reset |
Error/ access denied
- If access is denied, it could be due to the following reasons:
- The key has expired.
- The receiver is de-energised.
- The receiver was previously de-energised.
If the receiver was previously de-energised, the admin must synchronise his or her smartphone with the receiver again (see chapter 10.2).
The following users may still be denied access before synchronisation takes place:
- Users with one-time keys
- Users with a key restricted to a certain time period.
External antenna (optional)

An external antenna is recommended in the event of a limited range. The connection cable is 0.8 m long.
You must configure an external antenna in the app settings. The factory setting is the internal antenna.
Disposal
Electrical and electronic devices, as well as batteries, must not be disposed of in household rubbish, but must be returned to the appropriate recycling facilities.

Technical data
- Type: Bluetooth receiver HET/S 2 BLE / HET/S 24 BLE
- Frequency: 2.45 GHz
- External power supply: 12 V AC / 12 – 24 V DC
- Perm. ambient temperature: –20°C to +60°C
- Protection category: IP 44
- Relay capacity: max. 24 V AC; 5 A / 30 V DC
EU Declaration of Conformity
Manufacturer Address:
Hörmann KG Verkaufsgesellschaft
Upheider Weg 94-98
33803 Steinhagen
Germany
The manufacturer above herewith declares under his sole responsibility that the product
- Equipment / system: Bluetooth receiver
- Models: HET/S2-BLE HET/S24-BLE
- Intended use: Actuating of door operators and accessories
- Transmission frequency, radiant power: 2.45 GHz max. 10 mW (EIRP)
Conforms to the respective essential requirements of the directives listed below with intended use, on the basis of its design and type in the version marketed:
- 2014/53/EU (RED): EU Directive for Radio Equipment
- 2015/863/EU (RoHS): Restriction of the use of certain hazardous substances
Applied standards and specifications:
- EN 62368-1:2014 + AC:2015 + A11:2017: Product safety (Article 3.1(a) of 2014/53/EU)
- EN 62479:2010: Health (Article 3.1(a) of 2014/53/EU) According to section 4.2 the product automatically complies with this standard, as the radiant power (EIRP), tested according to ETSI EN 300328, is lower than the low power exclusion level Pmax of 20 mW.
- EN IEC 63000:2018: Restriction of the use of certain hazardous substances
- ETSI EN 301489-1 V2.2.0: Electromagnetic compatibility (Article 3.1(b) of 2014/53/EU) ETSI EN 301489-17 V3.2.0
- ETSI EN 300328 V2.2.2: Efficient use of the radio spectrum (Article 3.2 of 2014/53/EU)
Any modifications made to the product without approval will invalidate this declaration.
Steinhagen, 25.08.2021
Axel Becker, Management
![]()


















