Lenbrook CSR8675 Bluetooth Module

CSR8675 Bluetooth Module operating/installation instruction
- Product Description: Bluetooth Module
- Model / HVIN: CSR8675
- The module device FCC ID: Q2O‐CSR8675 / IC: 152B‐CSR8675
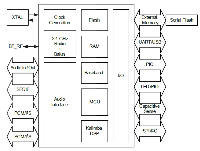
General Description
CSR8675 modular audio platform for wired and wireless applications integrates an ultra‑lowpower. DSP and application processor with embedded flash memory, a high‐performance stereo codec, a power management subsystem, LED and LCD drivers and capacitive touch sensor inputs in a SoC IC.

Applications
- High‐end wired/wireless stereo headphones
- High‐end wired/wireless stereo headsets
- High‐end wired/wireless active headsets
- Wireless stereo speakers
- Low‐end docking stations and soundbars
- Gaming headsets
Device Detail
- Bluetooth low energy
- Dual‑mode Bluetooth low energy radio
- Support for Bluetooth basic rate / EDR and low energy connections
- 3 Bluetooth low energy connections at the same time as basic rate A2DP
Bluetooth Radio
- On‑chip balun (50 Ω impedance in TX and RX modes)
- No external trimming is required in production
- Bluetooth v4.1 specification software/hardware
Bluetooth Transmitter
- Typical RF transmit power
- 6‑bit DAC level control
- Class 1, Class 2 and Class 3 support without the need for an external power amplifier or TX/RX switch
Bluetooth Receiver
- Integrated channel filters
- Digital demodulator for improved sensitivity and co‑channel rejection
- Real‑time digitised RSSI available to application
- Fast AGC for enhanced dynamic range
- Channel classification for AFH
List of applicable FCC rules/RSS
- The module complies with FCC Part 15.249/15.247/RSS-210 Issue 10/RSS-247 Issue 2
Summarize the specific operational use conditions
- The module has been certified for Mobile applications. This transmitter must not be collocated or operating in conjunction with any other antenna or transmitter
- The manual provides guidance to the host manufacturer will be included in the documentation that will be provided to the OEM.
- The OEM integrators, host manufacturers are responsible for ensuring that the end-user has no manual or instructions to remove or install module.
Important notes to third party user, host manufacturer for transceiver module
The transceiver Module complies with Part15 of the FCC rules and regulations. Compliance with the labeling requirements, FCC notices and antenna usage guidelines is required. To fulfill FCC Certification, the third-party user must comply with the following regulations:
- The third-party user must ensure that the text on the external label provided with this device is placed on the outside of the final product. Contains FCC ID: Q2O-CSR8675 (example) / IC: 152B-CSR8675 (example) .The enclosed device complies with Part 15 of the FCC Rules. Operation is subject to the following two conditions: (1) this device may not cause harmful interference, and (2) this device must accept any interference received, including interference that may cause undesired operation.
- The transceiver Module may only be used with the antenna (internal, integral) that have been tested and approved for use with this module.
- The transmitter is certified as a module, it may be integrated or used inside another device (host). No further approval is required when the module is used in accordance with the FCC grant conditions, and any limitations or usage conditions required by the manufacturer’s instructions. Modifications not approved by grantee could void the user’s authority to operate the equipment.
- This device and its antenna must not be co-located or operating in conjunction with any other antenna or transmitter.
- Third party users, host manufacturer must test final product to comply with unintentional radiators before declaring compliance of their final product to Part 15 of the FCC Rules.
This device complies with part 15 of the FCC Rules. Operation is subject to the following two conditions:
- This device may not cause harmful interference, and
- this device must accept any interference received, including interference that may cause undesired operation.
FCC Statement
This equipment has been tested and found to comply with the limits for a Class B digital device, pursuant to Part 15 of the FCC Rules. These limits are designed to provide reasonable protection against harmful interference in a residential installation. This equipment generates uses and can radiate radio frequency energy and, if not installed and used in accordance with the instructions, may cause harmful interference to radio communications. However, there is no guarantee that interference will not occur in a particular installation. If this equipment does cause harmful interference to radio or television reception, which can be determined by turning the equipment off and on, the user is encouraged to try to correct the interference by one or more of the following measures
- Reorient or relocate the receiving antenna.
- Increase the separation between the equipment and receiver.
- Connect the equipment into an outlet on a circuit different from that to which the receiver is connected.
- Consult the dealer or an experienced radio/TV technician for help.
Warning: Changes or modifications not expressly approved by the party responsible for compliance could void the user’s authority to operate the equipment.
Limited module procedures
Not Applicable.
Trace Antenna Designs
Not Applicable.
RF exposure considerations
- The module has been certified for Mobile applications.
- End-user product Manual shall contain below RF exposure statements.
- This module complies with FCC RF radiation exposure limits set forth for an uncontrolled environment.
- This equipment should be installed and operated with a minimum distance of 20 centimeters between the radiator and your body.”. The antenna(s) used for this transmitter must not be collocated or operating in conjunction with any other antenna or transmitter.
- If RF exposure statements and use conditions are not provided, then the host product manufacturer is required to take responsibility of the module through a change in FCC ID (new application).
Antennas
- The EUT only use one type of antenna that has been tested with this module.
- This radio transmitter [IC: 152B-CSR8675] has been approved by Innovation, Science and Economic
- Development Canada to operate with the antenna types listed below, with the maximum permissible gain indicated. Antenna types not included in this list that have a gain greater than the maximum gain indicated for any type listed are strictly prohibited for use with this device
- Type: IPEX-113-L160MM Gain: 2dBi
- The antenna is connected to the module through a non-standard micro-coaxial connector
Label and compliance information
- Product Description: Bluetooth Module
- Model / HVIN: CSR8765
- The module device FCC ID: Q2O-CSR8765 / IC: 152B-CSR8765
- FCC/IC Label: The FCC ID/IC certification number is on the back of the device. It is easily visible.
The host product Labeling Requirements:
NOTICE: The OEM system integrator,host manufacturer must make sure that FCC labeling requirements are met. This includes a clearly visible exterior label on the outside of the final product housing that displays the contents shown in below:
- This device contains FCC ID: Q2O-CSR8765
- This device contains IC: 152B-CSR8765
- This device complies with Part 15 of the FCC Rules. Operation is subject to the following two conditions:
(1) this device may not cause harmful interference, and (2) this device must accept any interference received, including interference that may cause undesired operation.
Information on test modes and additional testing requirements
When testing host product, the host manufacture should follow FCC KDB Publication 996369 D04 Module Integration Guide for testing the host products. The host manufacturer may operate their product during the measurements. In setting up the configurations, if the pairing and communication for testing does not work, then the host product manufacturer should coordinate with the module manufacturer for access to test mode software.
Additional testing, Part 15 Subpart B disclaimer
The modular transmitter is only FCC authorized for the specific rule parts (FCC Part 15.249) list on the grant, and that the host product manufacturer is responsible for compliance to any other FCC rules that apply to the host not covered by the modular transmitter grant of certification. The final host product still requires Part 15 Subpart B compliance testing with the modular transmitter installed when contains
digital circuity.
FCC/IC statement in final product manual
Below FCC/IC statement shall be included in final product manual
CAUTION: Any changes or modifications not expressly approved by the grantee of this device could void the user’s authority to operate the equipment. FCC Regulations This device complies with part 15 of the FCC Rules. Operation is subject to the following two conditions: (1) This device may not cause harmful interference, and (2) this device must accept any interference received, including interference that may cause undesired operation. This device has been tested and found to comply with the limits for a Class B digital device, pursuant to Part 15 of the FCC Rules. These limits are designed to provide reasonable protection against harmful interference in a residential installation. This equipment generates, uses and can radiate radio frequency energy and, if not installed and used in accordance with the instructions, may cause harmful interference to radio communications.However, there is no guarantee that interference will not occur in a particular installation. If this equipment does cause harmful interference to radio or television reception, which can be determined by turning the equipment off and on, the user is encouraged to try to correct the interference by one or more of the following measures:
- Reorient or relocate the receiving antenna.
- Increase the separation between the equipment and receiver.
- Connect the equipment into an outlet on a circuit different from that to which the receiver is connected.
- Consult the dealer or an experienced radio/TV technician for help.
This device contains licence-exempt transmitter(s)/receiver(s) that comply with Innovation, Science and Economic Development Canada’s licence-exempt RSS(s). Operation is subject to the following two conditions:
- This device may not cause interference.
- This device must accept any interference, including interference that may cause undesired operation of the device.



















