Poynting OMNI-493 25.4-inch Cellular Marine High-Gain Antenna

Packing Check List
| Item | Description | Quantity |
| 1. | A-OMNI-0493 Antenna only | 1 |
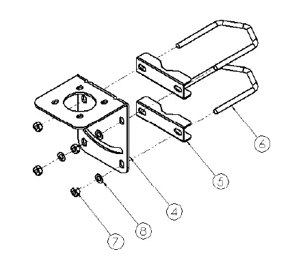
| 2. | M4 Allen Cap Screws | 4 |
| 3. | Allen key | 1 |
| 4. | L-Bracket | 1 |
| 5. | Econo bracket stainless steel | 2 |
| 6. | M6x90mm U-Bolts stainless steel | 2 |
| 7. | M6 Nuts/Nylock nuts stainless steel | 4 |
| 8. | M6 Flat Washers stainless steel | 4 |
| 9. | Adapter Base | 1 |
| 10. | Seal | 1 |
| 11. | Locking nut | 1 |
Appearance of Components
Antenna Unit

Adapter Base and Seal

Stainless Steel Bracket Assembly

Allen cap screw, allen key and locking nut

Optional Accessories
A-BRKT-037: Marine flat mount antenna bracket stainless steel

A-BRKT-038: Marine ratchet rail mount antenna bracket stainless steel

A-BRKT-039: Heavy duty marine mount antenna bracket stainless steel

Tools which may be required:
6mm Masonry drill bit

Impact drilling machine

Screw driver-Cross slot/Philips

Hammer

Introduction
This User Guide provides information on the installation instructions of the Omni-directional marine antenna (A-OMNI-0493)
Antenna Configuration 1
Pole mount with supplied L-Bracket
Exploded View

Antenna Configuration 2
Marine mount with optional bracketry using the provided allen key.
Exploded View

Installation Instructions
- Open the antenna package and confirm that all listed components are available.
- Consider the antenna mounting precautions below before installation.

Antenna Mounting Precautions
- Place the antenna at the highest point and ensure that there aren’t any surrounding obstructions to the antenna.
- In order to avoid communication interference, ensure that the antenna is placed at least 0.5m away from other antennas and metal objects.
- Avoid installing the antenna near a chimney, as the smoke and soot emitted by the chimney can obstruct the signal level achieved by the antenna.
- Install the antenna away from heat sources and flammable gases.
Cable Routing
- Survey the planned cable route and look for any blocked passages. Consider alternate routes to find the best available path. Always keep the cables as short as possible to make sure that minimum cable losses are achieved.
- Note: Take advantage of any existing cable channels. e.g wiring conduits to route the cables.
- Avoid running cables through components or sharp apertures that may cause excessive chafing. Doing so may erode the jacket and break signal continuity. Also, avoid kinking, pinching, or twisting a cable during a run.
- Use cable ties to secure the antenna cables.
- Never pull on the cable connectors; pull only on the cable.
- Tighten the connectors and ensure that the cables don’t rattle loose.
Safety
- If you are installing an antenna for the first time or unsure about how to install your antenna, obtain the help of a professional installer.
- Carefully survey the installation site before installation to locate secure handholds, dangerous conditions (such as power lines and weak roofs) and the safest and most convenient placement for ladders if necessary.
- The antenna may not be used as a climbing or pulling device.
- Considerations must be taken when mounting the antenna so that people do not hang or pull on it.
- When installing your antenna, remember:
- Do not install near power lines as they can electrocute you.
- Do not install on a wet or windy day or when there is lightning or thunder in the area.
- Wear shoes with rubber soles and heels, protective clothing (long sleeve shirt or jacket), and rubber gloves.
- Avoid installation while under the influence of drugs, alcohol or medication.
- Make sure that any loose-fitting jewellery or clothing is secured and tie back long hair as they can get caught in moving parts during installation.
- If the antenna assembly starts to fall, get away from it and let it fall to avoid harming yourself.
- When drilling, remember;
- Use safety goggles when drilling holes.
- Avoid using bits that are dull, bent or damaged.
- Be aware of where your fingers are in relation to the drill bit when using the drilling machine.
- To stop the drilling machine, let the drill chuck come to a complete stop on its own. Do not grasp the chuck in an attempt to stop the drill bit.
- Avoid awkward hand positions where a sudden slip could cause a hand to move into the drill bit or cutting tool.
CAUTION:
Antennas must be installed to provide a separation distance of at least 20cm from all persons so as to comply with SAR (Specific Absorption Rate) RF Exposure requirements. European Waste Electronic Equipment Directive 2002/96/please ensure that old waste electricals and electronics are recycled. Directive 2011/65/EU (RoHS 2)This product is fully compliant with the RoHS 2 directive.
South Africa
Unit 4, N1 Industrial Park Landmarks Ave Samrand, 0157 South Africa
Tel: +27 12 657 0050
[email protected]
Europe
Kronstadler Straße 4, 81677 München Germany
Tel: +49 89 2080 265 38
Mob.: +49 176 529 733 50
[email protected]


















