

Classic Kitchen Cart with Cabinet
B07MNBYN11, B07MND862G, B07MGL8651
Welcome Guide
Contents:
Before getting started, ensure the package contains the following components:


IMPORTANT SAFEGUARDS
Read these instructions carefully and retain them for future use. If this product is passed to a third party, then these instructions must be included.
When using the product, basic safety precautions should always be followed to reduce the risk of injury including the following:
- Do not let children climb on or play with the product.
- Always use on a firm, level ground.
- Do not sit on the product.
- Check to ensure that all components and fixings of this product are secure, do not use if you have any doubts about its fitness for purpose.
- To avoid scratching the floor, assemble the product on a soft surface such as a carpet.
Before First Use
- Check for transport damages.
DANGER Risk of suffocation! Keep any packaging materials away from children – these materials are a potential source of danger, e.g. suffocation.
Assembly
Step 1:

- Attach the towel bar (L) to the right panel (D). Secure the connection with 2 screws (V). Rotate the hex key (Z) clockwise.
- Attach the right panel (D) to the top panel (A). Secure the connection with 1 screw (V).
Step 2:

- Attach the lower back crossbar (I1), the lower front crossbar (J), the upper back crossbar (I2), and the upper front crossbar (K) to the right panel (D). Secure each connection with 1 screw (V) and 1 short wood dowel (R).
NOTICE Insert the screw covers (Y) after assembly step 4.
Step 3:

- Slide the back panel (G) into the grooves of the lower back crossbar (I1), upper back crossbar (I2), and the right panel (D).
Step 4:

- Attach the left panel (C) to the top panel (A), the lower back crossbar (I1), upper back crossbar (I2), upper front crossbar (K), and the lower front crossbar (J). Secure the connection with 4 short wood dowels (R) and 5 screws (V).
NOTICE Tighten all the screws after assembly step 4. Insert the screw covers (Y) on both side panels.
Step 5:

- Insert the 2 castors (W) and the 2 locking castors (X) into the holes at the bottom of the side panels (C/D).
Step 6:

- Lift the product carefully and place it on its wheels.
- Fit the bottom panel (H) into the bottom frame of the product.
- Fit the shelf (B) into the corresponding supports on the inside of the side panels.
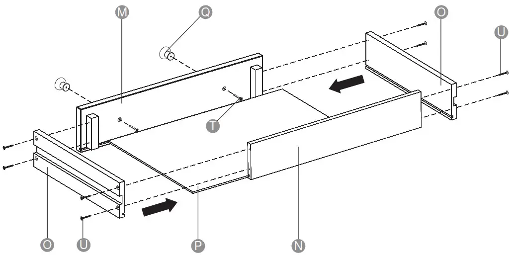
Step 7:

- Assemble the drawer by combining the front panel (M), the 2 side panels (O), the back panel (N), and the bottom board (P). Secure the connection with 8 screws (U).
- Attach 2 knobs (Q) to the front panel (M). Secure the connection with 2 screws (T).
Step 8:

- Slide the drawer into the drawer compartment.
- Insert the long wood dowel (S) into the corresponding hole at the bottom of the top panel (A).
Step 9:

- Attach 1 knob (Q) to the left door (F) and to the right door (E). Secure each connection with 1 screw (T).
Step 10:

- Attach the left door (F) and the right door (E) to the corresponding door hinges.
Cleaning and Maintenance
Cleaning
- To clean, wipe with a soft, slightly moist cloth.
- Never use corrosive detergents, wire brushes, abrasive scourers, metal, or sharp utensils to clean the product.
Maintenance
- Check the components regularly to make sure all screws and bolts are tightened.
- Store in a cool and dry place away from children and pets, ideally in original packaging.
- Avoid any vibrations and shocks.
Specifications
| Item number | Dimensions (W x H x D) | Weight | Color |
| BO7MNBYN11 | approx. 68.3 x 86.4 x 44.1 cm (26.9 x 34 x 17.4 in) | approx. 19.8 kg (43.6 Ibs) | Espresso |
| BO7MND862G | Rustic White | ||
| B07MGL8651 | Rustic Gray |
Warranty Information
To obtain a copy of the warranty for this product:
For US – Visit amazon.com/AmazonBasics/Warranty
For UK – Visit amazon.co.uk/basics-warranty
— or —
Contact Customer Service at 1-866-216-1072
Feedback
Love it? Hate it?
Let us know with a customer review.
AmazonBasics is committed to delivering customer-driven products that live up to your high standards. We encourage you to write a review sharing your experiences with the product.
Please visit: amazon.com/review/review-your-purchases#

https://www.amazon.com/review/review-your-purchases
For further services:
Visit: amazon.com/gp/help/customer/contact-us
— or —
Contact Customer Service at 1-866-216-1072

MADE IN THAILAND


















