QUICK FOOT™
VERSATILE FLASHED BASE PLATE
INSTALLATION GUIDE
Versatile Flashed Base Plate

QUIK FOOT
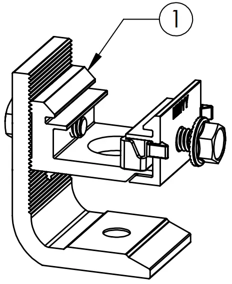
QuikFoot includes a base plate and uses two self-drilling attachment points for optimal pullout value. When paired with an EcoFasten compression bracket, the QuikFoot
flashing creates a watertight seal that will maintain the roof’s integrity.
FEATURES
- Patented Watertight Technology
- Installs without removing shingles
- Can be used on slate roofs
- Two self-drilling screws provide optimal strength
- Compatible with a variety of compression brackets
SYSTEM COMPONENTS

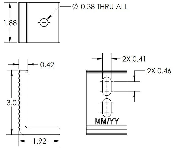
- L-FOOT SCL-101 BLK 3” (OTHER OPTIONS AVAILABLE)
- 5/16″ SERRATED FLANGE NUT
- 5/16″ EPDM BONDED SEALING WASHER
- EPDM SEALING WASHER
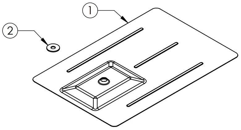
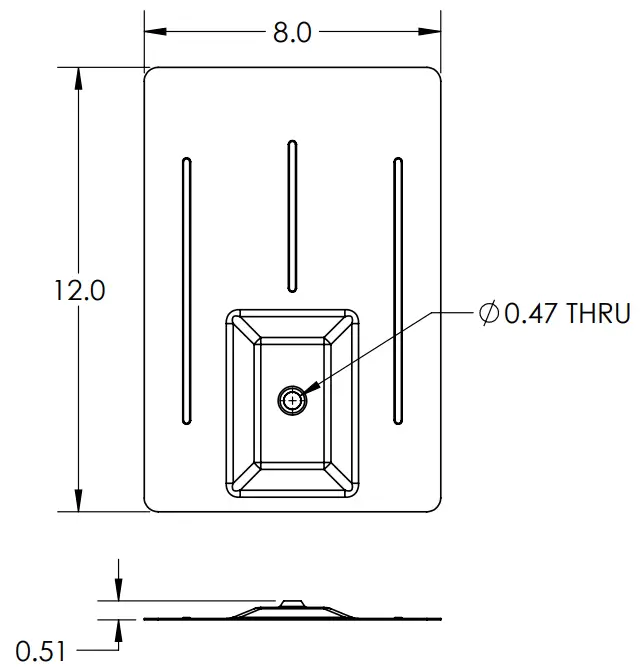
- QF FLASHING AL BLK 8X12″
- #15-13 SELF-DRILLING FASTENER (2X)
- QF BASE AL 1.25″
INSTALLING QUIKFOOT
Snap horizontal chalk lines to mark the position of each row. Find the rafters and mark the position for installation.

Place the QF Base over the rafter vertically and screw it down using two fasteners. The stud on the base plate should line up with the chalk line.

Slide the flashing over the base plate and under the row of shingles directly above the base plate. (If the course of shingles is elevated by the flashings, notching of the shingles is
acceptable)

Place the bare EPDM washer over the stud, pushing it all the way down. Then place an EcoFasten compression bracket over the stud and bare EPDM washer, followed by the bonded sealing washer with the rubber side facing down.

Secure the bracket to the stud using the serrated flange nut and torque to 50-inch pounds.

LINE DRAWINGS
CUT SHEET: QF BASE AL 1.25″
| PART NUMBER | DESCRIPTION |
| 3012014 | QF BASE AL 1.25″ |

| ITEM NO. | DESCRIPTION |
| 1 | QF BASE AL 1.25″, ASSEMBLY |
| 2 | SS SERRATED FLANGE LOCK NUT, 3/8-16 |
| 3 | 3/8 STAINLESS STEEL AND EPDM BONDED SEALING WASHER |
1) QF BASE AL 1.25″, ASSEMBLY

| Material | Aluminum/Steel |
| Finish | Mill |
2) SS SERRATED FLANGE LOCK NUT, 3/8-16

| Material | Stainless Steel |
| Finish | Mill |
3) 3/8 STAINLESS STEEL AND EPDM BONDED SEALING WASHER

| Material | Stainless Steel/EPDM |
| Finish | Mill |
CUT SHEET: QF FLASHING AL BLK 8X12
| PART NUMBER | DESCRIPTION |
| 3012016 | QF FLASHING AL BLK 8X12″ |

| ITEM NO. | DESCRIPTION |
| 1 | QFL 8X12 MATTE BLK FLASHING |
| 2 | EPDM SEALING WASHER |
1) QFL 8X12 MATTE BLK FLASHING

| Material | Aluminum |
| Finish | Black |
2) EPDM SEALING WASHER

| Material | EPDM |
| Finish | Black |
CUT SHEET: L-FOOT L-102 BLK 3”
| PART NUMBER | DESCRIPTION |
| 3011015 | L-FOOT L-102 BLK 3″ |

| ITEM NO. | DESCRIPTION |
| 1 | L-102-3 AND BLK |
| 2 | SS HEX HD CAP SCREW, FULL THD, 3/8-16 UNC X 1.25 LONG |
| 3 | SS SERRATED FLANGE LOCK NUT, 3/8-16 |
1) L-102-3 ANOD BLK

| Material | Aluminum |
| Finish | Black |
CUT SHEET: L-FOOT L-102 MLL 6”
| PART NUMBER | DESCRIPTION |
| 3011016 | L-FOOT L-102 MLL 6″ |

| ITEM NO. | DESCRIPTION |
| 1 | L-102-6 |
| 2 | SS HEX HD CAP SCREW, FULL THD, 3/8-16 UNC X 1.25 LONG |
| 3 | SS SERRATED FLANGE LOCK NUT, 3/8-16 |
1) L-102-6

| Material | Aluminum |
| Finish | Mill |
CUT SHEET: L-FOOT SCL-101 MLL 3”
| PART NUMBER | DESCRIPTION |
| 3011017 | L-FOOT SCL-101 MLL 3″ |

| ITEM NO. | DESCRIPTION |
| 1 | L FOOT W/ STANDARD DIMPLE AND OPEN SLOT, 3 IN TALL MLL |
| 2 | SS HEX HD CAP SCREW, FULL THD, 3/8-16 UNC X 1.25 LONG |
| 3 | SS SERRATED FLANGE LOCK NUT, 3/8-16 |
1)L FOOT W/STANDARD DIMPLE AND OPEN SLOT, 3 IN TALL MLL

CUT SHEET: L-FOOT SCL-101 BLK 3”
| PART NUMBER | DESCRIPTION |
| 3011018 | L-FOOT SCL-101 BLK 3″ |

| ITEM NO. | DESCRIPTION |
| 1 | L FOOT W/ STANDARD DIMPLE AND OPEN SLOT, 3 IN TALL BLK |
| 2 | SS HEX HD CAP SCREW, FULL THD, 3/8-16 UNC X 1.25 LONG |
| 3 | SS SERRATED FLANGE LOCK NUT, 3/8-16 |
1)L FOOT W/STANDARD DIMPLE AND OPEN SLOT, 3 IN TALL BLK

CUT SHEET: CF UNIV L-FOOT MLL 3”
| PART NUMBER | DESCRIPTION |
| 2012022 | CF UNIV L-FOOT MLL 3″ |

| ITEM NO. | DESCRIPTION |
| 1 | CLICK FIT L FOOT ASSEMBLY |
1) CLICK FIT L FOOT ASSEMBLY
| Material | Aluminum/Stainless Steel |
| Finish | Mill |
DECK SCREW SS
| PART NUMBER | DESCRIPTION | LENGTH (L) |
| 3016010 | DECK SCREW SS #15X2″ | 2″ |
| 3016011 | DECK SCREW SS #15X3″ | 3″ |
| 3016012 | DECK SCREW SS #15X4″ | 4″ |

| ITEM NO. | DESCRIPTION |
| 1 | ROOFING SCREW, DRILL POINT, BLACK |
1) ROOFING SCREW, DRILL POINT, BLACK

| Material | Steel |
| Finish | Black |
SPECIFICATIONS
SYSTEM COMPONENTS
- QF Base AL 1/25″:
Consists of (1) stainless steel base plate attachment bracket with (1) a pre-installed stainless steel stud, (1) stainless steel serrated flange nut, and (1) an EPDM sealing washer. The base is made out of 6000 series aluminum. - QF FLASHING AL BLK 8X12″:
Black finish (Kynar painted) .032 gauge aluminum, embossed. - Fastener:
Self-drilling #15 roofing screws are available from Ecofasten in 2”, 3”, and 4” lengths. Third-party fasteners that have been approved by the engineer of record are permissible. - Recommended Sealant:
If required by the roof manufacturer, sealant shall be roof manufacturer-approved.
DELIVERY / STORAGE / HANDLING
Inspect material upon delivery. Notify the manufacturer within 24 hours of any missing or defective items. Keep material dry, covered and off the ground until installed.
PATENTS
Visit www.efpatents.com for patent information.
DESIGN REQUIREMENTS
- Bracket spacing is to be recommended by the project engineer.
- Install a minimum of two fasteners per base plate.
- It is important to design new structures or assess existing structures to make sure they withstand retained loads.
EXAMINATION
- Substrate: Inspect the structure on which brackets are to be installed and verify that it will withstand any additional loading that may be incurred.
- Notify the General Contractor of any deficiencies before installing EcoFasten Solar brackets.
- Verify that the roofing material has been installed correctly prior to installing the solar attachment bracket.
INSTALLATION
Comply with architectural drawings and the project engineer’s recommendation for the location of the system. Comply with the Manufacturer’s written installation instructions for installation and layout.
4141 W. VAN BUREN ST, SUITE 2, PHOENIX AZ 85009
1 – 877 – 859 – 3947 | [email protected]
REVISION: 08/02/22
VERSION: V2.3

















