Nokeval Ovazone-Cell-Link-MTR-RS485-3G Base Station for 2.4 GHz and 433.92MHz

Introduction
Ovazone-Cell-Link-MTR-RS485-3G is a base station for 2.4 GHz and 433.92MHz Nokeval-transmitters and part of Nokeval Ovazone product family. It receives and buffers radio packets to its non-volatile memory and transmits them over GSM to Ovaport network service, thus enabling reliable remote data acquisition from the field straight to the servers located in a data center.
Serial interface
The base station can be connected to standard Modbus RTU transmitters and to Nokeval devices with SCL protocol using the integrated RS485 bus. The base station’s reliability is increased by theal backup battery, which enables uninterrupted data acquisition also during external power interruptions.
Ovanet
Ovanet is Nokeval’s second generation radio network, which uses Wirepas Pino technology and Nokeval’s own additions. The network uses 2.4-2.48 GHz band, which is available all over the world. The product names basically begin with the Ovazone prefix. Every device in the network, also battery powered ones, will function as a repeater by assisting devices located far away from the gateway, effectively forming a mesh network. The network has node devices producing measurement data, and one or more gateways. The gateway connects the network to other systems. Examples of the gateway devices are Ovazone-Wave-Link and Ovazone-Cell-Link. They are used to deliver the data of the radio network to the Ovaport service. Each device, including nodes and gateways, has to be set with the same Ovanet network. The Ovanet network number has to be chosen between 1-16777214. It should be generated with a random number generator, to minimize the probability to accidentally choose the same network number as in another network located nearby.
By default, the devices are set to the network number 6829663, which can be used if there are no other Ovanet or Wirepas Pino networks within a couple of hundred meters. If two networks have the same number by accident, the node devices may connect to a wrong network and the data is not delivered to the desired gateway.
Each device has a unique Ovanet address. It is set at the factory and there is no need to change it. The address is visible in the back label of the device. The devices automatically change their radio frequency seeking suitable frequencies in the crowded 2.4 GHz band. However, at power-up the devices need to find other devices in the network, for which a common radio frequency is needed. All the devices of the network need to be set to the same radio channel between 1-28. Usually the default channel 1 is ok. There is no need to configure any other radio network settings. The network searches automatically for the best connections and updates them if needed. The open space range between the nodes is about 200 meters and indoor range is some tens of meters depending on the construction materials. Placing the devices near a metal surface will decrease the range.
Installation
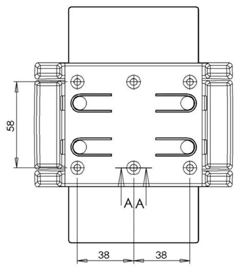
Wall holder
Install the base station to a wall or some other suitable surface with the separate wall holder. See the following dimensional drawing for the wall holder’s mounting hole distances. Use fastening accessories suitable for the wall material, like plugs and screws. The screws need to have a countersunk head.

Installation location
Choose an installation location that it is central in relation to the radio transmitters. The base station has to be installed vertically. The base station is splash proof, but the location has to be chosen in a way that will not expose it to water or hot steam. Please note that the AC socket and the power supply are not splash proof. The location must have GSM/GPRS/3G network coverage. This can be verified before the final installation steps by powering on the base station and checking coverage icon on the display. Installation location must have one free AC socket for the power supply.
Connections
Every Ovazone-Cell-Link-MTR-RS485-3G base station model has one or two connectors in the lower part of the enclosure. Every model has an M12 type female connector (receptacle) and a detachable male connector (plug). The connector has four pins and it is a combined power supply and serial connector. The table below describes the function of each pin.
| Pin | Symbol | Description |
| 1 | +VDC | Power supply positive pin, 18…28 VDC |
| 2 | D0 | RS-485 bus D0 pin |
| 3 | GND | Power supply negative pin, RS-485 bus ground |
| 4 | D1 | RS-485-bus D1 pin |
The diagram below presents the connector pinout looking towards the base station’s female connector. The same pinout is valid for an opened male connector looking towards the terminal screws. Please note the polarizator location in the diagram between pins 1 and 2. The detachable M12 connector supplied with the base station has numbering inside the connector next to the screw terminals.

The picture below shows the male connector pinout looking into the connector.

This example picture illustrates how the base station can be connected to an RMD680 / RMD681 transmitter by sharing one 24 VDC power supply.

RS-485 bus information
RS-485 is a serial bus type commonly used in the industry. It is based on two data lines D0 and D1, which are connected in parallel with all the devices connected to RS-485 bus and D0 and D1 pins. To even up the electric potential between different devices, a third wire is also needed. In the above example picture the blue ground wire evens the potential differences between the devices. Branches in the bus should be avoided, in other words the bus cabling should circulate through all the devices without branches. The maximum recommended length of the bus is 1 km. The cable should be twisted pair and the wire diameter should be at least 0.5 mm. To ensure EMC compliance the RS-485 bus cable should no more than 30 meters long. The bus is bidirectional. Only one device at a time can send data, during which other devices listen. Only one device connected to the bus is set as master, in other words as a chairman, which starts all conversations on the bus. Other devices are slaves and they only answer to queries of the master. Each device connected to the bus has its unique bus address, which the master device uses to direct its commands to a specific device. The base station functions as an RS-485 bus-master and queries the measurement data from other devices on the bus. In a typical application, such as the one presented in the diagram above, the base station regularly queries the RMD680 / RMD681 transmitter’s measurement data and sends it to the Ovaport server.
Radio receiver antenna connector
The base station top part has the radio receiver’s female BNC connector. The base station is supplied with a suitable antenna. Attach the antenna to the connector to complete the installation.
Configuring the device
There is usually no need to configure the device since most of the settings are already at their best defaults. However, if you want to see what kind of settings there are or edit settings, use MekuWin program and DCS772 (USB-POL converter). You can download MekuWin from Nokeval’s web site www.nokeval.com for free.
Connection settings
Communication settings for configuration:
- baud rate 9600
- protocol SCL
- address 0
Programming connector
The device has a 3PIN POL programming connector. Use POL-3PIN adaptor to connect the DCS772 to the device. The 3PIN POL programming connector can be connected in both ways.
Configuring if Modbus use is needed
If Modbus is used, then the device has to be re-configured for Modbus use in Serial Communication sub menu:
Config Serial communication Protocol
- Modbus
- WXT5x0
- Ascii
- SCL.
Choose Modbus.
- 300
- 600
- 1200
- 2400
- 4800
- 9600
- 19200
- 38400
- 57600
- 115200
- 230400
Choose the desired baud rate.
- 8N1
- 8N2
- 8E1
- 8O1
Usually choose 8E1.
- 1
- 2
- 3
- 4
- 5
After the command, the response is expected to receive from device in the timeout period. If the time is exceeded and no response received, an error is set. Usually choose 1. The number of different Modbus queries. The maximum is 64. Each device that is being queried needs at least one query and if the same device is queried for multiple information which is not in subsequent registers or they have different data types, multiple queries are needed.
Config Serial communication Overview
- Not used (Results setting zero)
- OK
- Incorrect settings – Conf settings are incorrect
- Limited – Only part of the sequential results is fetched, because virtual ID has overlapping with some other Modbus query or “internal status” result.
- Blocked – The result is not fetched, because virtual ID has overlapping with some other Modbus query or “internal status” result.
- Unrecognized data – Modbus reply is wrong type or wrong length.
- Timeout – Modbus replay was not received.
- Exception – Modbus device returned error code.
- CRC error
- Unknown error
Overview views Modbus queries and replies status and the first result. For example “OK 24.2”, “Timeout”, CRC error”, “Unrecognized data” and so on.
Config Serial communication
- Query 1
- Query 2
Modbus device address.
Config Serial communication Query x Register type
- Input Register
- Holding Register
- Discrete input
- Coil status
Modbus command / register type (search info on this from the other device’s manual). Discrete input and Coil status registers are bit data and the result will be either 0 or 1.
Config Serial communication Query x Register
Register address (search info on this from the other device’s manual).
Config Serial communication Query x Results
- 1
- 2
- …
- 62
The number of subsequent results that can be read. The maximum is 62.
Config Serial communication Query x Data type
- Sint 16-bit
- Uint 16-bit
- Sint 32-bit BE
- Uint 32-bit BE
- Sint 32-bit LE
- Uint 32-bit LE
- Float BE
- Float LE
- Bit field
Data type type when register type is Input Register or Holding Register (search info on this from the other device’s manual).
When needed, divides the result with decades (moves comma left). Usable with integers.
Config Serial communication Query x Virtual ID
The Virtual ID of the first result of the Modbus query. In the Ovaport Measuring points settings the “device address” and this virtual ID must match each other.
Config Serial communication Query x Status
- Not used (Results setting zero)
- OK
- Incorrect settings – Conf settings are incorrect
- Limited – Only part of the sequential results is fetched, because virtual ID has overlapping with some other Modbus query or “internal status” result.
- Blocked – The result is not fetched, because virtual ID has overlapping with some other Modbus query or “internal status” result.
- Unrecognized data – Modbus reply is wrong type or wrong length.
- Timeout – Modbus replay was not received.
- Exception – Modbus device returned error code.
- CRC error
- Unknown error
Overview views Modbus queries and replies status and the first result. For example “OK 24.2”, “Timeout”, CRC error”, “Unrecognized data” and so on.
Examples of the Modbus settings
The following examples are in the test connection where FT20, TTM20X, Eurotherm 2216e and RMD681 were connected to Modbus line and where Virtual IDs were set as follows.
| The device / reading | Slave Address | Virtual IDs | |
| Internal measurements | 0…2 | ||
| FT20 | 4 | 3…5 | |
| TTM20X | 2 | 6 | |
| Eurotherm 2216e | 1 | 7 | |
| RMD681 | 3 | 8…15 | |
| Config / Modbus | |||
| Baud rate | 19200 | ||
| Bits | 8E1 | ||
| Timeout[s] | 1 | ||
| Query interval[das] | 3 | ||
| Queries | 4 | ||
| Overview | -> | ||
| Query 1 | -> | ||
| Query 2 | -> | ||
| Query 3 | -> | ||
| Query 4 | -> | ||
Example of the Modbus settings for RMD681
| Config / Modbus / Query 1 | |
| Slave | 3 |
| Register Type | Input Register |
| Register | 0 |
| Results | 8 |
| Data type | Float LE |
| Divider | – |
| Virtual ID | 8 |
| Status | OK 25.2 |
Example of the Modbus settings for FT20
| Config / Modbus / Query 2 | |
| Slave | 4 |
| Register Type | Input Register |
| Register | 1000 |
| Results | 3 |
| Data type | Sint 16-bit |
| Divider | 10 |
| Virtual ID | 3 |
| Status | OK 15.3 |
Example of the Modbus settings for TTM20X
| Config / Modbus / Query 3 | |
| Slave | 2 |
| Register Type | Holding Register |
| Register | 0 |
| Results | 1 |
Example of the Modbus settings for Eurotherm 2216e
| Config / Modbus / Query 4 | |
| Slave | 1 |
| Register Type | Input Register |
| Register | 1 |
| Results | 1 |
| Data type | Sint 16-bit |
| Divider | Off |
| Virtual ID | 7 |
| Status | OK 28.0 |


Conf menu
The configuration menu settings are mainly for the manufacturer use, and most of them are not explained in this manual. Support for purpose of these settings are available on request on [email protected]
Mon menu
The monitor menu settings are menu settings are mainly for the manufacturer use, and most of them are not explained in this manual. Support for purpose of these settings are available on request on [email protected]
Cal menu
The calibration menu settings are only for the manufacturer use, and they are not explained in this manual.
Usage
The base station will not require any continuous operations or actual use from the user. The device works independently and will not usually require operations after installation. However, from time to time, check that the device is still functional.
Multifunction button
In normal mode, LED bar indicates GSM signal strength. Short press of multifunction button sets the LED bar indicates the RAM buffer consumption. Second short press sets the LED bar indicates FLASH memory consumption. Third press return the LED bar to indicates GSM signal strength. See below LED F1. Long press sets the device to firmware OTA update mode. See below LED F2.If the battery low alarm sound, it can be acknowledged by a short press. See below LED BAT.
LEDs
| Blinks green | GSM-modem is starting up. |
| Blinks yellow | There is no SIM-card in place. |
| Solid green | GSM-modem has 3G connection. |
| Solid yellow | GSM-modem has 2G connection. |
| Blinks red | GSM-modem replies: Registration denied. |
| Solid red | GSM-modem is unable to communicate with the internal processor. |
SRV
| Off | When there is no IP-address. |
| Blinks yellow | When it tries to connect to Ovaport. |
| Blinks green | When in connection to Ovaport and tries to “shake hand”. |
| Solid green | When in connection to Ovaport and handshake is successful. |
| Blinks green about every 10 s | Received a packet from the MTR network (433,92 MHz) within 1 min 30 s. |
| Solid yellow | There are packets in the flash buffer that hasn’t been send to Ovaport (also blinks green every 10 s if new packets arrive). |
| Solid red | Flash buffer is full (also blinks green every 10 s if new packets arrive). |
| Blinks green about every 10 s | Received a packet from the Ovanet network (2,4 GHz) within 1 min 30 s. |
| Off | No neighbours found at Ovanet network. |
| Blinks yellow about every 10 s | When it has neighbours (transit to blink green, once it gets measurement packets). |
| Solid red | When Wirepass (Ovanet) signals an error or internal processor can’t communicate with the Wirepass (Ovanet) processor. |
| Off | No queries are setup. |
| Blinks green | Queries are setup and it gets an answer. |
| Blinks yellow | Queries are setup, but some of them doesn’t work. |
| Solid red | None of the queries work. |
F1
GSM-bars will display the fill state of RAM or FLASH buffer (to enter this state one must press multifunction button that is right above the power button)
| Off | GSM-bars will display the GSM signal strength. |
| Solid green | GSM-bars will indicate the fill state of ram buffer*. Ram buffer is displayed with green bars. |
| Blink green | GSM-bars will indicate the fill state of flash buffer*. Flash buffer is displayed with yellow bars. |
Following LEDs are turned off: RS485, RF2, RF1, SRV, GSM. Will return to normal state automatically in 30 s.
F2
Long press of the multifunction button will trigger an OTA update (if update is unsuccessful the device will return to normal state)
| Off | Update is not in progress. |
| Blinks green | Connecting to the update server. |
| Solid green | Update found and is being downloaded. |
| Solid red | Can’t connect to update server. |
| Solid green | Battery voltage is >2.8 V. |
| Solid yellow | Battery voltage is between 2.8-2.3 V. |
| Solid red | Battery voltage is between 2.3-2.1 V. |
| Blinks red & alarm sounded* | Battery voltage is <2.1 V. |
| Blinks green | Power supply is connected and is feeding power. |
| Blinks yellow | The devices operates battery powered. |
| Solid red | The device is turning off. |
Maintenance
Cleaning
The device is made from shock-proof technical plastic and the seams are sealed with a rubber casket. It can be cleaned by wiping with a damp cloth. The device is not meant to be immersed into water or other liquids.
Service
If Bat LED indicates low battery voltage (red, see above BAT LED), batteries (2 pcs type D) need to be replaced. The device does not need other regular service or maintenance.
Troubleshooting
The base station cannot connect to GSM-network.
Is the SIM-card installed inside the base station? Is PIN-code set with the setting application? Is there a sufficient coverage at the installation location? If needed, contact support.
The update was not successful.
The battery level needs to be above certain level to start the search for the new firmware. If the search will not start, change the battery and try to find a place with a better GSM-coverage or more reliable Ethernet connection. The battery level needs to be above certain level, to start the flashing of new firmware. If the update will not work at all or you want to send the device for service contact Nokeval support with the contact information given below.
Specifications
Environment
- Storage temperature -20…+45 °C
- Operating temperature -20…+45 °C
- Battery charge temperature +10…+40 °C
- Operating humidity 5…95 %RH, non-condensing
- Protection class IP65, except power supply which is IP20
- Enclosure material Plastic (PC+ABS), silicon rubber
- Compatibility Nokeval FT-, FTR-, MTR- ja BEAT series 433.92 MHz MTR-radio transmitters,
- Ovazone series devices and Ovaport network service.
Measurements
- Weight About 850 g including the wall holder and an external antenna
- Maximum dimensions Height 212 mm without the antenna, about 383 mm with the antenna
- Width 134 mm
- Depth 67 mm
- LEDs 14 dual-color LEDs.
- Buttons 2 buttons: power on/off and multifunction.
Internal memory for buffered results
Type Non-volatile FLASH memory
Capacity About 500 000 measurements.
Battery
Type 2 pcs Type D batteries.
Backup running time About 5 days at +20°C temperature.
About 8 hours at -20°C temperature.
Radio 2.4 GHz transceiver
- Antenna Internal antenna
- Frequency 2.400-2.485 GHz worldwide license-free ISM band
- Power max 5 dBm E.R.P.
- Open space range 200 m maximum
- Indoor range 10 to 30 m typical (node to node)
433.92 Mhz radio receiver
- Antenna External detachable quarter-wave antenna with BNC antenna connector
- Frequency License-free 433.92 MHz ERC/REC/70-03 sub-band f
GSM modem
- Antenna Internal chip antenna
- Type Four band EGSM/GPRS/HSDPA (3G)
- SIM card 1.8/3 V auto detect, internal, locking mechanism
Power supply
- Voltage 18…28 VDC
- Current < 500 mA
- Power 4 pin M12 receptacle, female
Other
- Firmware update Over- The-Air (OTA) firmware update
- RS485 external connector pins Modbus RTU or Nokeval SCL protocols
Warnings
Warning! This device contains a license-free ISM band (433.92 MHz) SRD radio transmitter and a 2.4 GHz radio transceiver. Observe local regulations concerning the use of such radio transmitters. Never start or use this device near explosion hazard areas or in areas where the use of radio transmitters has been limited, such as in airplanes, near medical instruments, near flammable liquids or chemicals or near explosion work sites. Do not leave the device in direct sunlight or some other place, like in a parked car, where temperature can rise to over +50°C. The battery may overheat and cause fire or explosion hazard. Read this manual carefully before using the device. Only Nokeval authorized services may repair or modify the device. The device contains no user serviceable parts. The device must not be disposed of in household waste. Observe local regulations concerning the disposal of electrical waste. The device contains a battery.
Trademarks
All trademarks mentioned are the legal property of their respective owners.
Manufacturer
Nokeval Oy Rounionkatu 107 FI-37150 Nokia Finland
- Phone +358 3 342 4800 (Mon-Fri 8:30-16:00 EET)
- WWW http://www.nokeval.com/
- http://www.ova.fi/en/
- Email [email protected],
- [email protected]



















