TRIO LIGHTING 672819202 Floor Ceiling Lamp

WARNING!
Before assembling, please read carefully the safety instructions!.
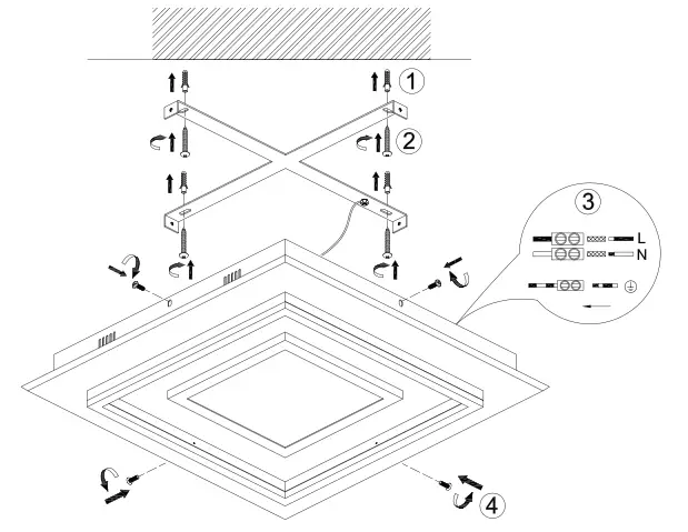
INSTALLATION 
SPECIFICATION
- 230V~50Hz 1 x LED / 31W
TRIO Leuchten GmbH
Gut Nierhof 17
D-59757 Arnsberg
www.trio-lighting.com
This product contains light source(s) of energy efficiency class(es)
TRIO Leuchten GmbH TRIO International GmbH
Gut Nierhof 17
D-59757 Arnsberg
www.trio-lighting.com
WEEE-Reg. Nr.: DE78273666
- TRIO Lighting Ibérica s.l.: RAEE 4544
- TRIO Lighting Italia s.r.l.: RAEE IT13020000007829
- TRIO Lighting Scandinavia Oy: WEEE PIR2005Y354114/2114






















