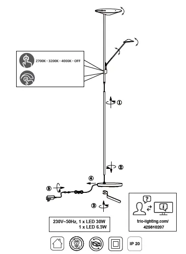
TRIO LIGHTING 425610207 LED Floor Lamp

WARNING! Before assembling, please read carefully the safety instructions!

This product contains light source(s) of energy efficiency class(es) F
T RIO Leuchten GmbH | Gut Nierhof 17 | D-59757 Arnsberg | www.trio-lighting.com




















