Current ALB062 Albeo LED Luminaire Modular High & Low Bay Lighting Installation Guide
BEFORE YOU BEGIN
WARNING
RISK OF ELECTRIC SHOCK
- Turn power off before inspection, installation or removal.
- Properly ground electrical enclosure.
RISK OF FIRE
- Follow all NEC and local codes.
- Use only UL or IEC approved wire for input/output connections. Minimum size 18 AWG.
This device complies with Part 15 of the FCC Rules. Operation is subject to the following two conditions: (1) This device may not cause harmful interference, and (2) this device must accept any interference received, including interference that may cause undesired operation. CAN ICES-005 (A) / NMB-005 (A).
This equipment has been tested and found to comply with the limits for a Class A digital device, pursuant to part 15 of the FCC Rules. These limits are designed to provide reasonable protection against harmful interference when the equipment is operated in a commercial environment. This equipment generates, uses, and can radiate radio frequency energy and, if not installed and used in accordance with the instruction manual, may cause harmful interference to radio communications. Operation of this equipment in a residential area is likely to cause harmful interference in which case the user will be required to correct the interference at his own expense.
Save These Instructions
Use only in the manner intended by the manufacturer. If you have any questions, contact the manufacturer.
NOTE: Contact the manufacturer for details and limitations when seeking to incorporate this product with an emergency system other than Battery Backup.
NOTE: CONTACT FACTORY for details and limitations when seeking to incorporate this product with an emergency system other than Battery Backup
Prepare Electrical Wiring

Electrical Requirements
The LED driver must be supplied with 120-480 VAC, 50/60 Hz per product label and connected to an individual properly grounded branch circuit, protected by a 15 or 20 ampere circuit breaker.

Grounding Instructions
The grounding and bonding of the overall system shall be done in accordance with National Electric Code (NEC) Article 600 and local codes.
Package Contents

Installation Instructions













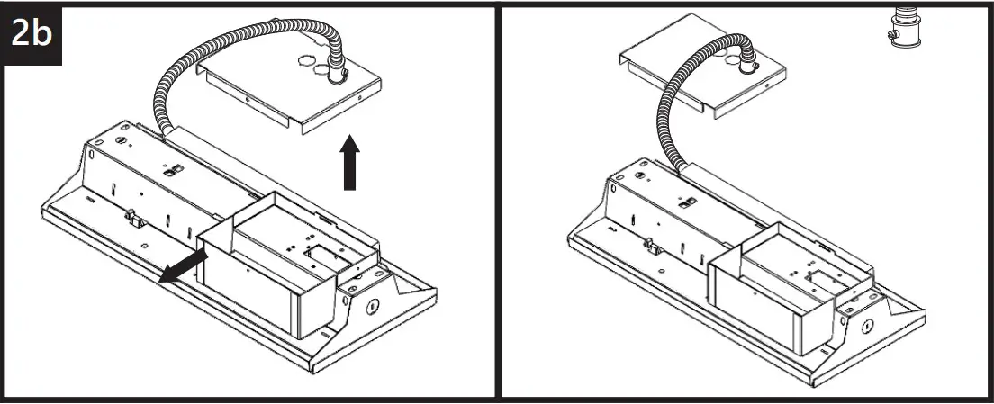
Assembly Instructions





| N | White 2 |
| Green 3 | |
| +DIM | Violet/White Stripe |
| -DIM | Pink |
| L (unswitch) | Black |
| L (switch) | Red |
| White | Black | Red | Green | Violet | Pink | |
| French (FR) | Blanc | Noir | Rouge | Vert | Violet | Rose |
| Portugese (PT) | Branco | Preto | Vermelho | Verde | Violeta | Cor de rosa |
| Spanish (ES) | Blanco | Negro | Rojo | Verde | Violeta | Rosa |
Troubleshooting
| Symptom | Solution |
| Luminaire will not turn on |
|
Custamer Support
© 2022 Current Lighting Solutions, LLC. All rights reserved. Information and specifications subject to change without notice. All values are design or typical values when measured under laboratory conditions.



















