GE current ALB077 Albeo LED Luminaire

WARNING
RISK OF ELECTRIC SHOCK
- Turn the power off before inspection, installation, or removal.
- Properly ground electrical enclosure.
RISK OF FIRE
- Follow all NEC and local codes.
- Use only UL or IEC-approved wire for input/output connections. Minimum size 18 AWG.
FCC STATEMENT
This device complies with Part 15 of the FCC Rules. Operation is subject to the following two conditions:
- This device may not cause harmful interference, and
- This device must accept any interference received, including interference that may cause undesired operation. CAN ICES-005 (A) / NMB-005 (A).
This equipment has been tested and found to comply with the limits for a Class A digital device, pursuant to part 15 of the FCC Rules. These limits are designed to provide reasonable protection against harmful interference when the equipment is operated in a commercial environment. This equipment generates, uses, and can radiate radio frequency energy and, if not installed and used in accordance with the instruction manual, may cause harmful interference to radio communications. Operation of this equipment in a residential area is likely to cause harmful interference in which case the user will be required to correct the interference at his own expense.
Save These Instructions
- Use only in the manner intended by the manufacturer.
- If you have any questions, contact the manufacturer.
Prepare Electrical Wiring
Electrical Requirements
The LED driver must be supplied with 120 – 480 VAC, 50/60 Hz per product label, and connected to an individual properly grounded branch circuit, protected by a 15 or 20-ampere circuit breaker.
Grounding Instructions
The grounding and bonding of the overall system shall be done in accordance with National Electric Code (NEC) Article 600 and local codes.
What’s In The Box


Installation Instruction




| 120/277V | |
| L | Black 1 |
| N | White 2 |
| Green 3 | |
| +DIM | Violet/White Stripe |
| -DIM | Pink |
| 347/480V | 347/480V Factory installed cable | |
| L | Red 1 | Black |
| N | Black 2 | White |
| Green 3 | ||
| +DIM | Violet/White Stripe | |
| -DIM | Pink | |



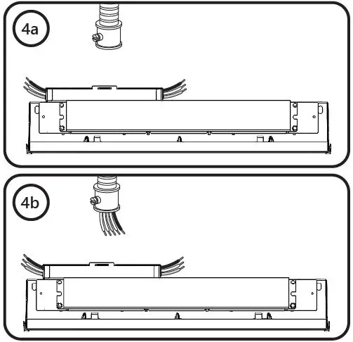
- For 347/480v only see the below steps in the opening box.
- For 120/277V follow the same steps in accessing the Knock Out plate for wiring.


Troubleshooting
| Symptom | Solution |
| Luminaire will not turn on | • Check that the color of the supply side wires matches the color of the wires they are connected to. • Check that all wire connectors are properly connected. • Verify that your input voltage is within specs. • If you are using any additional controls (i.e. wireless controls/motion sensors), please also verify that those are working properly and that the unit is set up to interface with the controllers. |
© 2022 Current Lighting Solutions, LLC. All rights reserved. GE and the GE monogram are trademarks of the General Electric Company and are used under license. Information provided is subject to change without notice. All values are designed or typical values when measured under laboratory conditions.
www.gecurrent.com. ALB077 (Rev 01/25/22)





















