BOPLA BOP 700 Handheld Casing

Inhalt Content
BE-4MN (Mignon AA)
BE-4MC (Micro AAA)

BE-4MN (Mignon AA)
BE-4MC (Micro AAA)

INSTALLATION
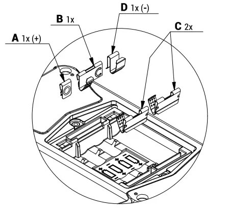
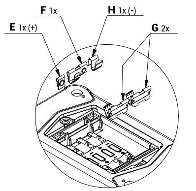
In order to ensure a convenient assembly, double contacts should be inserted in a slightly tilted position contact tab pointing down (1). Afterwards press them straight down to their final position (2).
For proper assembly please make sure that contact tabs (minus) are always facing flat contacts (plus) (3). Plus and minus contacts should match the molded +/- battery symbols (4).
- ADDRESS: Bopla Gehäuse Systeme GmbH Borsigstr. 17-25 D-32257 Bünde
- Tel.: +49 (0) 52 23/969-0
- Fax: +49 (0) 52 23/969-100
- www.bopla.de
- [email protected]
- Art-Nr. Mat. no. 35999902



















