
P I T PMI220-C Inverter Welding Machine
Safety Notes
General Power Tool Safety Warnings
WARNING Read all safety warnings and all instructions.
Failure to follow the warnings and instructions may result in electric shock, fi re and/or seri-ous injury.
Save all warnings and instructions for fu-ture reference.
The term “power tool” in the warnings refers to your mainsoperated (corded) power tool or battery-operated (cordless) power tool.
Work area safety
- Keep work area clean and well lit.Clut-tered or dark areas invile accidents.
- Do not operate power tools in explosive atmospheres. such as in the presence of flammable liquids, gases or dust. Power tools create sparks which may ig-nile the dust or fumes.
- Keep children and bystanders a way while operating a power tool. Distrac-tions can cause you to lose control.
Electrical safety
- Power tool plugs must match the outlet. Never modify the plug in any way. Do not use any adapter plugs with earthed (grounded) power tools. Unmodified plugs and matching outlets will reduce risk of electric shock.
- Avoid body contact with earthed or grounded surfaces, such as pipes, radi-ators, ranges and refrigerators. There is an increased risk of electric shock if your body is earthed or grounded.
- Do not expose power tools to rain or wet conditions. Water entering a power tool will increase the risk of electric shock.
- Do not abuse the cord. Never use the cord for carrying, pulling or unplugging the power tool. Keep cord away from heat, oil, sharp edges and moving parts. Damaged or entangled cords increase the risk of electric shock.
- When operating a power tool outdoors, use an extension cord suitable for out-door use. Use of a cord suitable for out-door use reduces the risk of electric shock.
- If operating a power tool in a damp location is unavoidable, use a residual current device (RCD) protected supply. Use of an RCD reduces the risk of electric shock.
Personal safety
- Stay alert, watch what you are doing and use common sense when operating a power tool. Do not use a power tool while you are tired or under the influ-ence of drugs, alcohol or medication. A moment of inattention while operating power tools may result in serious personal injury.
- Use personal protective equipment. Always wear eye protection. Protective equipment such as a dust mask, non-skid safety shoes, hard hat or hearing protec-tion used for appropriate conditions will reduce personal injuries.
- Prevent unintentional starting. Ensure the switch is in the off -position before connecting to a power source and/or battery pack, picking up or carrying the tool. Carrying power tools with your fi nger on the switch or energizing power tools that have the switch on invites accidents.
- Remove any adjusting key or wrench before turning the power tool on. A wrench or a key left attached to a rotating part of the power tool may result in personal injury.
- Do not overreach. Keep proper footing and balance at all times. This enables better control of the power tool in unexpected situations.
- Dress properly. Do not wear loose clothing or jewelry. Keep your hair, clothing and gloves away from moving parts. Loose clothes, jewelry or long hair can be caught in moving parts.
- If devices are provided for the connection of dust extraction and collection facilities, ensure these are connected and properly used. Use of dust collection can reduce dust-related hazards.
- Do not let familiarity gained from the frequent use of tools allow you to become complacent and ignore tool safety principles. A careless action can cause severe injury within a fraction of a second.
Power tool use and care
- Do not force the power tool. Use the correct power tool for your application. The correct power tool will do the job better and safer at the rate for which it was designed.
- Do not use the power tool if the switch does not turn it on and off. Any power tool that cannot be controlled with the switch is dangerous and must be repaired.
- Disconnect the plug from the power source and/or the battery pack from the power tool before making any adjustments , changing accessories, or stor-ing power tools.
- Such preventive safety measures reduce the risk of starting the power tool accidentally.
- Store idle power tools out of the reach of children and do not allow persons unfamiliar with the power tool or these instructions to operate the power tool. Power tools are dangerous in the hands of untrained users.
- Maintain power tools. Check for misalignment or binding of moving parts, breakage of parts and any other condition that may affect the power tool’s operation. If damaged, have the power tool repaired before use. Many accidents are caused by poorly maintained power tools.
- Keep cutting tools sharp and clean. Properly maintained cutting tools with sharp cutting edges are less likely to bind and are easier to control.
- Use the power tool, accessories and tool bits etc. in accordance with these instructions, taking into account the working conditions and the work to be performed. Use of the power tool for operations diff erent from those intended could result in a hazardous situation.
- Keep handles and grasping surfaces dry, clean and free from oil and grease. Slippery handles and grasping surfaces do not allow for safe handling and control of the tool in unexpected situations.
Safety instructions for electric welding machine
- Set the earth fitting according to applying the standard.
- Forbidden to touch the bare electric parts and electrode with uncovered skin, wet gloves or clothes.
- Make sure you are insulated from the ground and the workshop.
- Make sure you are in safe position.
- Keep your head out of the gases and fumes.
- When arc welding, ventilators or air extractors should be used to avoid breathing gases.
- Wear a suitable protective mask, light lter and protective garment to protect eyes and body.
- Prepare a suitable protective mask or curtain to protect looker-on.
- Welding spark may cause fire, make sure there is no tinder stuff around the welding area.
- Use ear protectors or others means to protect ear.
- Warn looker-on that noise is harmful to hearing.
- If trouble happens during installation and operation, please follow this manu-al instruction to check up.
- If you fail to fully understand the manual, or fail to solve the problem with the instruction, you should contact the suppliers or the service center for professional help.
- The machine should be operated in dry environments with humidity levels of a max of 90%.
- The ambient temperature should be between -10 to 40 degrees centigrade.
- Avoid welding in sunshine or drippings. Do not let water infi ter the machine.
- Avoid welding in dust areas or the environment with corrosive gas.
- Avoid welding in a strong air fl ow environment.
Product Description and Specifications
Read all safety warnings and all instructions. Failure to follow the warnings and instructions may result in electric shock, fire and/or serious injury.
Intended Use
The inverter welding machine is designed for manual electric arc welding with a covered electrode.
The electric welding machine uses the princi-ple of inductance. The inductance will produce a huge voltage change when the inductance is turned on and off. The high-voltage arc generated by the instantaneous short circuit of the positive and negative poles is used to melt the solder on the welding rod.
Product Features
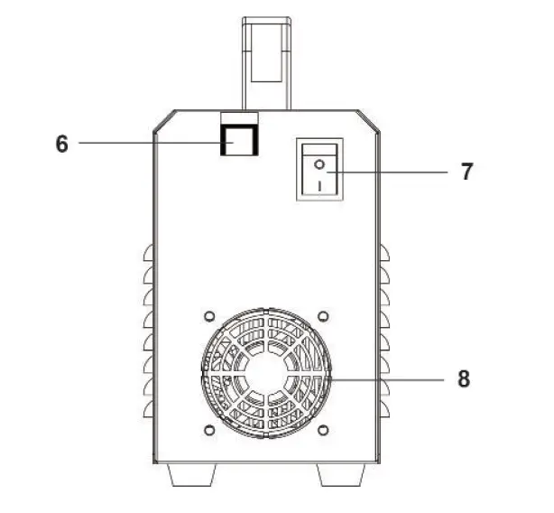
The numbering of the components shown re-fers to the representation of the power tool on the graphic pages.
- Positive output
- Negative output
- Current adjustment
- Protect indicator
- Current meter

- Input cable
- Power switch
- Cooling fan
Technical Data
Contents of delivery
- Inverter welding machine 1 pc
- Box 1 pc
- Cable with electrode holder 1 pc
- Cable with grounding terminal 1 pc
- Welding shield 1 pc
- Hammer brush 1 pc
- Carrying strap 1 pc
- Instruction manual 1 pc
Note
Since the product is constantly being improved, P.I.T. reserves the right to make changes to the specifications and product specifi cations specifi ed here without prior no-tice.
Installation instruction
The machine is equipped with power voltage compensation equipment. When power volt-age fl uctuates between±10% of rated voltage, it still can work normally.
When use long cables, in order to prevent volt-age form going down, bigger section cable is suggested. If cable is too long, it may affect the performance of the power system. So we suggest you to use configured length.
- Make sure the intake of the machine not blocked or covered, lest the cooling system could not work.
- Ground the cables with section area no less than 6mm2 to the housing, the way is connecting screw in the back of the power source to ground device, or make sure ground terminal of power socket is firmly connected. Both ways can be used for ab-solute safety.
- Correctly connect the arc torch or holder according to the sketch. Make sure the cable, holder and fastening plug have been connected with the ground. Put the fastening plug into the fastening socket at the “-” polarity and fasten it clockwise.
- Put the fastening plug of the cable to the fastening socket of “+” polarity at the front panel, fasten it clockwise, and the earth clamp at the other terminal clamps the workpiece.
- Please pay attention to the connecting polarity, DC welding machine has two connecting ways: positive connection and negative connection. Positive connection: holder connects with “-” terminal, while the workpiece with the “+” terminal. Negative connection: workpiece with the“-” terminal, holder with the “+” terminal. Choose suit-able way according to work demands. If unsuitable choice, it will cause an unstable arc, more spatters and conglutination. If such problems occur, please change the polarity of the fastening plug.
- According to the input voltage grade, connect the power cable with the power supply box of the relevant voltage grade. Make sure there is no mistake and the voltage of power supply does not exceed the permission range. After the above job, installation is finished and welding is available.
Warning: If the distance of the workpiece and machine is too far (500-100m), and the cables(torch cable and earth cable) are too long, please choose cable of a bigger section to minimize the reduction of the voltage.
Operation instruction
- Open the power switch, screen will show set current value and ventilator is begin-ning to run.
- Adjust knobs of welding current and arc-striking push, make welding function complies with demands.
- Generally, welding current is adequate to welding electrode according with as following:

Attention! Remember that the nature of the weld depends not only on the amperage but also on other parameters such as the diameter and quality of the electrodes, arc length, welding speed, and position of the welder, as well as the condition of the electrodes, which must be stored in the packaging and protected from dampness.
- To start welding, you need to touch the welding point with the end of the electrode, while the movement of your hand should be similar to how you light a match. This is the correct arc ignition method.
Attention! Do not knock the electrode on the working surface when trying to ignite the arc, as this can damage it and further complicate the ignition of the arc. - As soon as the arc strikes, the electrode must be held on such distance from the processed material, which corresponds to the diameter of the electrode. To obtain a uniform seam, it is further necessary to maintain this distance as constant as possible. It should also be remembered that the tilt of the electrode axis should be approximately 20-30 degrees.
- When fi nishing the weld, pull the electrode back a little to fi ll the weld crater and then lift it sharply until the arc disappears.
- If the thermal protection is triggered during operation (indicator 4 turns on), the device automatically turns off. It is necessary to turn off the device for 20 minutes in order for it to cool down, and after that you can continue to work.
Safety norms
The welding machine is installed with protection circuit of over voltage, over current and overheat. When the voltage, output current and temperature of machine exceed the required standard, the welding machine will stop working automatically. However, overuse (such as over voltage) will still result in damage to the welding machine. To avoid this, the user must pay attention to the following.
- The working area is adequately ventilated
A welding machine is a powerful machine, when it is being operated, it is generated by high currents, and natural wind will not satisfy machine cool demands. So there is a fan in inner machine to cool down machine. Make sure the intake is not in a block or covered, it is 0.3 meter from welding machine to objects of the environment. User should make sure the working area is adequately ventilated. It is important for the performance and longevity of the ma-chine. - Do not overload
The operator should remember to watch the max duty current (Response to the selected duty cycle). Keep welding current is not exceed max duty cycle current. Over-load current will damage and burn up the machine. - No over voltage
- Power voltage can be found in the diagram of main technical data. An automatic compensation circuit of voltage will assure that welding current keeps in allowable range. If the power voltage is exceeding the allowable range limit, it will damage to components of the machine. The operator should un-derstand this situation and take preventive measures.
- There is a grounding screw behind the welding machine, with a grounding marker on it. Before operation, welding crust must be grounded reliable with cable which section is over 6 square millimeters, in order to prevent from static electricity, and accidents because of electricity leaking.
- If the welding time is exceeded the duty cycle limited, the welding machine will stop working for protection. Because the machine is overheated, the temperature control switch is on the “ON’’ position and the indicator light is red. In this situation, you don’t have to pull the plug, in order to let the fan cool the ma-chine. When the indicator light is off , and the temperature goes down to the standard range, it can weld again.
Questions to be run into during welding
- Fittings, welding materials, environment factors, power supply can affect welding performance.
- Make sure quality of tungsten electrode is high .
- If the electrode contains moisture, it will cause unstable arc, welding defect in-crease and poor quality.
- If the extra-long cable is used, the output voltage will be aff ected, so please shorten the cable.
- When power voltage deviates from the rated value, it will aff ect output current ac-cordingly; When input voltage is lower than rated value, the max output may be lower than rated value.
Maintenance and Service
Maintenance and Cleaning
- Pull the plug out of the socket before carrying out any work on the power tool.
- Remove dust by dry and clean compressed air regularly. If welding machine is operated in environment where strong smoke and polluted air is present, the ma-chine needs to be cleaned at least once a month.
- Pressure of compressed air must be within a reasonable range in order to prevent damage to small and sensitive components in the machine.
- Check internal circuit of welding machine regularly and make sure the circuit connections are connected correctly and tightly (especially plug-in connector and components). If scale and rust are found, please clean it, and connect again tightly.
- Prevent water and steam from enter-ing into the machine. If that happens, please blow it dry and check insulation of machine.
- If welding machine will not be used for long time, it must be put into the packing box and stored in dry and clean environment.
In order to avoid safety hazards, if the power supply cord needs to be replaced, this must be done by P.I.T. or by an after-sales service centre that is authorized to repair P.I.T. power tools.
Service
- Have your power tool repaired only by qualified personnel and only with original spare parts. This ensures the safety of the power tool.
The list of authorized service centers can be viewed on the offi cial website of P.I.T. by the link: https://pittools.ru/servises/
Storage and transportation
The welding machine should be stored in closed rooms with natural ventilation at tem-peratures from 0 to +40 ° C and relative hu-midity up to 80%. The presence of vapors of acids, alkalis and other aggressive impurities in the air is not allowed.
Products can be transported by any type of closed transport in the manufacturer’s pack-aging or without it, while preserving the prod-uct from mechanical damage, atmospheric precipitation.
Dispose of waste
Damaged power tools, batteries, accessories and waste packaging materials must be recycled and reused in an environmentally friendly manner. Do not throw power tools and accumulators/batteries into general household waste!
Product serial number interpretation serial number
The first and second digits of the product seri-al number from left to right
Year of production, the third and fourth digits indicate the month of production.
The fifth and sixth digits indicate the production day.
Troubleshooting and fault finding
Notes: The following operations must be performed by qualifi ed electricians with valid certifi cations. Before maintenance, please contact with us for the professional suggestion.
| Fault symptom | Remedy |
|
Power indicator is not lit, fan is not working, no welding output. | A. Make sure power switch is close. B. Make sure the electric wire net connecting to input cable is working alright C. Heat-sense resistance(4 pieces) is broken. (24V relay has problem) D. Power source board(Bottom board has prob- lem, no DC310V output voltage): Silicon bridge circuit is broken, cable is loos- en. Part of board is burnt. Check cable between air switch and the pow- er source board, power board between MOS board. E:Subsidiary power source on the control board has problem. (Contact with dealer or manufacturer.) |
|
Fan is working and abnormal indicator is lit, no welding output. | A. Check if components are poor connects. B. Check if connector of output terminal is break circuit and poor connect. C. Inverter circuit may go wrong; Please disconnect the power supply plug of the main transformer on MOS board (near fan VH- 07),then restart the machine. 1) If abnormal indicator is still lit, that means some fieldistors on MOS board are damaged. check and replace it. 2) If abnormal indicator is off: a.Maybe transformer of middle board- is damaged, measure primary inductance vol- ume and Q volume of main transformer by inductance bridge. Primary value is parallel circuit, L=1.2- 2.0mH, Q>40 If the inductance value and Q value is low, replace it. b.Maybe some of the secondary rectifier tubes of the transformer is broken, check and replace the rectifier tube. D. Maybe the feedback circuit is open. |
TERMS OF WARRANTY SERVICE
- This Warranty Certifi cate is the only document that confi rms your right to free warranty service. Without presenting this certifi cate, no claims are accepted. In case of loss or damage, the warranty certifi cate is not restored.
- The warranty period for the electric machine is 12 months from the date of sale, during the warranty period the service depart-ment eliminates manufacturing defects and replaces parts that have failed due to the fault of the manufacturer free of charge. In the war-ranty repair, an equivalent operable product is not provided. Replaceable parts become the property of service providers.
P.I.T is not liable for any damage that may be caused by operation of the electric machine. - Only clean tools accompanied with the following duly executed documents: this War-ranty Certifi cate, Warranty Card, with all fi elds fi lled out, bearing the stamp of the trade organization and the signature of the buyer, shall be accepted for warranty repair.
- Warranty repair is not performed in the following cases:
- in the absence of a Warranty Certifi cate and a Warranty Card or their incorrect execution;
- with failure of both a rotor and a stator of the electric engine, charring or melting of primary winding of the welding machine transformer, charging or starting-charging device, with in-ternal parts melting, burn down of electronic circuit boards;
- if a Warranty Certifi cate or a Warranty Card does not correspond to this electric machine or to the form established by the supplier;
- upon expiration of the warranty period;
- at attempts of opening or repair of the elec-tric machine outside the warranty workshop; making constructive changes and lubrication of the tool during the warranty period, as ev-idenced, for example, by the creases on the spline parts of the fasteners of non-rotational parts.
- when using electric tools for production or other purposes connected with making a prof-it, as well as in case of malfunctions related to instability of the power network parameters exceeding the norms established by GOST;
- in the events of improper operation (use the electric machine for other than intended pur-poses, attachments to the electric machine of attachments, accessories, etc. not provided by the manufacturer);
- with mechanical damage to the case, power cord and in case of damages caused by aggressive agents and high and low tempera-tures, ingress of foreign objects in the ven-tilation grids of the electric machine, as well as in case of damage resulting from improper storage (corrosion of metal parts);
- natural wear and tear on the parts of the electric machine, as a result of long-term op-eration (determined on the basis of the signs of full or partial depletion of the specified mean life, great contamination, presence of rust outside and inside the electric machine, waste lubricant in the gearbox);
- use of the tool the purposes for other than specifi ed in the operating instructions.
mechanical damages to the tool; - in the event of damages due to non-obser-vance of the operating conditions specifi ed in the instruction (see chapter “Safety Precau-tions” of the Manual).
- damage to the product due to non-obser-vance of the rules of storage and transporta-tion.
- in case of strong internal contamination of the tool.
- Preventive maintenance of electric machines (cleaning, washing, lubrication, replacement of anthers, piston and sealing rings) during the warranty period is a paid service.
- The service life of the product is 3 years. Shelf life is 2 years. It is not recommended for oper-ation after 2 years of storage from the date of manufacture, which is indicated in the serial number on the label of the instrument, without preliminary verifi cation (for the defi nition of the date of manufacture, see the User’s Manual earlier).
- The owner is notified of any possible viola-tions of the above terms of wa rranty service upon completion of diagnostics in the service center.
- The owner of the tool entrusts the diagnostic procedure to be conducted in the service cen-ter in his absence.
- Do not operate the electric machine when there are signs of excessive heat, sparking, or noise in the gearbox. To determine the cause of the malfunction, the buyer should contact the warranty service center.
- Malfunctions caused by late replacement of carbon brushes of the engine are eliminated at the expense of the buyer.
- The warranty does not cover:
- replacement accessories (accessories and components), for example: batteries, discs, blades, drill bits, borers, chucks, chains, sprockets, collet clamps, guide rails, tension and fastening elements, trimming device heads, base of grinding and belt sander ma-chines, hexagonal heads, etc.,
- fast wearing parts, for example: carbon brushes, drive belts, seals, protective covers, guiding rollers, guides, rubber seals, bear-ings, toothed belts and wheels, shanks, brake belts, starter ratchets and ropes, piston rings, etc. Their replacement during the warranty period is a paid service;
- power cords, in case of damage to the insu-lation, power cords are subject to mandatory replacement without the consent of the owner (paid service);
- tool case.
P.I.T. WARRANTY CERTIFICATE
Product Name_____________________
Product Serial Number □□□□□□□□□□□
Charger Serial Number □□□□□□□□□□□□□
Sale Date __________________
Trade Organization Name __________________
Dear customer!
Thank you for purchasing the P.I.T tool, and we hope that you will be satisfi ed with your choice. In the process of manufacturing the P.I.T tools pass multilevel quality control, if nevertheless, your product will need maintenance, please contact the authorized P.I.T service centers. Attention!
When buying, ask a seller to check the completeness and operability of the tool, to fi ll out the Warranty Certifi cate, the Warranty Card (the boxes shall be filled out by a seller), and to affi x the seal of the trade organization in the Guarantee Certifi cate and the Warranty Card.
Warranty
By this Warranty Certifi cate, P.I.T. company guarantees the absence of defects of the production nature.
In the event any of the above defects are detected during the warranty period, the specialized P.I.T. service centers shall repair the product and replace the defective spare parts free of charge.
The warranty period for P.I.T. electric machines is 12 months from the date of sale.
“The warranty maintenance terms are acknowledged and accepted. The operability and completeness of the product are checked in my presence. No claims on quality and appearance.”
Buyer’s Signature_______________ Surname (legibly) __________________
Phone ______________




















