
TF-LED32S69T2
LED TV
Instruction manual

![]()
Table of contents
Dear customer!
Thank you for purchasing our product. For safety, it is strongly recommended to read this manual carefully before connecting, operating, and/or adjusting the product and keep
the manual for reference in the future.
Before you start
If you want to dispose of this product, do not mix it with general household waste. There is a separate collection system for used electronic products in accordance with legislation that requires proper treatment, recovery, and recycling. Please contact your local authorities for the correct method of disposal. By doing so, you will ensure that your disposed product undergoes the necessary treatment, recovery, and recycling and thus prevent potential negative effects on the environment and human health.
Important safeguards
- Please unplug the power cord from the AC outlet and contact a service center for repair if the following occurs: any obvious abnormality appears in the unit, such as a smoky, peculiar smell or strange sound; liquid has been spilled or other objects have fallen into the unit; no picture or sound; cover or panel is broken; although you
have operated the unit following the operating instructions, it still cannot work normally. - This unit can be connected to a power supply outlet without the third ground contact as well as with ground contact.
- Always disconnect the power cord and antenna during a storm.
- Do not fix the power cord with a metal nail.
- Unplug the power cord from the AC outlet; also, unplug the signal cables from the input ports when the unit is unused for long periods of time.
- When unplugging the plug, always hold the wide slot, do not touch the metal part, and do not destroy, twist, pull or roast the power cord. When connecting cables, make sure the power is switched off.
- Please contact the service center immediately if you found that the core is shown in the air or has been broken.
- Please replace the AC outlet if the metal bolt cannot be inserted into the power socket completely or it cannot be fastened even when it was pushed in, otherwise, any accidents of shocks and fires would happen.
- Never touch the antenna lie or power plug if it starts to thunder.
- Do not touch the power plug with wet hands
- Do not use any non-rated power socket with numerous devices jointed on one power socket or cable device. The wire of nondesignated capacity may cause a fire due to the generation of heat.
- All instructions must be read and understood well before you operate the unit. Heed all warnings and follow all instructions.
- Please use the accessories provided by the manufacturer. Using inadequate accessories may result in accidents.
- Please adjust the product through the panel buttons or the remote controller, do not remove the cover or attempt to service the product by yourself. Do not disassemble the back cover and do not make maintenance by yourself to avoid the electric shock.
- Over-press the panel may destroy the product.
- Do not place the product on an unstable cart, stand surface, tripod, bracket, or table. The product may fall, causing serious accidents as well as damage to the product.
- Please place the product on a flat surface in a well-ventilated location. Keep it away from the burning-light, direct sunlight, vibration, high temperature and humidity.
- Do not place any vase, potted plant, cup, medicine, and any container with water on this product. If the liquid is spilled, it may cause a fire, electric shock, or breakdown.
- Do not install it at a place on a strong magnetic field or current field. It may cause a breakdown. This equipment may observe the deterioration of the picture by electromagnetic radiation in the electromagnetic environment.
- Fasten the wheel of the product or shelf with wheels when installing this product. If it moves or is tipped over, it may be damaged.
- Do not place any fire source such as candlelight close to this product or place it on this product. If it is tipped over or fallen down, it may cause damage or fire.
- Do not place the unit into a closed space TV for better ventilation; it can reduce the product’s lifetime. Keep a space at least 10 cm above, left, and right of the TV.
- Please place all the signal cords behind of rear panel.
- Do not overexert or touch the panel when you convey the product. Do not transfer the LED TV up or down the display direction.
- Do not transport it with the power cord or the connection cable connected. If you move this product with the power cord or the connection cable connected, a damaged power cord, connection cable, or connection terminal may cause fire, electric shock, or breakdown.
- 2 persons or more shall transport the device, which is heavier than 18 kg. If you drop or tip over the device, it may damage it.
- The temperature of the product’s body becomes a little higher after a long period of use. This phenomenon indicates that heat exchange in normal working mode, thus please do not let children or anyone who is sensitive of
Installation
Base installation

Cover a flat stable surface with a soft cloth. Place the TV unit face down on the cloth. First, align the holes on the back panel and the stands, then insert them into the slots.
Wall mounting
- Separate the stand from the cabinet before wall mounting.
- For wall mounting the back cabinet of this unit is equipped with 4 screw holes. The spread distance between the holes is 200*100 mm. A VESA wall-mount bracket should be used for wall mounting (the bracket is not included and should be acquired separately). The manufacturer is not responsible for improper mounting resulting in damage to the unit.
Wall or ceiling mounting implements must be durable and sufficient enough to support the weight of the unit.
Connection
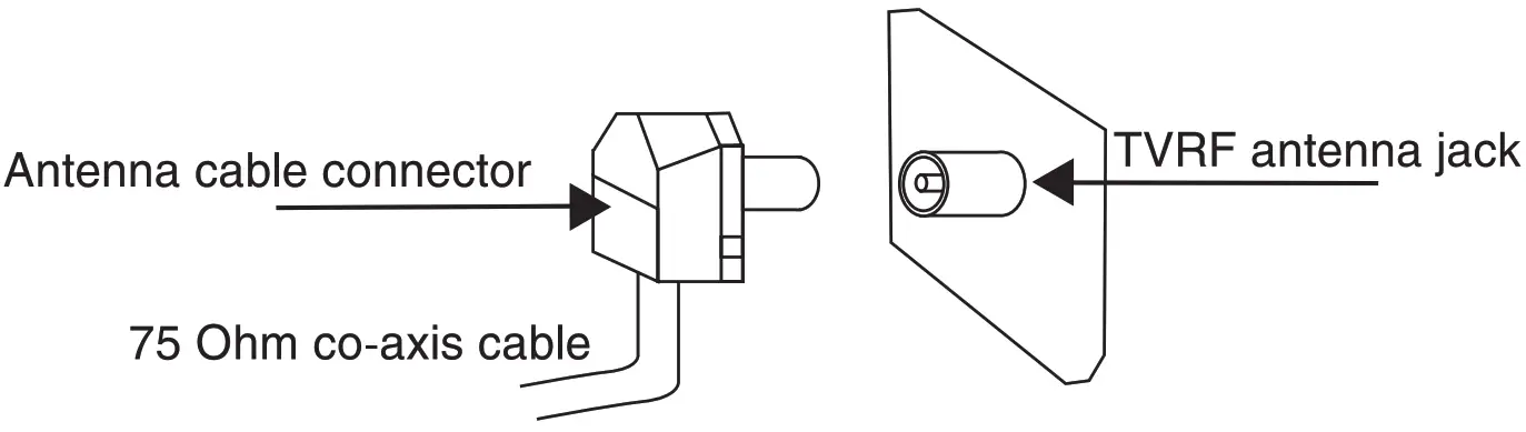
Outdoor Antenna Connection
Use a 75Ω coaxial cable plug or 300-75Ω impedance converter to plug in the antenna input a terminal on the rear of the cabinet.
Other connections
- Connect the audio sources (Including DVD, VCDR, CAMCORDER, and PC) to the proper Audio input jacks ‘L’ and ‘R’.
- Connect the video source to the Video input using an RCA cable.
- Plug the power cable into the electric outlet, making sure the current voltage is supported.
- When using the LED as a computer screen, connect the PC to the VGA jack from the monitor by the relevant cable (not included).
- This unit has PC audio in the jack. Connect this jack to PC main unit with a related audio cable in PC mode and adjust the volume to what you want.
- If the video source has an HDMI output jack, you can connect the signal to the monitor by the HDMI cable (not included).
- Coaxial output is intended for transmitting multi-channel sound to an external decoder (e.g. in 5.1-CH format). A coaxial cable should be used for the connection.
- Connect your headphones or earphones (not included) to the headphone socket of this unit. When earphones are connected, the sound output through the built-in speakers of this unit is mute.
- PCMCIA slot is used for CI modules that are obtained from your digital TV provider.
Operation
Control elements
Front panel

Back panel
| 1 | Power cable | 7 | HDMI 2 input |
| 2 | PC input (VGA) | 8 | HDMI 3 input |
| 3 | PC audio input | 9 | Coaxial output |
| 4 | Composite AV | 10 | PCMCIA slot |
| 5 | Antenna input | 11 | USB port |
| 6 | HDMI 1/ARC input | 12 | Earphone socket |
Multifunction button
Display 1 Hide: press the multifunction button, and the icon panel will pop up. It will turn off automatically after 5 seconds of inactivity.
Icon selection: short press the button to select the wanted icon.
Icon function selection: press and hold the button to achieve the function of the selected icon. They correspond to the RC buttons as follows:
![]()
| 1 | 5 | CH- button | |
| 2 | MENU button | 6 | VOL+ button |
| 3 | SOURCE button | 4 | VOL- button |
| 4 | CH+ button | 9 |

Remote controller (RC)

| 1 | POWER button | 19 | TV/RADIO button |
| 2 | Number buttons | 20 | SUBTITLE button |
| 3 | DTV/ATV button | 21 | SIZE button |
| 4 | P.MODE button | 22 | HOLD button |
| 5 | S.MODE button | 23 | MUTE button |
| 6 | MTS button | 24 | |
| 7 | VOL+NOL- buttons | 25 | SLEEP button |
| 8 | FAV/LIST button | 26 | CH+/CH- buttons |
| 9 | REC button | 27 | REC LIST button |
| 10 | MENU button | 28 | FREEZE button |
| 11 | Cursor (UP/DOWN/LEFT/RIGHT) buttons/ ENTER button | 29 | SOURCE button |
| 12 | EXIT button | 30 | DISPLAY button |
| 13 | RED button | 31 | CYAN button |
| 14 | GREEN button | 32 | YELLOW button |
| 15 | GUIDE/ | 33 | ASPECT/ button |
| 16 | TIMESHIFT, | 34 | INDEX, |
| 17 | CANCEL | 35 | REVEAL button |
| 18 | SUB.PG/ | 36 | TEXT button |
Changing the battery
- Remove the battery compartment cover on the back of the RC.
- Insert two AAA batteries into the battery compartment making sure that the correct polarity is observed.
- Install the cover back.
• The RC should be pointed at the remote sensor within 8 meters and within 30 degrees at the left or the right side.
• Take the battery out of the RC if it is not used for a long time.
• Do not mix new and used batteries or different types of batteries. Weak batteries can leak and severely damage the RC.
• Do not expose the RC to shock, or liquids, and do not place it in an area with high humidity.
General operations
- Press button on the unit or on the RC to switch on the power. Press the POWER button again to switch the unit off and go the standby mode. To completely power off the unit unplug the power cable from the outlet.
- Press the VOL- button repeatedly to decrease the volume; press the VOL+ button repeatedly to increase the volume.
- Press the SLEEP button repeatedly to set the sleep time.
- Press GUIDE to launch the Electronic Program Guide (EPG) or for fast reverse in recording (PVR) or Media Player mode.
- Press SUBTITLE to show and set the language of a current DTV channel.
- Press REC to begin recording of current playback in PVR mode.
- Press
the button on the RC to select from the present channel and the previously displayed channel. - Press the ASPECT button repeatedly to select a screen display size.
- Press the MUTE button to cut off sound, press this button again, or adjust the volume to resume sound.
- Press TV/RADIO button to switch between TV and radio modes when watching channels.
- Select the TV function mode. Press the CH-/CH+ buttons to select previous or next channels, or press the number buttons to enter a
channel number directly. - Press the P.MODE button repeatedly to cycle through the available video picture modes.
- Press the S.MODE button repeatedly to cycle through the available sound modes.
- Press the DISPLAY button to display the preset TV channel play information.
- Press the FREEZE button to freeze the picture on or off.
- Press FAV/LIST button to show the favorite channel list.
- Press the MTS button in TV mode repeatedly to switch between various Nicam sound modes (which can be unavailable for some channels).
Signal sources
Press the SOURCE button, then press the DOWN/ UP cursor buttons on the RC or CH+/CH- buttons on the panel to select a source from available source list: DTV – ATV – AV – HDMI – VGA. Press ENTER button on the RC to confirm.
TELETEXT operations (option)
- Select the TV source mode. Then press the CH-/CH+ buttons to select TV channels in order to pick up the picture signal of Teletext.
- Press the CH-/CH+ buttons to select the previous page or the next page.
- Teletext button functions are as follows: ON/OFF: Press the TTX button to enter into TEXT mode. Press this button again to return to the channel you are watching.
HOLD: Press this button to stop the move o the next page. Press this button again to cancel the operation.
INDEX: Press this button to go to the index page.
SIZE: Press this button to enlarge the text shown on the Teletext screen, and one-half of the page could be shown. Press this button again to view the second half of this page. Press this button a third time to the normal-size text page view.
REVEAL: Press this button to reveal the canceled information. Press this button again to cancel the information.
SUB.PG: Press this button to select sub-page, and the sub-page symbol will appear in the left top-hand corner of the screen. Enter the number of sub-pages and use numeric buttons in the format 0001 for sub-page 1. The Teletext will search for the sub-page.
CANCEL: When a text page is selected, it may take some time before it becomes available; press this button to return to TV mode. When the required page is found, the number will be displayed at the top of the screen; press this button to return to Teletext mode and browse the page.
RED/GREEN/YELLOW/CYAN buttons: Press these 4 color buttons to access directly the corresponding color page displayed at the lower parts of the Teletext screen.
OSD operation
- Press the MENU button to enter the setting of the menu displayed on the screen.
- Press the UP/DOWN cursor buttons on the RC or CH+/- buttons on the panel to select the setting page.
- Press the ENTER button on the RC or VOL+ button on the panel to go to the parameter list.
- Press the UP/DOWN cursor buttons on the RC or CH+/- buttons on the panel to select a parameter to adjust.
- Press the cursor buttons on the RC or VOL +/-or CH+/- buttons on the panel to adjust the selected parameter.
- Press the EXIT button to quit the menu.
Some menu items may be in grey color, in this case, they are not adjustable. Pictures of the OSD menu are for reference only; they may differ from actual menu tabs.

- Auto Tuning: press ENTER to select the country and tuner type for channels to start automatic search and saving of available ATV channels. After the search is finished, the unit will skip to searching DTV channels, Radio channels, and Data. During the ATV search, press the MENU button to skip to DTV, Radio, and Data search.
- ATV Manual Tuning: Current CH: select channel number. Color System: select the corresponding color system. Sound System: select the corresponding sound system. Fine-Tune: perform fine adjustments to the current frequency. Search: press the LEFT/RIGHT buttons; the unit will search for the next available channel downward or upward and save it under the current number.
- DTV Manual Tuning: Press the LEFT/RIGHT cursor buttons to select the channel number. Press ENTER button to start searching. If the selected channel number is available, the
channel will be saved under the selected number. Press the MENU button to quit. - Program Edit: this item allows you to sort TV programs according to your preferences. Enter the program edit menu: Delete: Select the channel you want to delete. Press the red button to delete the channel. Move (not available for DTV channels with LCN): Highlight the needed channel. Press the yellow button; select the position to put the channel into. Press the yellow button to confirm. Skip: Highlight the needed channel. Press the blue button; now this channel will be skipped when you select previous/next channels. Fav: select a channel and press the FAV button to add it to your list of favorite channels. Press FAV again to remove the channel from favorites.
- Signal Information: View the information on the current signal.
- CI Information (only in DTV mode): This function enables you to watch some encrypted services (pay services). Please insert a CI card into the PCMCIA slot according to the arrow on the CI card.
The function can only be gotten when the CI slot is available.- It is possible for you to change CI (Common Interface) menu screen and service by consulting your dealer.
- Please do not insert or pull out the CI card when powered on. During the initialization of the CI card, please don’t operate the TV.
- Do not insert or pull out the CI card frequently so as to avoid any damage to the TV and the CI card.
Picture setting

- Picture Mode: Dynamic/Standard/Mild/ Personal. When Personal mode is selected, you can adjust the contrast, brightness, color, tint (NTSC signal only), and sharpness of the image.
- Colour Temperature: Cold/Normal/ Warm.
- Noise Reduction: Dynamic noise reduction effect for reducing the video noise level. Select the Off/Low/Middle/High/Default mode.
- HDMI Mode: adjust the picture settings when HDMI is selected as a source signal.
Sound setting

- Sound mode: Standard/Music/Movie/ Sports/Personal. When Personal mode is selected, you can adjust treble and bass.
- Balance: adjust the balance between the left and the right speaker.
- Auto Volume Level: reduce the difference between channel and program volume automatically.
- SPDIF Mode: Select the digital audio output mode: Auto/PCM/Off.
- AD Switch (in DTV mode): This is an auxiliary audio function that provides an additional audio track for visually challenged persons. This function handles the Audio Stream for the AD (Audio Description), when it is sent along with the Main audio from the broadcaster. Users can turn the Audio Description On or Off and control the volume.
Time setting

- Clock: You can display either the DTV signal stream time or set the system time.
- Time Zone: select your time zone.
- Sleep Timer: select the period until the automatic switch-off of the unit.
- Auto Standby: select the period after which the TV turns off automatically if no input is given.
- OSD Timer: select the time during which the OSD menu stays visible.
Lock setting

- System Lock: The feature can prevent unauthorized operation of the TV set unless entering a 4-digit password. When Lock The system is on and the system is locked, you must input the system password at Auto Tuning, Manual Tuning, Programme Edit or Default. Press the right number buttons for the password. The default password is 0000/8888.
After a password correction has been confirmed, please remember it for entering into the Parent Guide menu, all functions can not be activated until the correct password is entered. - Set password: You can set your private password. Press the number buttons on the remote control to set the new password. When the new password has been put in twice, the setting is finished successfully. The TV will go back to previous menu.
- Channel Lock (in TV/DTV mode): Press the Green button to lock the available channel you want. Press the Green button again to unlock it. Parental Guidance: set the access to age-restricted content.
- Key Lock: lock and unlock the buttons on the TV set.
- Hotel Mode: when Hotel Mode is enabled, the main menu is blocked. You can still control the volume as well as picture and sound modes, but channel search is restricted.
Setup menu

- Language: select the language of the on-screen display (OSD) menu.
- TT Language: select the language of the Teletext.
- Audio Languages: select the language of audio (available for some DTV channels).
- Subtitle Language: select subtitle language (available for some DTV channels).
- Hearing Impaired: When Hearing Impaired is on, the screen will give some information to people whose hearing is impaired. When Off, the information will be hidden.
- PVR File System (in DTV mode): Select Disc: select the storage used for PVR. Time Shift Size: select the time for the Time Shift. Format: format the USB. Speed Check: display the speed of the
storage. - Aspect Ratio: select the screen with the aspect ratio or set it to auto.
- Blue Screen: enable or disable a blue screen showing when the TV signal is weak.
- First-Time Installation: run the initial setting procedure.
- Reset: reset the parameters to initial factory settings.
- Software update (USB): Update TV software using a USB storage device.
- HDMI CEC: switch the HDMI Consumer Electronic Control feature on or off.
Screen setting (only in VGA mode)

- Screen Setting (only in PC mode): Auto-adjust the automatic setting of the parameters. Horizontal Offset: adjust the horizontal position of the image. Vertical Offset: adjust the vertical position of the image. Size: adjust the image frequency manually. Phase: adjust the phase manually. Position Reset: reset the screen adjustment
USB operation
General playback information
- Insert a USB drive into the USB port. Select Media source and press ENTER button. The screen will show a USB playback window,in which you can select Music, Photo and Movie contents to play by pressing the LEFT/ RIGHT cursor buttons and ENTER button.
- USB file systems supported: FAT16, FAT32, NTFS. 2.0 USB version is supported; the maximum capacity 2 TB (NTFS). For correct and satisfactory operation, licensed USB devices of well-known brands should be used. Avoid using devices of unknown brands. Playback of some file formats cannot be supported.
- This unit supports the playback of video files with ASF, AVI, MKV, and MPG extensions, with video codecs WMV9, DIVX, H263, MPEG-4, MPEG, XVID, and audio codecs WMA, MP3, DD(AC3).
The above list of extensions and codecs is for information only and is not a guarantee that all files having the above extensions and codecs should be read by this unit. - Some AVI files cannot be played due to their parameters and recording conditions. Video files with AVI extension exceeding 2 GB in size may be played partially. According to the USB 1.1/2.0 Standard, usage of a USB device with power current consumption exceeding 500 mA is not recommended without a supplementary power supply. Failure to use supplementary power for connected USB drives with power consumption exceeding this value as well as defective USB drives may cause mechanical or thermal changes of elements of this unit as well as failure of internal elements of the USB port. Such damages are not warranty cases.
Warning: usage of external USB drives containing BIN files in the root directory may cause malfunction of the unit or damage to the software.
Operations of file playback
- Insert a USB into the USB port. Press the SOURCE button or select USB source and Press ENTER button on the RC or VOL+/VOL- button on the unit. The screen will show a USB playback window, in which you can select Music, Photo, and Movie content to play by pressing the LEFT/RIGHT cursor buttons and ENTER button.
- In the context menu, press the cursor buttons to select a folder, press ENTER button to enter it, then press the cursor buttons to select the file you want to watch or to listen to. Press ENTER to play the selected file.
- While playback, press ENTER button; the bottom of the screen will show the playback menu in which you can select an operation by LEFT/ RIGHT cursor buttons or perform this operation by pressing the ENTER button.
- While playback, press the button to pause or resume playback. Press
the button to stop playback. - When playing music files you can press
buttons to fast reverse or forward. You can press
the buttons to select the desired files manually in normal conditions. - When playing photo files, you can press
the buttons to page up or page down the file. Press the LEFT/RIGHT cursor buttons to rotate the image. - Press EXIT button to stop playback and return to the previous menu screen.
Electronic program guide (EPG)
If you know the airing time of the current program you can access the EPG menu by pressing the GUIDE button on the RC. The menu displays the list of the currently available channels on the left, and the name of each program starting in scheduled time periods on the right. Select the channel by pressing UP/DOWN and the program by pressing LEFT/RIGHT. Follow the on-screen instructions and use color buttons to navigate this menu.
PVR/Timeshift function
Insert a USB drive, the system will automatically create a folder to store the files recorded. Recording begins when the REC button is pressed, and it records all the time
until the button is pressed or the emory is full. PVR/Timeshift is a feature enabling you to record an air program while you are away. Press the button to activate Time Shift while recording. Press the UP/DOWN cursor buttons to zoom in/out of the Timeshift menu. You can operate by referring to PVR/Timeshift menu on the screen.
CI information
(only in DTV mode): This function enables you to watch some encrypted services (pay services). Please insert a CI card into the PCMCIA slot according to the arrow on the CI card.
- The function can only be available when the CI card is present.
- It is possible for you to change CI (Common Interface) menu screen and service by consulting your dealer.
- Please do not insert or pull out the CI card when powered on. During the initialization of the CI card, please don’t operate the TV.
- Do not insert or pull out the CI card frequently so as to avoid any damage of the
- If there is no picture and/or sound with the CI+ CAM module inserted, please contact the customer support of the service provider.
Troubleshooting
Below is a table describing simple measures that can help you eliminate most problems likely to emerge when this unit is in use. If the below measures do not help, turn to a service center or to the
nearest dealer.
| Symptom | Cause | Solution |
| No picture, no sound, and no indicator light | The power cord is not plugged in. Contrast, brightness, color, and volume are all in the minimum value or the TV is in mute mode. | Plug the power cord in. Alter the value of contrast, brightness, color, and volume. |
| Picture and sound with abnormity | Contrast and color are set improperly. The color system is set improperly. The sound system is set improperly. | Set the value of Contrast and color properly. Set the sound system properly. |
| The picture in VGA mode is abnormal | The PC settings may be improper. | Check and set the resolution parameters of your PC. |
| The picture is spotted or with snow | The signal source is low-grade or the signal is in a lower quality. | Use the qualified signal cord. |
| Blue background | No video signal or the signal cord is improperly/not connected. | Connect the signal cord properly. |
| No sound | No audio signal or the signal cord is improperly/not connected. | Connect the audio signal cord properly. Set the sound system properly. |
| The RC does not work | Batteries are improperly installed or exhausted. | Make sure the positive and the negative polarities are correct. eattach the battery lid. Replace the batteries. |
General Information
Accessories
| LED TV | 1 pc |
| Remote controller | 1 pc |
| Stand | 2 pcs |
| Instruction manual | 1 pc |
Specifications
| Size (diagonal) | 31.5″ (80 cm) |
| Resolution | 1366×768 |
| Aspect ratio | 16:09 |
| View angle: vertical, horizontal | 178°, 178° |
| Response time | 8.5 ms |
| Color system | PAL, SECAM |
| Sound system | B/G, DK, I |
| NICAM stereo | 2 x 8 W |
| Composite AV RCA input | + |
| PC audio input | + |
| VGA input | + |
| HDMI input | x3 |
| Headphone jack | + |
| Coaxial digital output | + |
| DVB-T/DVB-T2/DVB-C signal reception | + |
| PCMCIA interface (CI, CI+) | + |
| Russian and English OSD | + |
| Progressive scan | + |
| Digital comb filter | 3D |
| Sleep timer | + |
| USB movie, audio, and photo support | + |
| Quantity of channels | 100 analog/1000 digital |
| Delete xt | 899 pages |
| Electric shock protection class | II |
| Nominal voltage range: | AC ~100-240 V; 50 Hz |
| Unit dimensions: without stand | 732 x 74.8 x 434.3 mm |
| with stand | 732 x 180.7 x 473.4 mm |
| Net weight | 3.7 kg |
| Operating conditions | |
| Ambient temperature | from 5 to 35 °C |
| Relative humidity | from 45% to 75% |
| Atmospheric pressure | from 86 to 106 kPa (650-800 mm Hg) |
The LED panel is a high technology product with many thin film transistors that can give you fine picture details. Occasionally, a few non-active pixels may appear on the screen as a fixed point of blue, green, red, black, or white, please note that this does not affect the performance of your LED TV.
Warning: Specifications may be subject to change without notice for improvement.
![]()
Manufactured under license from Dolby Laboratories. Dolby, Dolby Audio, Pro Logic, and the double-D symbol are trademarks of Dolby Laboratories.
![]()
® Licensed by TELEFUNKEN Licenses GmbH
TF-LED32S69T2_BMI-7835_IM_01













