
TF-LED32S92T2S LCD tv with LED Backlight
Instruction Manual
Dear customer!
Thank you for purchasing our product. For safety, it is strongly recommended to read this manual carefully before connecting, operating and/or adjusting the product and keep the manual for reference in the future.
Android is a trademark of Google LLC. The Android robot is reproduced or modified from work created and shared by Google and used according to terms described in the Creative Commons 3.0 Attribution License.![]()
The terms HDMI and HDMI High-Definition Multimedia Interface, and the HDMI Logo are trademarks or registered trademarks of HDMI Licensing Administrator, Inc. in the United States and other countries.
Before you start
Utilization of the product
If you want to dispose of this product, do not mix it with general household waste. There is a separate collection system for used electronic products in accordance with legislation that requires proper treatment, recovery, and recycling.
Please contact your local authorities for the correct method of disposal. By doing so, you will ensure that your disposed product undergoes the necessary treatment, recovery, and recycling and thus prevent potential negative effects on the environment and human health.
Important safeguards
- Please unplug the power cord from the AC outlet and contact a service center for repair if the following occurs: any obvious abnormality appears in the unit, such as a smoky, peculiar smell or strange sound; liquid has been spilled or other objects have fallen into the unit; no picture or sound; cover or panel is broken; although you have operated the unit following the operating instructions, it still cannot work normally.
- This unit can be connected to a power supply outlet without the third ground contact as well as with ground contact.
- Always disconnect the power cord and antenna during a storm.
- Do not fix the power cord with a metal nail.
- Unplug the power cord from the AC outlet; also unplug the signal cables from the input ports when the unit is unused for long periods of time.
- When unplugging the plug, always hold the wide slot, do not touch the metal part, and do not destroy, twist, pull or roast the power cord.
- Please contact the service center immediately if you found that the core is shown in the air or has been broken.
- Please replace the AC outlet if the metal bolt cannot be inserted into the power socket completely or it cannot be fastened even when it was pushed in, otherwise, any accidents of shocks and fires would happen.
• Never touch the antenna lie or power plug if it starts to thunder. - Do not touch the power plug with wet hands.
- Do not use any non-rated power socket with numerous devices jointed on one power socket or cable device. The wire of non-designated capacity may cause fire due to the generation of heat.
- All instructions must be read and understood well before you operate the unit. Heed all warnings and follow all instructions.
- Please use the accessories provided by the manufacturer. Using inadequate accessories may result in accidents.
- Please adjust the product through the panel buttons or the remote controller, do not remove the cover or attempt to service the product by yourself. Do not disassemble the back cover and do not make maintenance by yourself to avoid the electric shock.
- Over-press the panel may destroy the product.
- Do not place the product on an unstable cart, stand surface, tripod, bracket, or table. The product may fall, causing serious accidents as well as damage to the product.
- Please place the product on a flat surface in a well-ventilated location. Keep it away from the burning light, direct sunlight, vibration, high temperature, and humidity.
- Do not place any vase, potted plant, cup, medicine, and any container with water on this product. If the liquid is spilled, it may cause fire, electric shock, or breakdown.
- Do not install it at the place on a strong magnetic field or current field. It may cause a breakdown. This equipment may be observe the deterioration of the picture by electromagnetic radiation in the electromagnetic environment.
- Fasten the wheel of the product or shelf with wheels when installing this product. If it moves or is tipped over, it may be damaged.
- Do not place any fire source such as candlelight close to this product or place it on this product. If it is tipped over or fallen down, it may cause damage or fire.
- Do not place the unit into a closed space of N for better ventilation; it can reduce the product lifetime. Keep a space at least 10 cm above, left, and right of the N.
- Please place all the signal cords behind of rear panel.
- Do not overexert or touch the panel when you convey the product. Do not transfer the LED TV up or down the display direction.
- Do not transport it with the power cord or the connection cable connected. If you move this product with the power cord or the connection cable connected, the damaged power cord, connection cable, or connection terminal may cause fire, electric shock, or breakdown.
- 2 persons or more shall transport the device, which is heavier than 18 kg. If you drop or tip over the device, it may damage it.
- The temperature of the product’s body becomes a little higher after a long period of use. This phenomenon indicates that heat exchange in normal working mode, thus please do not let children or anyone who is sensitive to temperature to touch. All images provided herein are schematic drawings and may differ from real objects.
WARNING
In order to avoid damage, make sure to secure the unit on the wall according to the wall mounting Instructions.
Installation
Wall mounting For wall mounting the back panel of this unit is equipped with a VESA slot. A 7575 mm VESA wall-mount bracket should be used for wall mounting. The wall-mounting bracket is not included and should be acquired separately. The manufacturer is not responsible for improper mounting resulting in damage to the unit.
Stand installation
Cover a flat stable surface with a soft cloth. Place the TV unit face-down on the cloth. Insert the support legs and fix them with supplied screws as shown below.
Wall or ceiling mounting Implements must be durable and sufficient enough to support the weight of the unit.
Connection
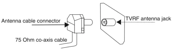
Outdoor antenna connection
Use 75 Ohm cable plug or 300-75 Ohm impedance converter to plug in the antenna input terminal on the rear of the cabinet
Other connections
- Connect the audio sources to the composite AV IN AUDIO-L and AUDIO-R inputs using an RCA cable (not included).
- Connect the video source to the composite AV IN VIDEO input using an RCA cable (not included).
- Plug the power cable in the electric outlet, making sure the current voltage is supported.
- If the video source has an HDMI output jack, you can connect the signal to the TV using an HDMI cable (not included).
- Optical output is intended for transmitting multi-channel sound to an external decoder (e.g. in 5.1-CH format). An optical cable should be used for connection (not included).
- PCMCIA slot is used for CI modules that are obtained from your digital TV provider.
- Connect your headphones or earphones (not included) to the AUDIO OUT socket of this unit. When earphones are connected, the sound output through the built-in speakers of this unit is mute.
- LAN port allows a TV to connect to the Internet using an Ethernet network cable.
Operation
Control elements
- Power LED and remote control sensor
- Rocker button
| TV Status | Pull Up / Down | Pull Left / Right | Press OK |
| Powered Off | — | — | Press to power on |
| In OSD menu | Move Up / Down | Move Left / Right | Press to confirm Press and hold to go back |
| Outside OSD menu | Channel + I – | Volume – / + | Press to open the setting menu |
Press the rocker button to call the setting menu, where you can enter the main menu, power off, or select the source.
- Menu: Press to display the main OSD menu.
- Source: press to open the signal source interface.
- Power: press to go to standby.
- Exit: exit the setting menu.
Back panel terminals 
The terminals are (from left to right): LAN port, USB ports, HDMI-2 input, HDMI-1 input, and composite AV input.
Back panel terminals (side)
The terminals are (from left to right): TVRF antenna socket, CI (PCMCIA) slot, audio output (earphone socket), and optical audio output.
Remote controller (RC)

| Keys | Function |
| Power ( | Switch between working and standby status. |
| Home ( | Show the home page of the smart TV. |
| Mute ( | Turn on/off the sound. |
| Number keys(0-9) | Enter numbers or select a channel. |
| LIST ( | View program list. |
| Return to the last watching channel. | |
| INFO | Show the information about the TV program. |
| SUBTITLE | Select subtitle language. |
| AUDIO | Select an audio language. |
| SOURCE | Select the signal source. (only in TV mode) |
| AD | Turn on/off the associated audio. |
| MENU | Show the OSD menu. |
| Cursor keys | Select items or adjust values. |
| OK | Confirm the operation. |
| VOL+/-( | Turn up/down the volume. |
| Return( | Return to the previous page. |
| Off On | Turn on/off the mouse. |
| cH+-( | Change program channel. |
| TTX | Open Teletext mode. |
| REC | Record program. |
| T-Shift | Timeshift in DTV mode. |
| REVEAL(EPG) | Displays the hidden text in teletext mode. (Electronic channel instructions.) |
| INDEX ( | Displays the index page in Teletext mode. (Play/pause function in multimedia) |
| ZOOM ( | Adjust the Teletext size. (Stop function in multimedia) |
HOLD ( ) | Hold the displays on the current page. (Last file in multimedia). |
| LANGUAGE ( | Change Teletext language. (Next file in multimedia). |
| Red key | Special function key. |
| Green key | |
| Yellow key | |
| Blue key |
- Use two AAA batteries for the RC. The RC should be pointed at the remote sensor within 8 meters and within 30 degrees at the left or the right side.
- Take the battery out of the RC if it Is not used for a long time.
- Do not mix new and used batteries or different types of batteries. Weak batteries can leak and severely damage the RC.
- Do not expose the RC to shock, or liquids, and do not place it in an area with high humidity.
CAUTION! Incorrect Installation of the batteries may lead to an explosion.
Please replace used batteries with batteries of the same or comparable type.
General operations
Power
- Connect the plug of the power cord to the main socket and press the POWER button to switch on the TV.
- Do not leave your TV in standby mode for a long period of time; If you are not going to use the unit, disconnect it from the power supply.
- In TV mode the unit will automatically go to standby mode if no signal for 5 minutes.
On average, the loading time of the TV can take up to 40 seconds. However, the loading time might differ, depending on the number of installed applications.
Operations
- Press the VOL- button repeatedly to decrease the volume; press the VOL+ button repeatedly to increase the volume.
- Press MUTE to mute sound, press this button again, or increase volume to resume sound.
- Press a button on the RC to select from the present channel and the previously displayed channel.
Signal sources
Press the SOURCE button, then press the LEFT/ RIGHT cursor buttons to select a signal source from the list of available sources. Press the OK button on the RC to confirm.
Teletext operations (option)
Select a TV channel in order to pick up the picture signal of Teletext. Teletext button functions are as follows:
TTX: Press this button to enter into
TEXT mode. Press the button again to return to the channel you are watching.
HOLD: Press this button to stop the move to the next page. Press this button again to cancel the operation.
INDEX: Press this button to go to the index page.
REVEAL: Press this button to reveal the concealed information. Press this button again to conceal the information.
Red/Green/Yellow/Blue buttons: Press these 4 color buttons to access directly to the corresponding color page displayed at the lower parts of the Teletext screen.
OSD operation
- Press the MENU button to enter the setting menu displayed on the screen.
- Press the LEFT/RIGHT cursor buttons to go to the needed setting page.
- Press the UP/DOWN cursor buttons to select a parameter to adjust.
- Press the LEFT/RIGHT buttons to adjust the selected parameter.
- Press the MENU button to return to the root menu or exit the menu setting.
Some menu items may be in grey color, in this case, they are not adjustable. Pictures of the OSD menu are for reference only; they may differ from the real screens.
Channel menu
| CHANNEL | Antenna Type Auto Tuning DTV Manual Tuning AN Manual Tuning LCN Program Edit Signal Information |
The CHANNEL menu differs depending on the selected TV source (antenna). This manual describes the DVB-T source.
- Antenna Type: antenna, cable.
- Auto Tuning: press OK to select the country and tune type for channels to start automatic search and saving of available AN channels. After the search is finished, the unit will skip to searching DTV channels, Radio channels, and Data. During the AN search, press the MENU button to skip to DTV, Radio, and Data search.
- DTV Manual Tuning: Press the LEFT/RIGHT cursor buttons to select the channel number. Press the OK button to start searching. When the nearest available channel is found, the search will stop and the channel will be saved under the selected number. Press the MENU button to quit.
- LCN: enable or disable the Logical Channel Numbering (LCN).
- Program Edit: this item allows you to sort TV programs according to your preferences. Enter the program edit menu:
Delete: Select the channel you want to delete. Move (not available for DTV channels with LCN):
Highlight the needed channel, and select the position to put the channel into.
Favorite: Select the channel you want to add to your favorite channel list.
Edit: Select the needed channel. Press the green button; now you can rename this channel. Enter a new name and press OK to confirm. - Signal Information: View the information on the current signal.
Picture menu
| PICTURE | Picture Mode Back Light Contrast Brightness Hue Sharpness Saturation Color Temperature Aspect Ratio Noise Reduction |
- Picture Mode: Standard/Soft/User/ Vivid. When User mode is selected, you can adjust the contrast, brightness, saturation, sharpness, and hue (in NTSC) of the image.
- Back Light: adjust the screen backlight intensity.
- Color Temperature: Standard/Warm/ Cool.
- Aspect ratio: Set the picture format: 16:9/4:3/Auto/Zoom1/Zoom2/Full Screen (only HDMI).
- Noise Reduction: Dynamic noise reduction effect for reducing the video noise level. Select the Off/Weak/Middle/Strong/ Auto.
Sound menu
| SOUND | Sound Mode Balance Surround AD Switch AD Volume SPDIF Output Audio Only Audio Type Audio Delay |
- Sound mode: Standard/Music/Movie/ /User. When User mode is selected, you can adjust audio frequencies manually.
- Balance: adjust the balance between the left and right speakers.
- Surround: set the surround sound effect on or off.
- AD Switch: switch the Audio Description feature on and off and adjust the volume level of the description.
- SPDIF Output: Select the digital audio output mode: RAW/Auto/PCM.
- Audio Only: disable the picture output and leave only audio.
- Audio Type: select one of the available audio types.
- Audio Delay: configure the audio delay feature.
Setting menu
| SETTING | Menu Time Audio Language 2nd Audio Language Subtitle Subtitle Language 2nd Subtitle Language TTX Language Subtitle Hearing Impaired Switch Mode Sleep Time Auto Sleep PVR File System Record List LCN Software Update (USB) Restore Default |
- Menu Time: select the time period when the on-screen display (OSD) is visible.
- Audio Language: select audio language (available for some DTV channels). You can also select the 2nd audio language.
- Subtitle: switch the subtitles on or off. (available for some DTV channels).
- Subtitle Language: select subtitle language (available for some DIV channels).
- TTX Language: select the language of the Teletext.
- Subtitle Hearing Impaired: switch the closed captions display for people with an impaired hearing on and off.
- Switch Mode: select the mode of channel switching.
- Sleep lime: select the time after which the TV will switch to standby mode.
- Auto Sleep: select the time after which the TV will automatically switch to standby mode if no button is pressed.
- PVR File System (in DTV mode):
Select Disc: select the storage used for PVR.
Time Shift Size. select the time for Time Shift.
Format: format the USB.
Speed Check: display the speed of the storage. - Record List: access the list of PVR recorded files.
- Software Update (USB): update the TV software using a USB drive (only for specialists.
- Restore Default: restore TV settings to their default factory values.
Parental Control
| Parental Control | Lock System Set Password Block Program CI CAM Pin Code Parental Guidance |
- Lock system: The feature can prevent unauthorized operation of the TV set unless entering a 4-digit password. When Lock System is on and the system is locked, you must input the system password at Auto Tuning, Manual Tuning, Program Edit, or Default. Press the right number buttons for the password. The default password is 0000.
After a password correction has been con-armed, please remember it for entering into the Parental Control menu, all functions can not be activated until the correct password is entered. - Set password: You can set your private password. Press the number buttons on the remote control to set the new password. When the new password has been put in twice, the setting is finished successfully. The TV will go back to the previous menu.
- Block program (in TV/DTV mode): Open the menu to lock the available program you want. Press the Green button again to unlock it.
- CI CAM Pin Code: when using CI CAM module, enter the PIN code obtained from your service provider to access paid channels.
- Parental Guidance: set age restrictions for certain channels or programs.
Electronic Programme Guide (in DTV mode)
Press the EPG button to display the Programme Guide menu. This function gives you detailed information of the channel, indicating the time the program is playing. From the Programme Guide, it is possible to check the program information for the next eight days (If the information is available from the broadcaster). Press the EXIT button to quit.
- Record: Press the Red button to set the parameters of recording, The unit is able to do schedule recording when TV is turning on or in standby mode. You can set up several scheduled recordings. Different schedules should not overlap. When recording starts in standby mode, the front indicators will change color and there will be no picture or sound from the unit. You can press the POWER button to light up the screen.
- Info: Press the INFO button to see the detailed information of the current channel.
- Remind: If you find the desired program which will be shown in the future. Press the green button to book the program.
Digital program recording Insert a USB, and the system will automatically create a folder to store the files recorded. Recording begins when the REC button is pressed, and it records all the time until the STOP button is pressed or the memory is full. please note the following about PVR: JSB storage device must have a capacity of at least 512 MB and support the USB 2.0 standard. Some non-standard storage devices may not be supported - Try formatting the inserted storage device when you have trouble recording.
- Do not disconnect the device while the formatting is in progress. When you format the device, all data on it is deleted. It may be advisable to back up your files before formatting.
- If the USB storage device has several partitions, the PVR system can record the data on any one of them.
TimeShift function
TimeShift is a feature enabling you to record an on-air digital TV program. Press the T-Shift button to activate TimeShift. The program is being recorded. You can pause and rewind. Press T-Shift again to resume the program. Press STOP or EXIT to disable TimeShift.
CI Information
(only in DTV mode): This function enables you to watch some encrypted services (pay services). Please insert a CI card into the PCMCIA slot according to the arrow on the CI card.
The function can only be available when CI card is present.- It is possible for you to change CI (Common Interface) menu screen and service by consulting your dealer.
- Please do not insert or pull out the CI card when power on. During the initialization of the CI card, please don’t operate the TV.
- Do not insert or pull out the CI card frequently so as to avoid any damage of the N and the CI card.
- If there is no picture and/or sound with the Cl+ CAM module inserted, please contact the customer support of the service provider.
Background information
- This unit supports playback of video files with 3GP, ASF, AVI, MKV, MPG, MP4, TS, and VOB extension, with video codecs MPEG-4, MPEG-II, and audio codec DD(AC3). the above list of extensions and is for information only and is not a guarantee that all files having the above extensions and codecs should be read by this unit.
- USB file systems supported: FAT16, FAT32. 2.0 USB version is supported, maximum capacity is 500 Gb. Max. load: DC5V, 500 mA. For correct and satisfactory operation, licensed USB devices of famous brands should be used with this unit. Avoid using USB devices of unknown brands. Playback of some file formats cannot be supported.
According to the USB 1.1/2.0 Standard, usage of a USB device with power current consumption exceeding 500 mA is not recommended without a supplementary power supply. Failure to use supplementary power for connected USB drives with power consumption exceeding this value as well as defective USB drives may cause mechanical or thermal changes of elements of this unit as well as the failure of internal elements of the USB port. Such damages are not warrantee cases.
Warning: usage of external USB drives containing BIN files in the root directory may cause malfunction of the unit or damage to the software.
Operations of file playback
- Insert a USB into the USB jack. Select the USB source and press the OK button. The screen will show a USB playback window, in which you can select Movie, Music, Photo, and File contents to play by pressing the LEFT/RIGHT cursor buttons and OK button.
- In the context menu, press the Cursor buttons to select a folder, press the OK button on the RC to enter it, then press the cursor buttons to select the file you want to watch or listen to. When highlighting the file, the file information will appear and the picture will be previewed (not available for music files). Press the PLAY and PAUSE buttons on the RC to play the selected file.
- While playback, press the MI button to pause or resume playback. Press the
button to stop playback. - When playing video files you can press

the button to jump to a previous or a text file.
SMART TV
General Information
This unit supports the SMART TV feature. For detailed information about its operation please refer to a separate leaflet included in the documentation package.
Technical specifications
| Basic specifications | CPU | ARM Cortex A53 Quad Core 1.2 GHz |
| Operating system | Android 9.0 | |
| RAM | 1 GB DDR3 | |
| Storage | 8 GB* (extendable by external USB storage devices) | |
| Connections | WiFi | 802.11 b/g/n |
| Ethernet | LAN RJ-45 | |
| USB | 2 x USB 2.0 |
* User has direct access to less storage than that, as the operating system and pre-installed applications already occupy some of that memory.
General Information
Troubleshooting
Below is a table describing simple measures that can help you eliminate most problems likely to emerge when this unit is in use. If the below measures do not help, tum to a service center or to the nearest dealer.
| Symptom | Cause | Solution |
| No picture, no sound, and no indicator light | The power cord is not plugged in. Contrast, brightness, color, and volume are all in the minimum value or the TV is in mute mode. | Plug the power cord in. Alter the value of contrast, brightness, color, and volume. |
| Picture and sound with abnormity | Contrast and color are set improperly. The color system is set improperly. The sound system is set improperly. | Set the value of Contrast and color properly. Set the sound system properly. |
| The picture is spotted or with snow | The signal source is low-grade or the signal is in a lower quality. | Use the qualified signal cord. |
| Blue background | No video signal or the signal cord is improperly/not connected. | Connect the signal cord properly. |
| No sound | No audio signal or the signal cord is improperly/not connected. | Connect the audio signal cord properly. Set the sound system properly. |
| The RC does not work | Batteries are improperly installed or exhausted. | Make sure the positive and the negative polarities are correct. Reattach the battery lid. Replace the batteries. |
Causes of interference
Incorporated in your TV receiver are the most up-to-date devices to eliminate interference. Local radiation, however, can create disturbances, which visibly affect your picture. Proper installations, a good aerial are your best safeguards against these disturbances.
- RF INTERFERENCE: Moving ripples across the screen are caused by nearby transmitting or receiving short-wave radio equipment.
- DIATHERMY: Herringbone pattern and partial picture loss can result from the operation of diathermy equipment from a nearby doctor’s surgery or hospital.
- SNOW: Weak TV signals from long distant stations result in an instead picture and give the effect of falling snow. An antenna adjustment or antenna amplifier may be needed.
- GHOST: Multiple images, caused by TV signals reflected back from surrounding buildings, hills, aircraft, etc. is minimized by correct aerial positioning.
- CAR IGNITION: Nearby cars and electric motors can cause small streaks across the picture or make the picture roll.
Accessories
1. LED TV………………………………….1 pc
2. Remote control………………………..1 pcs
3. Batteries………………………………….. 2 pcs
4. Stand……………………………………. 2 pcs
5. Screw…………………………….2 pcs
6. Instruction manual……………..1 pc
Specifications
| Size (diagonal) Response time Resolution Aspect ratio Color system View angle Sound system NICAM Stereo Composite RCA input USB port SMART TV HDMI input Headphone jack Optical audio output DVB-T/DVB-T2/DVB-C signal reception PCMCIA slot (CI, Cl+ support) Russian and English OSD Progressive scan Digital comb filter Sleep timer Quantity of channels (ATV/DTV) Teletext pages PVR function Time Shift function USB movie, photo, and audio support Electric shock protection class Nominal voltage range of the LED TV: Unit dimensions: with stand without stand Net weight | 31.5″ (80 cm) 8.5 ms 1366 x 768 16:9 PAL, SECAM vertical 178°, horizontal 178° B/G, DK, I 2 x 6 W x2 + x2 + + + + + + 3D + 199/400 1000 + + + II -100-240 V; 50 Hz 731 x 177 x 486 mm 731 x 68 x 433 mm 3.85 kg |
Operating conditions
Ambient temperature………………….from 5 to 35 °C
Relative humidity…………………………..from 45 to 75%
Atmospheric pressure……………………… from 86 to 106 kPa (650-800 mm Hg)
The LED panel is a high-technology product with many thin-film transistors that can give you fine picture details. Occasionally, a few non-active pixels may appear on the screen as a fixed point of blue, green, red, black or white, please note that this does not affect the performance of your LED TV.
Warning: For improvement reasons, specifications may be subject to change without prior notice. Dimensions and weights are approximate.












![Lg Led Tv Applies Lcd Screen With Led Backlights User Manual [32lm500bpua, 43lm5000pua, 28lm400b-pu, 28lm430b-pu, 28tl430d-pu] Lg Led Tv Applies Lcd Screen With Led Backlights User Manual [32lm500bpua, 43lm5000pua, 28lm400b-pu, 28lm430b-pu, 28tl430d-pu]](https://static-data1.manualsee.com/1/img/340/52524/2021/01/LG-LED-TV-Applies-LCD-Screen-with-LED-Backlights-User-Manual-32LM500BPUA-43LM5000PUA-28LM400B-PU-28LM430B-PU-28TL430D-PU.jpg)







