Duluth Forge CM500-2-AW 32 inch Ventless Firebox Owner’s Manual
WARNING: Read and follow all warnings and instructions in this manual to avoid personal injury or property damage.
INSTALLER: Leave these instructions with the owner for future reference.
CONSUMER: Retain this manual for future reference.
WARNING: WOOD AND MDF ARE CONSIDERED COMBUSTIBLE MATERIALS. MANUFACTURER’S RECOMMENDED HEAT CLEARANCES MUST BE FOLLOWED. BEFORE INSTALLING, CHECK YOUR LOCAL BUILDING CODES AND THE MANUFACTURER’S INSTRUCTIONS FOR YOUR SPECIFIC FIREPLACE INSERT OR STOVE.
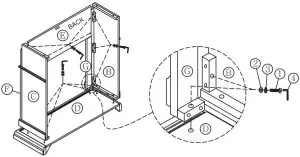
COMPONENT LIST
| 1 |
| Allen Bolt ¼” x 32mm | 21 PCS |
| 2 |
| Flat washer ¼” x 16×1.5mm | 21 PCS |
| 3 |
| Spring washer ¼” | 21 PCS |
| 4 |
| Allen wrench 4mm | 1 PC |
HARDWARE LIST
| DRAWING | DESCRIPTION | QTY | |
| A |
| TOP PANEL | 1 PC |
| B |
| LEFT SIDE PANEL | 1 PC |
| C |
| RIGHT SIDE PANEL | 1 PC |
| D |
| BOTTOM PANEL | 1 PC |
| E |
| FRONT PANEL | 1 PC |
| F |
| RIGHT FRONT POST | 1 PC |
| G |
| LEFT FRONT PANEL | 1 PC |
| H |
| CENTER LEG | 1 PC |
ASSEMBLY INSTRUCTIONS
- STEP 1
- STEP 2

- STEP 3

- STEP 4

WARRANTY
KEEP THIS WARRANTY
Model:________________________________________________
Serial No.:_____________________________________________
Date Purchased:_________________________________________
Keep receipt for warranty verification.
REGISTER YOUR PRODUCT AT WWW.FACTORYBUYSDIRECT.COM FACTORY BUYS DIRECT LIMITED WARRANTIES
New Products
Standard Warranty: Factory Buys Direct warrants this new product and any parts thereof to be free from defects in material and workmanship for a period of one (1) year from the date of first purchase from an authorized dealer provided the product has been installed, maintained and operated in accordance with Factory Buys Direct’s warnings and instructions.
For products purchased for commercial, industrial or rental usage, this warranty is limited to 90 days from the date of first purchase.
Factory Reconditioned Products
Limited Warranty: Factory Buys Direct warrants factory reconditioned products and any parts thereof to be free from defects in material and workmanship for a period 30 days from the date of first purchase from an authorized dealer provided the product has been installed, maintained and operated in accordance with Factory Buys Direct’s warnings and instructions. No return will be authorized. Parts will be provided to repair the product.
Terms Common to All Warranties
The following terms apply to all of the above warranties:
Always specify model number and serial number when contacting the manufacturer. To make a claim under this warranty, the bill of sale or other proof of purchase must be presented.
This warranty is extended only to the original retail purchaser when purchased from an authorized dealer, and only when installed by a qualified installer in accordance with all local codes and instructions furnished with this product.
This warranty covers the cost of part(s) required to restore this product to proper operating condition and an allowance for labor when provided by a Factory Buys Direct Authorized Service Center or a provider approved by Factory Buys Direct. Warranty parts must be obtained through authorized dealers of this product and/or Factory Buys Direct who will provide original factory replacement parts. Failure to use original factory replacement parts will void this warranty.
Traveling, handling, transportation, diagnostic, material, labor and incidental costs associated with warranty repairs, unless expressly covered by this warranty, are not reimbursable under this warranty and are the responsibility of the owner.
Excluded from this warranty are products or parts that fail or become damaged due to misuse, accidents, improper installation, lack of proper maintenance, tampering or alteration(s).
This is Factory Buys Direct’s exclusive warranty, and to the full extent allowed by law; this express warranty excludes any and all other warranties, express or implied, written or verbal and limits the duration of any and all implied warranties, including warranties of merchantability and fitness for a particular purpose to one (1) year on new products and 30 days on factory reconditioned products from the date of first purchase.
Factory Buys Direct makes no other warranties regarding this product.
Factory Buys Direct’s liability is limited to the purchase price of the product and Factory Buys Direct shall not be liable for any other damages whatsoever under any circumstances including direct, indirect, incidental, or consequential damages.
Some states do not allow limitations on how long an implied warranty lasts or the exclusion or limitation of incidental or consequential damages, so the above limitation or exclusion may not apply to you.
This warranty gives you specific legal rights, and you may also have other rights which vary from state to state.
Support
Factory Buys Direct
500 Brown Industrial Parkway
Canton, GA 30114
1-855-607-6557
http://www.factorybuysdirect.com/





























