Hunter WHCFLOW Wireless HC Flow System

Introduction
Never tunnel under or cut through a sidewalk again! Add wireless flow monitoring capabilities to your Hydrawise® control system with this simple wireless communication kit. The Wireless HC Flow communication kit helps save time, materials, and labor for any new installation or retrofit project. When asphalt, concrete, and other hardscape get in the way, easily pair the wireless transmitter and receiver with any HC Flow Meter* to monitor system hydraulics. Send station-level flow rates and totals wirelessly from the sensor to the controller, without the need to run wire or dig trenches.
- Provides 152 m line-of-sight communication from transmitter to receiver
- Compatible with HC, HPC, Pro-HC, and HCC controllers The Wireless HC Flow Meter is compatible with the Hydrawise web-based irrigation management platform. For setup instructions, visit https://support.hydrawise.com.

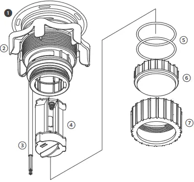
- Receiver
- Receiver retaining nut
- Wiring harness: white and blue wires to sensor terminals; yellow wires to 24 VAC terminals

WHCFLOW Components
- Transmitter
- Transmitter retainer nut
- White and blue wires (to sensor)
- Battery pack (3 AA)
- O-rings
- Battery compartment cover
- Battery compartment cap
System Overview and Operations
The Wireless HC Flow communication kit pairs with any HC Flow Meter* to provide wireless flow monitoring capabilities with Hydrawise enabled controllers. Compatible flow meters and controllers include:
- HC-075-FLOW (-B), HC-100-FLOW (-B), HC-150-FLOW (-B), HC-200-FLOW (-B)
- HC, HPC, Pro-HC, and HCC controllers The Wireless HC Flow kit provides 152 m line-of-sight communication from transmitter to receiver.
Flow data is transmitted wirelessly every 5 seconds, indicated by a blinking green LED on both the transmitter and receiver.
The Wireless HC Flow receiver is powered by the 24 VAC terminals within the controller.The Wireless HC Flow transmitter is battery powered (3 AA) and has two wires coming from it for connection to the HC Flow Meter. Transmitter and HC Flow Meter Installation Details
Transmitter Installation
- Using a hole saw, cut a 8.25 cm diameter hole in the valve box lid.
- Unthread the transmitter retainer nut and feed the transmitter through the hole in the valve box lid so the mushroom cap is exposed.
- Secure the transmitter in place by threading the transmitter retainer nut clockwise until snug against the valve box lid ribs.
- Using the included waterproof connectors, splice the white wire from the transmitter to the white wire from the HC Flow Meter. Then splice the transmitter blue wire to the HC Flow Meter blue wire.

Installation
Receiver Installation
- The Wireless HC Flow Receiver mounts to and is powered by its host controller.
- For best results, mount the receiver through one of the side knockouts on the controller. Use a 22 mm hole saw to remove the knockout. Feed the wires and threaded nipple through the knockout into the controller, and secure in place with the receiver retaining nut.
- Connect the two yellow wires to either 24 VAC terminals.
- Connect the white and blue wires to the sensor terminals.

Pairing the Transmitter and Receiver
The transmitter and receiver are preconfigured for wireless communication right out of the box. After applying power to either the transmitter or receiver, wait a minimum of 10 seconds for the power up sequence to complete. During this time, there will be one or more green LED blinks before the unit is ready for operation. When flow is occurring, the transmitter will transmit flow sensor data at a maximum rate (depending on flow) of once every 5 seconds. The receiver LED will flash green at the same rate to indicate that flow is occurring.
Low-Battery Indication (Transmitter)
The receiver LED will flash red twice every 3 seconds to indicate a low or discharged battery. This battery status update will occur only during flow conditions.
System Considerations
When multiple controllers and sensors are within close proximity of one another, users should change the radio channels to prevent cross-talk between the transmitters and receivers. There are eight dip switch positions within both the transmitter and receiver, labeled as 1–8. The factory default setting for both the transmitter and receiver has dip switch position 1 set to ON, and all other dip switches set to OFF. To change the channel, simply change the dip switch positions. Example: Using a flathead screwdriver, flip dip switch position 1 to OFF, and flip switch position 2 to ON (do this for both the transmitter and receiver).
FCC
This device complies with part 15 of the FCC Rules. Operation is subject to the following two conditions:
- This device may not cause harmful interference, and
- this device must accept any interference received, including interference that may cause undesired operation.
This equipment has been tested and found to comply with the limits for a Class B digital device pursuant to Part 15 of the FCC Rules. These limits are designed to provide reasonable protection against harmful interference in
a residential installation. This equipment generates, uses, and can radiate radio frequency energy and, if not installed and used in accordance with the instructions, may cause harmful interference to radio communications. However, there is no guarantee that interference will not occur in a particular installation. If this equipment does cause harmful interference to radio or television reception, which can be determined by turning the equipment off and on, you are encouraged to try to correct the interference by taking one or more of the following measures:
- Reorient or relocate the receiving antenna.
- Increase the separation between the equipment and receiver.
- Connect the equipment into an outlet on a circuit different from that of which the receiver is connected.
- Consult the dealer or an experienced radio/TV technician for help.
Changes or modifications not expressly approved by Hunter Industries could void the user’s authority to operate this device. If necessary, consult a representative of Hunter Industries Inc. or an experienced radio/television technician for additional suggestions.
Notices
ISED
This device contains licence-exempt transmitter(s)/receiver(s) that comply with Innovation, Science and Economic Development Canada’s licence-exempt RSS(s). Operation is subject to the following two conditions:
- This device may not cause interference.
- This device must accept any interference, including interference that may cause undesired operation of the device.
CE
Hereby, Hunter Industries declares that the radio equipment type models W-HC-FLOW-TR-INT and W-HC-FLOW-R-INT are in compliance with Directive 2014/53/EU. The full text of the EU declaration of conformity is available at the following internet address:

























