Dimplex H 260E Eco Electronic Bathroom Quick Heater
Product Information
The H 260E and H 260E eco are electric heaters manufactured by Glen Dimplex Deutschland GmbH. These heaters come with an electronic room temperature controller that has a weekly program, adaptive regulation of the heating start, and operation time limitation. The heaters have a voltage rating of 1/N/PE, 230 V~, 50 Hz and an IP24 protection rating. The dimensions of the heater are 300 x 405 x 120 mm, and it weighs 3.2 kg. The H 260E has a heating capacity of 2.0 kW (max), 1.0 kW (min), and 0.5 W in standby mode. The H 260E eco has a heating capacity of 1.0 kW (max), 0.0 kW (min), and 0.5 W in standby mode.
Product Usage Instructions
Installation
- Ensure that there are no electric or pipe lines in the wall before drilling holes for mounting the heater.
- Mount the wall bracket horizontally and securely to the wall.
Operation
- To set the date and time, press the “Enter” button, use the “Adjustment” buttons to set the day, hour, and minute, and press “Enter” again to save the settings.
- In manual mode, the weekly program timer is disabled, and the room temperature is set manually using the adjustment buttons.
- To turn on/off the heater, press the “On/Off” button.
- To activate adaptive start, press the “Adaptive Start” button.
Options
- Press the “Options” button to access the various options, such as audio connection, timer, manual mode, frost protection, and preference settings.
- Use the “Adjustment” buttons to select the desired option, and press “Enter” to confirm.
Technical Specifications
The H 260E and H 260E eco have a maximum heating capacity of 2.0 kW and 1.0 kW, respectively, and a standby power consumption of 0.5 W. The heaters have an IP24 protection rating and a voltage rating of 1/N/PE, 230 V~, 50 Hz.
NOTE
Dear customer,
Keep these instructions in a safe place and pass them on to possible future owners.
ATTENTION
- This device can be used by children aged 8 and over and by persons with limited physical, sensory or mental aptitude or lack of experience and/or knowledge, providing they are supervised or have been instructed in the safe use of the device and understand the associated potential dangers. Children must not play with the device. Cleaning and user maintenance may not be carried out by children without supervision!
- Children younger than 3 years of age must be kept away unless they are supervised constantly. Children between the ages of 3 and 8 may switch the device on and off if they are supervised or have been instructed in the safe use of the device and have understood the resulting dangers, providing that the device is positioned or installed in its normal place of use!
- Children between the ages of 3 and 8 may not switch on the device, clean the device or carry out maintenance!
The device carries the symbol shown on the right, which indicates that the heating device must under no circumstances be covered with any objects.- Some parts of the device can get very hot and cause burns. Particular caution must be taken with children or vulnerable people!
- Do not operate the heating device in rooms where highly inflammable substances are used (e.g. solvents).
- Install the device in such a manner that it cannot be touched by a person in the bathtub or under the shower.
- If the power cable is damaged, it must be replaced by the manufacturer or after-sales service representative or a person with comparable qualifications for switching off danger sources!
- In order to avoid a hazard due to inadvertent resetting of the thermal cutout, this appliance must not be supplied through an external switching device, such as a timer or connected to a circuit that is regularly switched on and off by the utility.
- Rooms can become overheated if left unattended whilst being heated. Persons who are not able to vacate the room if the temperature becomes too high can thus be placed in danger.
NOTE: Use device for room heating within enclosed rooms only.
Assembly, installation, minimum clearance
ATTENTION: Do not install the device directly below a wall socket.

- The minimum clearances must be observed.
- In addition, a clearance of 750 mm is to be maintained in front of the unit.
- The heating device must be aligned horizontally and installed on a vertical wall (see illustration).
- All dimensions in mm
- During assembly, the safety area must be complied with according to the current installation regulations.
- The socket or supply connection socket must be accessible after installation.
- Make sure that the inflow and outflow of air at the device are unimpeded.
NOTE
- Installation on wooden walls is permissible. Wall mounting
ATTENTION
- The original wall bracket supplied on the rear of the device must be used!
NOTE

- Look out for electric cables or pipework in the wall when drilling.
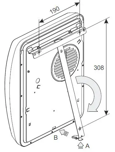
- Unlock the wall bracket (A) and remove from the device.
- Drill mounting holes for the wall bracket and insert the dowels.
- Align the wall bracket and firmly screw it onto the wall.
- Hang the device on the wall mount.
- Pivot down the heater and push into place (B).
Electrical connection
- The voltage specified on the type plate must match the line voltage.
- The cable must not be in contact with the casing.
- It is recommended that a separate circuit be provided for the power supply.
- Insert the plug in the socket. The plug must always be accessible in case of emergencies.
- The unit must be connected only to an earthed power outlet.
Overload protector
- For your safety, the heating device is equipped with an overload protector. If the air circulation is interrupted (e.g. due to the air grille being covered or closed), the device switches off automatically. Err35 is shown on the display.
- In this case, the power supply to the heating device should be disconnected for a few minutes (disconnect the plug, switch off the fuse) to allow the device to cool down sufficiently.
- Before recommissioning the device, remove the reasons for the overload protector being triggered.
Cleaning
- The device must be disconnected from the mains and allowed to cool down before cleaning and maintenance. Clean the outside of the device using a soft, damp cloth. Do not use scouring powder or furniture polish as this may damage the surface.
- Dust which gathers inside the device can be removed from the outside using a vacuum cleaner.
Control description
Control unit

The heating device is equipped with a configurable electronic control, consisting of a display and six touch-screen keys. The control unit is located on the top on the right. All settings can be selected using the six keys on the user interface. The set functions and values are shown on the display.
Key functions
MAIN MENU
- Setting date and time
- Manual operation
- Frost protection mode
- Timer week program
BACK
- Return to the previous program item
Keys ![]()
- Used to navigate through the menu and to change the setting values.
ENTER
- Saving settings.
ADVANCE
- Special functions such as switching to the next programme item in timer mode or activating the run-back timer.
Display
The display lights up when a key is activated. If no changes are made for a prolonged period, the display switches off. If no key is pressed, the display returns to the main menu after 30 seconds. The 4-digit device PIN is displayed by pressing the ENTER key.
Operating modes
Manual operation
- Manual specification of the room temperature.
- MANUAL symbol is shown in the display.
Frost protection
- Specified frost protection temperature of 7° C.
- FROST symbol is shown in the display.
Timer week program
- Up to four heating programs (On/Off) can be set for each weekday. A room temperature can be specified for each heating program.
- TIMER symbol is shown in the display.
NOTE
- The room temperature can be changed with the
keys in all operating modes. - In the timer program, this change is only carried out for the current time program.
Commissioning
Setting the date and time
- The control includes a real-time clock with calendar function.
The date and time are set with the following steps:

- Press the MENU key.
- Press
to select the DATE & TIME symbol. - The symbol flashes.
- Press the ENTER key. The hours display flashes.
- Use
to set the hours and minutes. Confirm every position specified with the ENTER key. - The time is saved and the display dAY flashes briefly.
- Use
to set the day. - Confirm every position specified with the ENTER key. 1- 12 display flashes briefly.
- Use
to set the month. - Confirm every position specified with the ENTER key. YEAr display flashes briefly.
- Use
to set the year. - Confirm every position specified with the ENTER key. dSt (summer time) ON display flashes.
- Recommendation: Confirm the ON display with the ENTER key. This ensures the system will automatically change to summer/winter time.
Operation
Standby mode (waiting position)
- Hold down the BACK key until the display Eolt appears.
- The heating device is in standby mode.
- To return to the previous operating status, briefly press the BACK key.
Switching heating operation on/off

Switching heating operation on
- Press the MAIN MENU key. The TIMER symbol flashes.
- Press
to select the required operating mode. The symbol flashes. - Confirm with the ENTER key.
Switching heating operation off
- Press the MAIN MENU key. The TIMER symbol flashes.
- Press
to select the OFF symbol. The OFF symbol flashes. - Confirm with the ENTER key.
NOTE
- Heating operation Off does not mean that the device is completely disconnected from the power supply.
- To disconnect the device from the electricity network, please pull out the plug.
Manual operation
NOTE
- The timer week program is deactivated in manual operation.
- The room temperature specification takes place manually.

- Press the MENU key. The TIMER symbol flashes.
- Press
to select the MANUAL symbol. The MANUAL symbol flashes. Press the ENTER key. - Use
to set the room temperature.
Frost protection

- Specified frost protection temperature of 7° C.
- Press the MENU key. The TIMER symbol flashes.
- Press
to select the FROST symbol. The FROST symbol flashes. Press the ENTER key. FROST symbol and 7° C are displayed.
NOTE
- The pre-set temperature value of 7° C can be changed with
.
Timer week program

- The timer is pre-programmed at the factory. Four-time blocks, which can be adapted individually for each weekday, are available per day.
To change these profiles, carry out the following steps:
- Press the MENU key. The TIMER symbol flashes.
- Press the ENTER key. The ON symbol flashes.
- Press
to select the EdIt display. EdIt display flashes. - Press the ENTER key. The weekday flashes.
- Use
to select the day.- Monday
- Tuesday
- Wednesday
- Thursday
- Friday
- Saturday
- Sunday
- Press the ENTER key. P1 (Program 1) flashes.
- Press the ENTER key. Switch-on time flashes.
- Use
to set the hours and minutes. Confirm every position specified with the ENTER key. Room temperature flashes. - Use
to set the temperature. Press the ENTER key. Switch-off time flashes. - Use
to set the hours and minutes. Confirm every position specified with the ENTER key. P2 (Program 2) flashes. - The programs P2, P3 and P4 can be set in the same way.
- To copy the newly set programs P1 – P4 to other days, hold down the ADVANCE key. COPY display flashes briefly.
- The day values selected are copied.
- Press
to select a new weekday. The weekday flashes. - Hold down the ENTER key. PStE display flashes briefly. The day values copied are assigned to the new weekday.
- Then press the MAIN MENU key.
Run-back timer
- The run-back timer can be used to activate a one-off, time-limited heating program.
Basic settings

- Hold down the MENU and ADVANCE keys until the rb display flashes.
- Press the ENTER key. ON/OFF display flashes.
- Press
to select the ON display. Press the ENTER key. Maximal run-back time flashes. - Use
to set the maximal run-back time.
| Maximal run- back time | Press the ADVANCE key: | |||
| 1 time | 2 times | 3 times | 4 times | |
| 30 minutes | 00:15 | 00:20 | 00:25 | 00:30 |
| 01:00 h (factory) | 00:15 | 00:30 | 00:45 | 01:00 |
| 01:30 h | 00:15 | 00:30 | 01:00 | 01:30 |
| 02:00 h | 00:30 | 01:00 | 01:30 | 02:00 |
| 04:00 h | 01:00 | 02:00 | 03:00 | 04:00 |
| 06:00 h | 01:30 | 03:00 | 04:30 | 06:00 |
| 08:00 h | 02:00 | 04:00 | 06:00 | 08:00 |
- Press the ENTER key. Room temperature flashes.
- Where necessary, change the room temperature with
. Confirm with the ENTER key.
Run-back timer On
NOTE: Not possible if operating mode TIMER is selected.

- Press the ADVANCE key. Run-back time flashes.
- The run-back time can be changed by pressing the ADVANCE key several times.
- Press the ENTER key. Run-back timer = ON.
Run-back timer Off
- Press the ADVANCE key several times until the OFF display flashes.
- Press the ENTER key. Run-back timer = OFF.
Adaptive start-up
NOTE
- This function is executed only when the operating mode TIMER is selected.
- This function guarantees that the set room temperature is achieved exactly at the start of the switch-on time.
Example: In the timer menu, a set room temperature of 22° C is specified for 07:00. The current room temperature is 17° C. The heating device switches on early so that the specified room temperature of 22° C is reached by 07:00.
- Hold down the MENU and ADVANCE keys until the rb display flashes.
- Press
to select the ADAPTIVE START symbol. The symbol flashes. - Press the ENTER key.
- Press
to select ON or OFF to switch the function on or off.
Options
Blocking keys

- Key functions are blocked using a freely selectable four-digit numerical code.
NOTE
- The function of the run-back timer and switching to the next programme item in timer mode is also possible with active key lock.
- Hold down the MENU and ADVANCE keys until the rb display flashes.
- Press
to select the BLOCKED symbol. The symbol flashes. - Press the ENTER key. The number display flashes.
- Press
to specify the number for the unlock code. Confirm every position specified with the ENTER key.
NOTE
- If the specified lock code is not available, the block can be cleared by entering the number 4115.
Unlocking keys
- Press any button. The four-digit numerical code 0000 is displayed.
- Press
to enter the number for the unlock code. Confirm every position specified with the ENTER key.
Reducing heat output, cold air mode

Model H 260E, Future
- The maximal heat output of 2 kW can be reduced to 1 kW. Alternatively, the device can be operated as a cold air fan.
Model H 260E eco
- The device can be alternatively operated as a cold air fan.
- Hold down the ADVANCE key until the HILO display appears.
- Press
to select HI or LO or FAN. The display means:- HI = normal operation, full fan speed.
- LO = fan speed reduction, heat reduction to 1 kW on model H 260E/Future.
- FAN = cold air mode (no heat output).
- Confirm selected setting with ENTER.
Minimum room temperature
This function can be used to ensure that a minimum room temperature is specified even during OFF times, for example in timer mode (week program).
NOTE: The specification also applies to the runback timer function. Frost protection mode has priority.

- Hold down the MENU and ADVANCE keys until the rb display flashes.
- Press
. The Sb display flashes. - Press the ENTER key. The ON symbol flashes.
- Press the ENTER key. The minimum room temperature (factory setting 16° C) flashes.
- Use
to set the minimum room temperature and confirm with ENTER. - Press the BACK key to return to the standard display.
Reset to factory settings

- Resets all settings made by the user to the pre-set factory settings.
- Hold down
until the Fr n display appears. - Press
to select the Y display. The symbol flashes. - Press the ENTER key. All values are reset to the factory settings. Time display appears.
- Set the time and date.
Temperature unit
- Display can be set to degrees Celsius and degrees Fahrenheit.
- Hold down the MENU key until ° C display flashes.
- Press
to select ° C or ° F. - Confirm with the ENTER key.
NOTE
- The temperature unit ° C is customary in most European countries.
Warranty
- This product is supplied with a two-year warranty according to our terms of guarantee.
Note on disposal
Do not dispose of the unit with general household waste. The device must be taken to a local waste disposal plant.
Technical data
| Model reference | H 260E | H 260E eco | |
| Nominal voltage | 1/N/PE, 230 V~, 50 Hz | ||
| Degree of protection | IP24 | ||
| Dimensions (W x H x D) | 300 x 405 x 120 mm | ||
| Weight | 3.2 kg | ||
| Heat output | |||
| Nominal heat output | Pnom | 2.0 kW | 1.0 kW |
| Minimum heat output (indica- tive) | Pmin | 1.0 kW | 1.0 kW |
| Maximum con- tinuous heat output | Pmax, C | 2.0 kW | 1.0 kW |
| Auxiliary electricity consumption | |||
| At nominal heat output | elmax | 0.0 W | 0.0 W |
| At minimum heat output | elmin | 0.0 W | 0.0 W |
| In standby mode | elSB | 0.5 W | 0.5 W |
| Type of control | |||
| Electronic room temperature controller with week pro- gram, adaptive control of the heating start and operating time limit | |||
Glen Dimplex Deutschland GmbH
- Tel.: +49 9221 709 700 Am Goldenen Feld 18
- Fax.: +49 9221 709 701 D-95326 Kulmbach
- E-mail: [email protected]
- www.dimplex.eu


The device carries the symbol shown on the right, which indicates that the heating device must under no circumstances be covered with any objects.
















