QUOIZEL FTS638EK Fortress 6-Light Earth Black Linear Chandelier

Product Information
The installation guide is for FTS638EK and FTS638MM. It contains safety information, care and maintenance instructions, and package contents. The package contents include:
- Upper Assembly x1
- Ceiling Canopy x1
- Fixture Body C x1
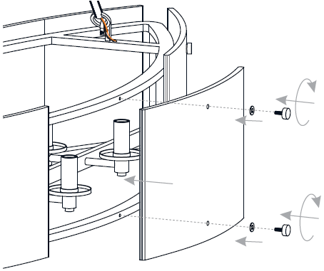
- Glass Panel D x6
- Rubber Washer E x12
- Lock Screw F x12
- Crossbar Assembly AA x1
- Wire Connector BB x3
- Outlet Box Screw CC x2
- Quick Link DD x4
- Fixture Chain EE x2
The recommended bulb type is 60W with a candelabra (E12) bulb base type and bulb shape type B.
Product Usage Instructions
- Install Upper Assembly to Fixture Body.
- Install Fixture Chains.
- Pull Supply Wires:
Pull the supply wires with ground wire through the chain alternate links.
OPTIONAL: Adjust Chain as desired, using pliers and soft cloth (neither included).
Suggested chain length for Ceiling height:
8 feet ceiling: use 8 links of chain and 2 quick links each side
9 feet ceiling: use 18 links of chain and 2 quick links each side
10 feet ceiling: use 28 links of chain and 2 quick links each side - Install Crossbar Assembly.
- Install Lanyards:
Outlet Box
Button Stop
Lanyard L
N G
Lanyard - Wiring:
White wire from supply
Ribbed side of wire from fixture identified with the label N
Black (or red) wire from supply
Smooth side of wire from fixture identified with the label L
Ground wire from supply
Ground wire from fixture identified with the label G
Green ground wire - Install Ceiling Canopy.
- Install Glass Panels.
- Install Bulbs:
Install six correct bulbs referring to fixture markings and/or labels for maximum wattage. Recommended Bulb Type (not included):
60W
BULB BASE TYPE BULB SHAPE Candelabra (E12) TYPE B - Restore electricity and save the installation guide for future reference.
SAFETY INFORMATION
Please read and understand this entire manual before attempting to assemble, install or operate the product.
WARNING
- RISK OF ELECTRIC SHOCK – Before beginning installation, turn off electricity at the circuit breaker box or the main fuse box.
- RISK OF FIRE – Use bulbs specified by the markings and/or labels on the fixture.
CAUTION
- For your safety, read instructions completely before beginning installation.
- If in doubt about electrical installation, consult a licensed electrician.
- Turn off electricity to fixture before replacing the bulb(s).
TOOLS REQUIRED
CARE AND MAINTENANCE
- Wipe clean using soft, dry cloth or static duster. Always avoid using harsh chemicals and abrasives to clean fixture as they may damage the finish.
If you need further assistance call Quoizel Customer Care at 1-800-645-3184 (9:00am – 5:00pm EST), or visit us on-line at www.quoizel.com.
PACKAGE CONTENTS



MOUNTING HARDWARE


INSTALLATION
- Install Upper Assembly to Fixture Body

- Install Fixture Chains
OPTIONAL: Adjust Chain as desired, using pliers and soft cloth (neither included).
Suggested chain length for Ceiling height:
8 feet ceiling: use 8 links of chain and 2 quick links each side
9 feet ceiling: use 18 links of chain and 2 quick links each side
10 feet ceiling: use 28 links of chain and 2 quick links each side
- Pull Supply Wires
Pull the supply wires with ground wire through the chain alternate links.
- Install Crossbar Assembly

- Install Lanyards

- Wiring

- Install Ceiling Canopy

- Install Glass Panels

- Install Bulbs
Install six correct bulbs referring to fixture markings and/or labels for maximum wattage.
Recommended Bulb Type (not included):
Your installation is now complete! Restore electricity and save this sheet for future reference.


OPTIONAL: Adjust Chain as desired, using pliers and soft cloth (neither included).






















