SYNERGEE A-Frame Dumbbell Rack Instruction Manual
Parts List
- Stabilizer (2pcs)

- Middle Frame (1 pcs)

- Top Stabilizer (1 pcs)

- Main Frame (2pcs)

A. M10x45 (8pcs)
B. M10x75 (4pcs)
C. M10 Washer (24pcs)
D. M10 (1 2pcs)
Assembly
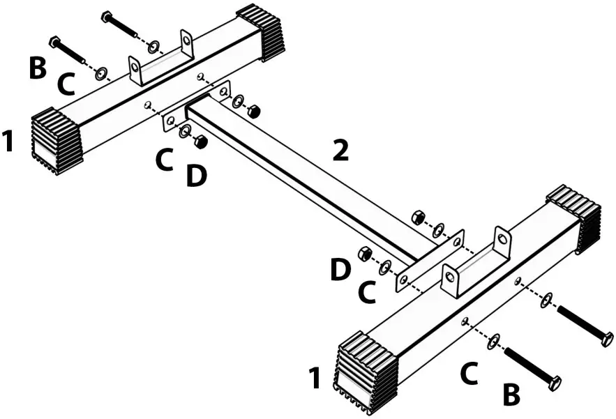
Step 1
Connect the 2 stabilizers(#1) to the middle frame(#2) using 4x m10x75(B), 8x M10 Washer(C) and 4x M10 Nuts(D). Tighten until secure.
Step 2
Connect the 2 main frames(#4) to the stabilizers(#1) using 4x m10x45(A), 8x M10 Washer(C) and 4x M10 Nuts(D). Lightly tighten. Proceed to attach the top stabilizer(#3) to the 2 main frames(#4) using 4x m10x45(A), 8x M10 Washer(C) and 4x M10 Nuts(D). Tighten all screws from step 2 until secure.
![]()






















