PR-2 HALF RACK

Product may vary slightly from the item pictured due to model upgrades
Read all instructions carefully before using this product. Retain this owner’s manual for future reference.
NOTE: This manual may be subject to updates or changes. Up to date manuals are available through our website at www.lifespanfitness.com.au
IMPORTANT SAFETY INSTRUCTIONS
WARNING – Read all instructions before using this machine.
- Install the product on a flat level surface
- Place your unit on a solid, level surface when in use
- Never allow children on or near the machine.
- Keep hands away from all moving parts.
- Never drop or insert any object into any openings.
- Care must be taken when lifting or moving the equipment so as not to injure your back. Always use proper lifting techniques and/or seek assistance if necessary.
- Keep children and pets away from the machine at all times. DO NOT leave children unattended in the same room with the machine.
- Only 1 person at a time should use the machine.
- If the user experiences dizziness, nausea, chest pain, or any other abnormal symptoms, STOP the workout at once. CONSULT A PHYSICIAN IMMEDIATELY
- Do not use the machine near water or outdoors.
- Keep hands away from all moving parts.
- Always wear appropriate workout clothing when exercising. DO NOT wear robes or other clothing that could become caught in the machine. Running or aerobic shoes are also required when using the machine.
- Use the machine only for its intended use as described in this manual. DO NOT use attachments not recommended by the manufacturer.
- Do not place any sharp objects around the machine.
- The disabled person should not use the machine without a qualified person or physician in attendance.
- Never operate the machine if the machine is not functioning properly.
- A spotter is recommended during exercise.
PARTS LIST
| KEY NO. | ITEM NO. | NAME | Qty. | N.W |
| 1 | PR2-1 | Main Base Frame | 1 | 4.948 |
| 2 | PR2-2 | Right Base Frame | 1 | 4.489 |
| 3 | PR2-3 | Left Base Frame | 1 | 4.489 |
| 4 | PR2-4 | Tall Vertical Frame | 2 | 6.611×2 |
| 5 | PR2-5 | Short Vertical Frame | 2 | 2.827×2 |
| 6 | PR2-6 | Lat Support | 1 | 4.033 |
| 7 | PR2-7 | Center Cross Support | 2 | 1.498×2 |
| 8 | PR2-8 | Plate Support | 2 | 0.725×2 |
| 9 | PR2-9 | Dip Frame | 1 | 2.967 |
| 10 | PR2-10 | Strengthen Board | 12 | 0.158×12 |
| 11 | 60 Middle Sheet | 2 | ||
| 12 | 50 End Cap | 4 | ||
| 13 | 32 Handle Cover | 2 | ||
| 14 | Washer Ф10 | 32 | ||
| 15 | M10mm Aircraft Nut | 24 | ||
| 16 | Carriage Bolt M10x70mm | 24 | ||
| 17 | 60×50 Middle Sheet | 2 | ||
| 19 | PR2-11 | Bar Support | 2 | 2.193×2 |
| 20 | PR2-12 | Lat Handle A | 1 | 0.837 |
| 21 | PR2-13 | Lat Handle B | 1 | 0.837 |
| 22 | Allen Bolt M10x20mm | 8 | ||
| 23 | Handle Cover | 2 | ||
| 24 | Plate Rest | 4 | ||
| 25 | Ball Pin | 1 |


ASSEMBLY INSTRUCTIONS

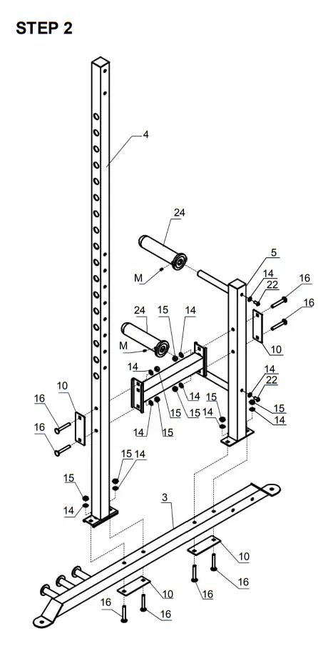
- Attach the Tall Vertical Frame (4#) and Short Vertical Frame (5#) to the Right Base Frame (2#).
Secure it with:
– 2x Strengthen Board (10#)
– 4x Carriage Bolt M10*70mm (16#)
– 4x Washer Ø10 (14#)
– 4x M10mm Aircraft Nut (15#) - Attach the Tall Vertical Frame (4#) and Short Vertical Frame (5#) to the Center Cross Support (7#).
Secure it with:
– 2x Strengthen Board (10#)
– 4x Carriage Bolt M10*70mm (16#)
– 4x WasherØ10 (14#)
– 4x M10mm Aircraft Nut (15#). - Tighten all the bolts and nuts. Put theØ 25 Circular Steel Tube to the Short Vertical Fram(5#).
- Loosen the screw (M) on the Plate Rest (24#) and push them onto theØ 25 Circular Steel Tube of the Short Vertical Frame (5#) then tighten the screw (M).

- Attach the Tall Vertical Frame (4#) and Short Vertical Frame (5#) to the Left Base The frame (3#).
Secure it with:
-2x Strengthen Board (10#)
-4x Carriage Bolt M10*70mm (16#)
-4x Washer 10 (14#)
-4x M10mm Aircraft Nut (15#) - Attach the Tall Vertical Frame (4#) and Short Vertical Frame (5#) to the Center Cross Support (7#).
Secure it with:
-2x Strengthen Board (10#)
-4x Carriage Bolt M10*70mm (16#)
-4x Washer 10 (14#)
-4x M10mm Aircraft Nut (15#) - Tighten all the bolts and nuts.
- Loosen the screw (M) on the Plate Rest (24#) and push them onto the 25 Circular Steel Tube of the Short Vertical Frame (5#) then tighten the screw.

- Attach P and Q to the Main Base Frame (1#).
Secure it with:
– 2x Strengthen Board (10#)
– 4x Carriage Bolt M10*70mm (16#)
– 4x Washer 10 (14#)
– 4x M10mm Aircraft Nut (15#) - Tighten all nuts and bolts.

1. Plug the Dip Frame (9#) into the Tall Vertical Frame (4#). You can choose the left side or right side. Secure with Lock Knob (18#) and Push the Ball Pin (25#) into the holes on Tall Vertical Frame (4#).

- Attach the Lat support (6#) to the left and right Tall Vertical Frame (4#).
Secure it with:
– 2x Strengthen Board (10#)
– 4x Carriage Bolt M10*70mm (16#)
– 4x Washer 10 (14#)
– 4x M10mm Aircraft Nut - Tighten all the bolts and nuts.
- Attach the Lat Handle A, B (20#, 21#) to the Lat Support (6#).
Secure it with:
– 4x Allen Bolt M10*20mm (22#)
– 4x Washer 10(14#)

- Plug the 2x Bar Support (8#) into the Left and Right Tall Vertical Frame (4#).
- Plug the 2x Bar Rest (19#) into the Left and Right Tall Vertical Frame (4#).
WARRANTY
AUSTRALIAN CONSUMER LAW
Many of our products come with a guarantee or warranty from the manufacturer. In addition, they come with guarantees that cannot be excluded under the Australian Consumer Law. You are entitled to a replacement or refund for a major failure and compensation for any other reasonably foreseeable loss or damage.
You are entitled to have the goods repaired or replaced if the goods fail to be of acceptable quality and the failure does not amount to a major failure. Full details of your consumer rights may be found at www.consumerlaw.gov.au
Please visit our website to view our full warranty terms and conditions:
http://www.lifespanfitness.com.au/warranty-repairs
Warranty and Support:
Please email us at [email protected].au for all warranty or support issues.
For all warranty or support-related inquiries, an email must be sent to lodge a support case in our system.
Head Office and Customer Service:
Global Fitness and Leisure Pty Ltd
17 Fordson Rd
Campbellfield
VIC, 3061
Australia
PH: 03 9357 2166














