
108-MI1
INSTALLATION INSTRUCTIONS
Patent Pending

Mini Countryman & Paceman 2011-2016 (without factory NAV)
Visit MetraOnline.com for more detailed information about the product and up-to-date vehicle specific applications
KIT FEATURES
- Designed specifically for the Pioneer 8″ modular radio DMH-C5500NEX. (Refer to the radio manufacturer for current models)
- Blank-out included for factory radio controls removed from upper panel
KIT COMPONENTS

- A) Assembly mount
- B) Radio chassis brackets
- C) Display brackets
- D) Display housing
- E) Display Trim ring
- F) Block out panel
- G) 4mm Allen head Screws (4)
WIRING & ANTENNA CONNECTIONS
(sold separately)
Wiring Harness: LC-BMRC-01
Antenna Adapter: 40-EU10
TOOLS REQUIRED
- 10mm socket set
- Lots of different Torx
- Allen head driver
- Cutting tool
- Panel removal tool
- Phillips screwdriver
Attention! Let the vehicle sit with the key out of the ignition for a few minutes before removing the factory radio. When testing the aftermarket equipment, ensure that all factory equipment is connected before cycling the key to ignition.
DASH DISASSEMBLY
- Unclip and remove the trim panel to the right of the glove box above the kick panel. (Figure A)
- Unclip and remove the passenger side kick panel. (Figure B)
- Remove (2) Torx screws (facing up) from the panel below the glove box then unclip the front edge of the panel and let hang. (Figure C)

- Remove (7) Torx screws (2 on bottom, 3 on top edge with door open, and 2 from right side) securing the glove box then unclip and remove the glove box assembly. (Figures D, E)


- Unclip and remove the panel to the left of the driver’s side knee bolster panel. (Figure F)
- Remove (3) Torx screws securing the knee bolster panel then unclip and remove the panel. (Figure G)


- Pull the rubber cover in the center console back to reveal (1) Torx screw on shifter trim panel. (Figure H)
- Remove (2) Torx screws from inside the cup holders and the (1) Torx screw exposed in step 7 then unclip and slide the shifter trim panel rearward (toward rear of vehicle).


- Remove (1) Torx screw from the trim panel in front of the shifter trim panel then unclip and remove the panel. (Figure J)
- Unclip and remove the side trim panels from the center stack panel. (Figure K)


- Unclip and remove the trim panel surrounding the speedometer and a/c vents. (Figure L)
- Remove (10) Torx screws from the center stack surrounding the a/c controls and window switches then unclip disconnect and remove the center stack.


- Remove (7) Torx screws securing the sub trim panel surrounding the speedometer and a/c vents then unclip and remove the panel. (Figure N)
- Remove (5) Torx screws securing the radio/speedometer assembly then disconnect and remove the entire assembly. (Figure O)


- Push the two clips in on the back of the speedometer and lift up carefully to separate the chassis and speedometer, then unplug the ribbon cable and set speedometer aside for reassembly. (Figures P,Q)


- Remove (4) Torx screws securing the radio controls, then remove the entire assembly from the speedometer. (Figure A)
- Secure the block out panel to the speedometer using (2) of the factory screws. (Figure B)


KIT ASSEMBLY
Note: For steps 2 and 5, reference the installation manual provided with the radio for which hardware to use. The display screen and radio chassis use two different types of screws.
- Secure the display brackets to the assembly mount using (4) Allen head screws provided. (Figure A)
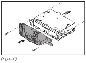
Note: The brackets have a locking pin on them which must face outwards. - Secure the radio brackets to the radio chassis using (4) screws supplied with the radio. (Figure B)
- Slide the radio chassis/bracket assembly into the dash. Secure the assembly mount/display bracket assembly to the radio brackets using the factory screws



- Route the RGB display cable from the radio chassis, through the opening in the assembly mount.
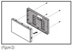
- Secure the radio display to the display housing using (4) screws supplied with the radio. (Figure D)
- Clip the display trim ring onto the assembly. (Figure E)
- Plug the RGB display cable into the display, then slide and lock in place the display housing to the display brackets. Use the (4) lower holes in the display housing (Figure F)
Note: The locking pins can be pulled back to release the display housing.


108-MI1
INSTALLATION INSTRUCTIONS
http://www.metraonline.com
Having difficulties? We’re here to help.
Contact our Tech Support line at:
386-257-1187
Or via email at:
[email protected]
Tech Support Hours (Eastern Standard Time)
Monday – Friday: 9:00 AM – 7:00 PM
Saturday: 10:00 AM – 7:00 PM
Sunday: 10:00 AM – 4:00 PM
® KNOWLEDGE IS POWER
Enhance your installation and fabrication skills by enrolling in the most recognized and respected mobile electronics school in our industry.
Log onto www.installerinstitute.com or
call 800-354-6782 for more information and take steps toward a better tomorrow.
![]()
Metra recommends MECP certified technicians
| Metra. The World’s Best Kits.® | MetraOnline.com | © COPYRIGHT 2020 METRA ELECTRONICS CORPORATION | REV. 12/8/20 INST108-MI1 |







































