Knightsbridge PWRCR 35W Recessed Rectangular Plaster Wall Light
GENERAL INSTRUCTIONS
These instructions should be read carefully and retained after installation by the end user for future reference and maintenance. These instructions should be used to aid the installation of the following product: PWRCR
SAFETY
- This product must be installed in accordance with the latest edition of the IEE Wiring Regulations (BS7671) and current Building Regulations. If in any doubt, consult a qualified electrician
- Please isolate mains prior to installation or maintenance
- Check the total load on the circuit (including when this luminaire is fitted) does not exceed the rating of the circuit cable, fuse, or circuit breaker
- Please note the IP (Ingress Protection) rating of this luminaire when deciding the location for installation
- This product is for indoor use only
- This product is Class II double insulated
- This product is IP20 rated
INSTALLATION
- Provide power to the required point of installation
- Cut a 100 x 350mm hole in the mounting surface ensuring not to infringe with any joists, gas/water pipes or electrical cables
- Unscrew the terminal cover
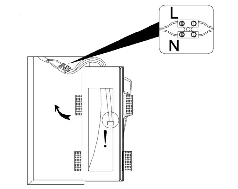
- Connect the luminaire to the mains supply ensuring the correct polarity is observed (see Fig. 1): L – Live (Brown) and N – Neutral (Blue)

- Insert the luminaire into the cut-out and fix to the wall using suitable screws (not provided).

- Cover the bracket screws and the margins of the luminaire with plaster and paint.

- Insert a suitable GU10 lamp and clip the lamp into the luminaire
- Switch on and check for correct operation
GENERAL
- Clean with a soft dry cloth only, do not use aggressive cleaning products or solvents which may damage the product.
- This product is dimmable dependent on lamp type.
- This product should be recycled in the correct manner when it reaches the end of its life.
- Check local authorities for where facilities exist.
WARRANTY
This product has a warranty of 2 years from the date of purchase. Failure to install this product in accordance with the current edition of the IEE Wiring Regulations (BS7671), improper use, or removal of the batch code will invalidate the warranty. If this product should fail within its warranty period, it should be returned to the place of purchase for a free of charge replacement. ML Accessories does not accept responsibility for any installation costs associated with the replacement product. Your statutory rights are not affected. ML Accessories reserve the right to alter product specification without prior notice.
INTERNATIONAL CONTACT DETAILS






















