Knightsbridge PWL3 Curved Up and Down Plaster Wall Light

GENERAL INSTRUCTIONS
These instructions should be read carefully and retained after installation by the end user for future reference and maintenance.
These instructions should be used to aid installation of the following products:
PWL3 / PWL4
SAFETY
- This product must be installed in accordance with the latest edition of the IEE Wiring Regulations (BS7671) and current Building Regulations. If in any doubt, consult a qualified electrician
- Please isolate mains prior to installation or maintenance
- Check the total load on the circuit (including when this luminaire is fitted) does not exceed the rating of the circuit cable, fuse, or circuit breaker
- Please note the IP (Ingress Protection) rating of this luminaire when deciding the location for installation
- This product is for indoor use only
- This product is Class I and must be earthed
- This product series is IP20 rated
INSTALLATION
- Provide power to the required point of installation
- Using the mounting plate as a template, mark the location for, and drill the fixing holes ensuring not to infringe with any gas/water pipes or electrical cables
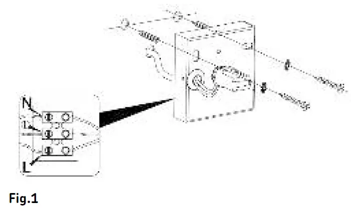
- Connect the luminaire to the mains supply ensuring the correct polarity is observed (see Fig. 1): L – Live (Brown), E – Earth (Green/Yellow), N – Neutral (Blue)

- Fix the mounting plate to the wall using the screws, wall plugs and washers provided (see Fig. 1)
- Insert a suitable G9 lamp and fix the body of the luminaire to the mounting plate (see Fig. 2)

- Switch on and check for correct operation
GENERAL
Clean with a soft dry cloth only, do not use aggressive cleaning products or solvents which may damage the product.
This product is dimmable dependent on lamp type.
This product should be recycled in the correct manner when it reaches the end of its life. Check local authorities for where facilities exist.
WARRANTY
This product has a warranty of 2 years from date of purchase. Failure to install this product in accordance with the current edition of the IEE Wiring Regulations (BS7671), improper use, or removal of the batch code will invalidate the warranty. If this product should fail within its warranty period, it should be returned to the place of purchase for a free-of-charge replacement. ML Accessories does not accept responsibility for any installation costs associated with the replacement product. Your statutory rights are not affected. ML Accessories reserve the right to alter product specification without prior notice.




















