YOSUDA PRO Exercise Cycling Bike

Please read this manual before installing and using. In accordance with the principle of sustainable development, the product may be updated when necessary, and no notice will be given at that time. In case of any discrepancy between the specification and the product, the actual product shall prevail.
Warnings and Safety Information
Keep this instruction booklet for future reference
- Before starting any exercise program, consult your physician to determine if you have any medical or physical condition that could put your health and safety at risk or prevent you from using the equipment properly. Your physician’s advice is essential, especially if you are taking medication that affects your heart rate, blood pressure, or cholesterol levels.
- Make sure that you have carefully read this manual before assembling and using this product. Only with proper assembly and maintenance and the use of these instructions can the safety and efficiency of its use be assured. Make sure that .fill users of this stationary cycle are informed regarding warnings and precautions.
- Pay attention to your own body. Improper or excessive sports activities could adversely affect your health. If you feel pain, cardiac congestion, irregular heartbeat, shortness of breath, faintness, dizziness, or any discomfort, stop exercising immediately and consult your physician before continuing to use this product.
- Keep children and toddlers away from this product. This stationary cycle is not a toy, and its use is intended only for adults.
- Place this product on a hard, horizontal surface with a protective layer or carpet. In order to ensure your safety, keep at least 0.5 meters (1.5 feet) of free space around this product while it is in use.
- Before exercise, check that all screws, nuts, and other hardware have been securely installed.
- Warning: This equipment should only be used with regular inspection to the wear and tear of its parts.
- Warning: Place this product on a sturdy, completely flat surface for assembly. Assemble according to all instructions. While building this product, stop immediately if damaged components are found. Stop using this product if unusual sounds occur. Do not use the equipment until all problems are resolved.
- During use, never wear loose clothing that may be caught in moving parts.
- This product has already passed ASTM inspection, applicable to household appliances. Maximum user weight limit is 350 pounds.
- When lifting or moving this instrument, take precautions to avoid hurting your back. Use correct lifting methods, and if necessary, ask for assistance.
- All movable parts (crank, flywheel, etc.) must be maintained regularly. Check them carefully before use, and if some parts are found loosened or damaged, repair or replace them immediately. This product should never be used until restored to full working condition.
- Pay special attention to all wearable parts.
- This physical training product is equipped with a flywheel inertial system, so foot, ankle, leg, and knee injuries may occur during exercise. If you wish to stop cycling, press the brake knob to immediately stop pedal movement.
- Please make sure that the brake adjustment knob is always capable of locking.
- When not in use, rotate the brake knob clockwise until tight to lock the pedals and flywheel.
Product Overview
Bike Overview
| NO | MAIN ACCESSORIE LIST | ||||||
| NAME | UNIT | QTY | NO | NAME | UNIT | QTY | |
| 1 | Seat | pcs | 1 | 12 | Belt Cover | set | 1 |
| 2 | Seat Slider | set | 1 | 13 | Flywheel | pcs | 1 |
| 3 | Plum Blossom Knob | pcs | 1 | 14 | Flywheel Cover | pcs | 1 |
| 4 | Seat Post | set | 1 | 15 | Main Frame | set | 1 |
| 5 | Adjustment Pull Pin | pcs | 1 | 16 | IPad Holder | pcs | 1 |
| 6 | Left Pedal | pcs | 1 | 17 | Handlebar Post | set | 1 |
| 7 | Left Crank | pcs | 1 | 18 | Inner Bush | pcs | 2 |
| 8 | Rear Stabilizer | set | 1 | 19 | Monitor | pcs | 1 |
| 9 | Right Crank | pcs | 1 | 20 | Handlebar | set | 1 |
| 10 | Right Pedal | pcs | 1 | 21 | Brake Knob | set | 1 |
| 11 | Front Stabilizer | set | 1 | ||||

TOOLS

| NO | NAME | QTY | NO | NAME | QTY |
| 1 | Seat | 1 | 2 | Seat Slider | 1 |
| 3 | Plum Blossom Knob | 1 | 4 | Seat Post | 1 |
| 5 | Adjustment Pull Pin | 2 | 6 | Left Pedal(With Bolts) | 1 |
| 7 | Left Crank | 1 | 8 | Rear Stabilizer | 1 |
| 9 | Right Crank | 1 | 10 | Right Pedal(With Bolts) | 1 |
| 11 | Front Stabilizer | 1 | 12 | Belt Cover | 1 |
| 13 | Flywheel | 1 | 14 | Flywheel Cover | 1 |
| 15 | Main Frame | 1 | 16 | IPAD Holder | 1 |
| 17 | Handlebar Post | 1 | 18 | Inner Bush | 2 |
| 19 | Monitor | 1 | 20 | Handlebar | 1 |
| 21 | Brake Knob | 1 | 22 | Carriage Nut M8x55 | 4 |
| 23 | Plain Washer 8×16 | 4 | 24 | High Cap M8 | 5 |
| 25 | L Shape Knob | 2 | 26 | Spring Pad 8 | 8 |
| 27 | 6#Inner Hexagon Spanner | 1 | 28 | Multi-functional Wrench II S13-15 | 1 |
| 29 | Square Plug | 2 | 30 | Crank Cover | 2 |
| 31 | Flange Nut M10*1.25 | 2 | 32 | Lock Nut M20 | 1 |
| 33 | Hexagon Nut M20 | 1 | 34 | Axis 6004 | 2 |
| 35 | Belt Tray | 1 | 36 | Crank Axis | 1 |
| 37 | Half Round Head Inner Hexagon Screws M8*16 | 4 | 38 | Lock Nut M8 | 8 |
| 39 | Belt 500 | 1 | 40 | Foot Cap | 4 |
| 41 | Lock Nut M14 | 2 | 42 | Head Inner Hexagon M8*55 | 2 |
| 43 | Flywheel Axle Sleeve | 1 | 44 | Umbrella Cross Nut4*14 | 5 |
| 45 | Round Tray | 2 | 46 | Bearing 6300 | 2 |
| 47 | Core Shaft of Flywheel | 1 | 48 | Half Round Head Inner Hexagon Screws M8*35 | 2 |
| 49 | Wheel | 2 | 50 | Brake Cover | 1 |
| 51 | Square Brake Block | 2 | 52 | Square Nut | 1 |
| 53 | Compression Spring | 1 | 54 | Buckle | 1 |
| 55 | Umbrella Cross Nut 4.2×16 | 8 | 56 | Axis of Magnetic Component | 1 |
| 57 | Cross Nut 5*6 | 4 | 58 | Cup Holder | 1 |
| 59 | 5*6Magnetic Component | 1 | 60 | Tension Spring | 1 |
| 61 | Umbrella Cross Nut 4*16 | 1 | 62 | Belt Sheet | 1 |
| 63 | Distance Sleeve of Bearing | 1 | 64 | Distance Sleeve of Axis | 1 |
| 65 | Multi-functional Wrench I S13-15-17-19 | 1 | 66 | Head Inner Hexagon M6*35 | 1 |
| 67 | Circlip | 2 | 68 | Head Inner Hexagon M6*16 | 2 |
| 69 | Plain Washer 6*13 | 2 | 70 | 5# Inner Hexagon Spanner | 1 |
| 71 | Plain Washer 10*30 | 1 |

Assembly Instructions
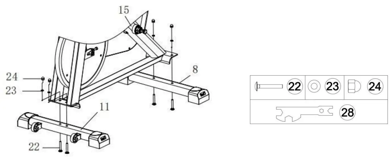
STEP 1. Install the Front and Rear Stabilizer
#8-Rear Stabilizer #11-Front Stabilizer #23-Plain Washer (8×16, 4pcs)
#22-Carriage Bolt (M8x5, 4pcs) #24-High Cap (M8, 4pcs)
#28-Multi-functional Wrench II
- Attach the #8-Rear Stabilizer and #11-Front Stabilizer to the #15-Main Frame.
- Insert the #22-Carriage Bolts to the holes from bottom, and then install the #23-Plain Washer and #24-High Cap, tighten and secure the #24-High Cap with #28-Multifunctional Wrench II.

STEP 2. Install the Left and Right Pedal
Required parts:
#6-Left Pedal #10-Right Pedal
#28-Multi-functional Wrench II
#65-Multi-functional Wrench I


Turn the Brake Knob CLOCKWISE as tightly as you can with your hand.
- Install the Left Pedal:
Unscrew the #6-2 nut from the #6-1 Left Pedal.
Align the #6-1 Left Pedal with the #7-Left Crank at 90°, note to align the threads of the
#6-1 Left Pedal bolt to the threads of the #7-Left Crank. Turn the #6-1 Left Pedal bolt
COUNTER-CLOCKWISE (follow the arrow direction on the #7-Left Crank) as tightly as you can, then use #28 and #65 Multifunctional Wrench to tighten and secure the pedal. Later, install the #6-2 nut to the #6-1 Left Pedal axle, turn the #6-2 nut CLOCKWISE as tightly as possible with the #28 and #65 Multifunctional Wrench. - Install the Right Pedal:
Unscrew the #10-2 nut from the #10-1 Right Pedal. Align the #10-1 Right Pedal with the #9-Right Crank at 90° , note to align the threads of the #10-1 Right Pedal bolt to the threads of the #9-Right Crank. Align the #10-1 Right Pedal with the #9-Right Crank at 90° , note to align the threads of the #10-1 Right Pedal bolt to the threads of the #9-Right Crank. Turn the #10-1 Right Pedal bolt CLOCKWISE (follow the arrow direction on the #9-Right Crank) as tightly as you can, then use #28 and #65 Multifunctional Wrench. Later, install the nut to the #9-Right Pedal axle, turn the nut.
NOTE:
*The Pedals are marked “L” and “R” for Left and Right. Be sure to attach Pedals on the
proper side of the Bike. Orientation is based from a seated position on the bike.
*The threads for pedals and cranks will be damaged if the install directions are not following above instructions.
STEP3. Install the Adjustable Seat Post
Required parts:
#4-Seat Post
#5-Adjustment Pull Pin
#15-Main Frame

- The #5-Adjustment Pull Pin holds the seat at the correct height. The pull pin aligns the height with a hole in the #4-Seat Post.
- Unscrew #5-Adjustment Pull Pin counter-clockwise until you can pull on it and the seat tube is clear to insert #4-Seat Post.
- Insert #4-Seat Post into the seat tube of #15-Main Frame while pulling the #5- Adjustment Pull Pin to allow it in.
- Adjust the seat height to a suitable location and release the pin into the closest notch hole and screw down clockwise to tighten.
STEP 4. Install the Seat
Required parts:
#1-Seat
#2-Seat Slider
#28-Multi-functional Wrench II
#3-Plum Blossom Knob
- Unscrew the #3-Plum Blossom Knob on the #2-Seat Slider, put #2-Seat Slider on the #4-Seat Post.
- Adjust the #2-Seat Slider to a proper position, re-insert and tighten #3-Plum Blossom Knob to secure the slider in place.
- Place the #1-Seat on the #2-Seat Slider. Use #28-Multi-functional Wrench II in clockwise to tighten the nuts on both sides of the #1-Seat.

Note: Before you fully tighten the seat, you can adjust the front of the seat higher or lower to meet your needs.
STEP 5. Install the Handlebar Post
Required parts:
#17-Handlebar Post
1. Unscrew #25-L Knob counter-clockwise, and insert the
#17-Handlebar Post to the handlebar tube.
2. Adjust the #17-Handlebar Post height to a suitable location and screw down clockwise the #25-L Knob.

Step 6. Install Handlebar & iPad Holder
Required parts:
#20-Handlebar
#16-iPad Holder
#25-L Shape Knob
#68-lnner Hexagon Screws
#69-Plain Washer
#70-lnner Hexagon Spanner
#71-Plain Washer

- Secure #20-Handlebar to the #17-Handlebar Post with #71-Plain Washer and #25-L Shape Knob.
- Attach #16-iPad Holder on the #20-Handlebar by using #68-lnner Hexagon Screws and #69-Plain Washer, tighten and secure with #70-lnner Hexagon Spanner.
STEP 7. Install the Monitor
Required parts:
#19-Monitor
Take out the #19-Monitor and put battery on, insert the #19-Monitor in the handlebar according to the direction shown on the picture, adjust the #19-Monitor view angle well, put the spring wire remaining part into the speed hole of the #19-Monitor.

Note: There are two ends of the sensing cable, one is on the monitor and the other one is near the left crank. Make sure all the steps are finished, and tighten all bolts for safety.
Care & Maintenance
Care
- WARM-UP
A successful exercise program consists of three parts: warm-up, aerobic exercise, and cool-down. Warm-up is a very important part of your exercise routine and should be done before each exercise session. Warm-up exercises relax your body and stretch muscles so your body is ready for more strenuous work.
Cool-down exercises after a workout can help relax your muscles and reduce soreness.
We recommend the following warm-up/ cool-down exercises before and after every session. Follow the illustrations below.
- HEAD ROTATION
Slowly bend your head towards your right shoulder. Circle clockwise. Next, bend your head towards your left shoulder. Circle counterclockwise.
- SHOULDER LIFT
Bring your left shoulder up towards your ear. Circle forward five times, then circle back five times. Repeat the same movement with your right shoulder.
- STRETCHING
Lift both arms straight up over your head. With your left hand, take your right wrist and extend upwards for five seconds. Repeat this with your right hand gently stretching your left wrist upward for five seconds.
- QUADRICEPS STRETCH
With your right hand on a wall for balance, use your left hand to hold your left foot and bend it as close as you can to your buttocks. Hold for 15 seconds. Release, then repeat with the left hand on the wall, and the right hand stretching the right quadriceps towards the buttocks. Hold for 15 seconds.
- INNER THIGH STRETCH
Sit on the floor with the bottoms of your feet touching. Holding your feet, pull gently towards your body. Hold for 15 seconds. - FOOT AND CALF STRETCH
Extend your right leg out, tucking your left leg at and angle beneath your right thigh. Reach forward and pull gently back on your right foot. Hold for 15 seconds. Repeat with left leg extended and right leg tucked.
- CALF STRETCH
Leaning against a wall, with legs about two feet from the wall base, make up and down walking motions to loosen calf muscles.
Maintenance
This general information for daily, weekly, and monthly maintenance to be performed on your bike.
Daily Maintenance
After each exercise session, wipe down all the equipment: seat, frame, and handlebars. Pay special attention to the seat post, handlebar post, and belt guard. Sweat is very corrosive and may cause problems that require parts replacement later.
- Get on the bike and engage the drive train.
- Pay attention to any vibrations felt through the pedals. If you feel any vibrations, you may need to tighten the pedals, bottom bracket, or adjust the drive belt tension.
- Use a wrench to tighten the pedals until they are secure.
Weekly Maintenance - Inspect moving parts and tighten the hardware.
- Inspect pull pin frame fittings to make sure the fittings are secure. Loose frame fittings may strip out threads over time and cause extensive damage.
- Clean and lubricate pop pin assemblies. Pull on the pin and spray a small amount of lubricant onto the shaft.
- Tighten the seat hardware to make sure the seat is level and centered.
- Brush and treat the brake pads. Remove any foreign material that may have collected on the pads. Spray the pads with a few drops of water. This helps to reduce noise from friction between the pads and the flywheel.
- Visually inspect the bottom bracket, toe clips and toe straps. If any of them are loose or disconnected, attach and tighten.
Monthly Maintenance - Check if all hardware is secure, such as: water bottle holder, flywheel nuts, belt guard bolts, brake caliper lock nuts, and brake caliper tension rod nuts.
- Inspect the brake tension rod for signs of wear such as missing threads. Clean and lubricate the brake tension rod.
- Clean and lubricate the seat post, handlebar post and seat slider. Remove any built up of foreign material.
Customer Service
If you have any questions or concerns, please feel free to contact us.
- Email address: [email protected]
- You can also search “YOSUDA exercise bike” on YouTube to get an assembly video.
www.yosudabikes.com
Contact Us | Assembly Guide |
![]() | ![]() |
























