Mobile, Wood
Roll File
with 51 Compartments
Mobile Blueprint Roll File Holder

ADI626
USER GUIDE
Thank you for your purchase.
AdirOffice has a commitment to deliver quality and stylish office furniture and equipment.
We understand starting and maintaining a business is expensive enough.
We can help you make it cost effective and beautiful. Plus, our expert team makes sure everything you need works as efficiently as possible.
Parts and Hardware
Parts:

Hardware:

Tools Required (But Not Included)
- Screwdriver
Assembly Instructions
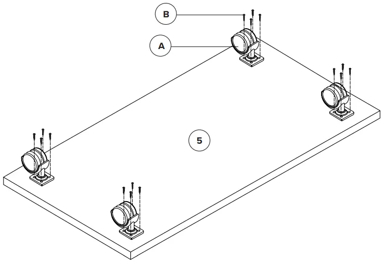
STEP 1
A. Lay the Bottom Panel (5) on a flat, clean surface with the 16 pre-drilled holes facing up.
B. Take the 4 Caster Wheels (A) over the pre-drilled holes, insert the 16 M3.5 x 10 mm Screws (B) and tighten them using a screwdriver.

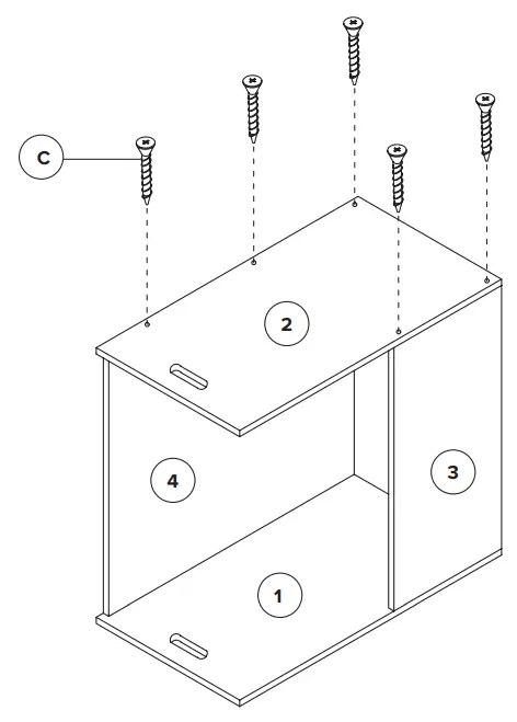
STEP 2
A. Line up the Left-Side Panel (1), the Front Panel (3), and the Back Panel (4), as pictured.
B. Insert 5 M4 x 45 mm Screws (C) into the pre-drilled holes and tighten them with a screwdriver.

STEP 3
A. Slide the Bottom Panel (5) between the Left-Side Panel (1), the Front Panel (3), and the Back Panel (4).

STEP 4
A. Place the Right-Side Panel (2) over the assembled structure, as pictured.
B. Insert 5, M4 x 45 mm Screws (c) into the pre-drilled holes and tighten with a screwdriver.

STEP 5
A. Take the 4 Horizontal Panels (6) and have their open slots facing up.
B. Slide all 9 Vertical Panels (7) in the open spaces of the Horizontal Panels (6).

STEP 6
A. Take the 2 Handles (D) and push them into the pre-cut holes on the sides of the Left-Side Panel (1) and the Right-Side Panel (2) by applying light pressure.

STEP 7
A. Place the Screw Hole Cover’s (E) into all of the screw holes and apply light pressure.

STEP 8
A. Take all 4 Horizontal Edge Channel’s (F), lay them on a flat, clean surface.
B. Place all 9 Vertical Edge Channel’s (G) on top and lightly push them into place, as pictured.
C. Once assembled, place the whole structure in-between the Left-Side Panel (1) and the Right-Side Panel (2).

STEP 9
A. Place the assembled edge channel’s on top of the built structure of the Horizontal Panels (F) and the Vertical Panels (G).

Limited Warranty
- AdirCorp (the company) warrants to the purchaser that the product will be free from defects in workmanship and materials for a period of three (3) year from the date of purchase.
- These warranties are not assignable or transferable to any other person.
- Any damage to the product as a result of misuse, tampering, abuse, neglect, accident, improper installation, modification, unauthorized service, destruction, or the alteration of the serial number or use violates the instructions furnished by the Company will void this warranty.
- The sole responsibility of the Company shall be limited to the repair or replacement (in its sole discretion) of any component of the product which fails to conform to this warranty at no cost to the purchaser for the period of the warranty.
- Contact the Company directly to obtain service under this warranty. If it becomes applicable to send a defective product to the Company, a Return Authorization Number must first be obtained from the company. To obtain service under this warranty, purchaser must provide the Company with the following items (a) proof of purchase, (b) police or fire department report, (c) photographs of damaged sad, and (d) written testimonial.
- Products shipped without prior Return Authorization and Return Authorization Number may not be accepted, and the Company will not be responsible for their disposition and/or cost of return to the owner.
- The Company will not assume any responsibility for any loss or damage incurred in shipping. All return authorized products should include a copy of the original invoice in order that this warranty may be Honored.
- This warranty is not an insurance policy. The Company is not responsible for any manner of damage to or theft of the Purchaser’s product or its contents.
- We recommend that the product being returned is accompanied by the sales receipt with all relevant information regarding the purchase of the item and is returned to the Company within ten (10) days of the claim date of purchase to validate this warranty.
- Any implied warranties that the purchaser may have are limited to the duration of the warranties described above. There are no further warranties that extend or apply beyond the face hereof, and the company expressly disclaims and excludes any and all warranties of merchantability or fitness for a particular purpose. Some states do not allow limitations on how long an implied warranty lasts, so the above limitation may not apply to you.
- Repair or replacement shall be the sole remedy for the purchaser under this warranty. The company shall not be liable for any direct, indirect, incidental or consequential
damages, losses or expense arising from the use or misuse of the product. Some states do not allow the exclusion or limitations of incidental or consequential damages, so the limitation may not apply to you. - This warranty gives you specific legal rights, and you may also have other rights which vary from state to state.
Disclaimer
By purchasing products from AdirCorp, the user agrees as follows:
TO THE MAXIMUM EXTENT PERMITTED BY LAW, THE PRODUCTS AND INFORMATION ON THIS SITE IS PROVIDED “AS IS” AND WITH ALL FAULTS AND ALPINE INDUSTRIES. MAKES NO PROMISES, REPRESENTATIONS, OR WARRANTIES, EITHER EXPRESS, IMPLIED, STATUTORY, OR OTHERWISE, WITH RESPECT TO THE PRODUCTS AND INFORMATION, INCLUDING ITS CONDITION, ITS CONFORMITY TO ANY REPRESENTATION OR DESCRIPTION, OR THE EXISTENCE OF ANY LATENT OR PATENT DEFECTS, AND ALPINE INDUSTRIES. SPECIFICALLY DISCLAIMS ALL IMPLIED (IF ANY) WARRANTIES OF TITLE, MERCHANTABILITY, NON INFRINGEMENT, FITNESS FOR A PARTICULAR PURPOSE, ACCURACY OR COMPLETENESS,QUIET ENJOYMENT, AND QUIET POSSESSION. THE ENTIRE RISK ARISING OUT OF USE OR PERFORMANCE OF THE PRODUCTS AND INFORMATION LIES WITH USER.
TO THE MAXIMUM EXTENT PERMITTED BY LAW, IN NO EVENT SHALL ALPINE INDUSTRIES PRODUCTS OR ITS SUPPLIERS BE LIABLE FOR CONSEQUENTIAL, INCIDENTAL, SPECIAL, INDIRECT, OR EXEMPLARY DAMAGES WHATSOEVER ARISING OUT OF OR IN ANY WAY RELATING TO THIS AGREEMENT OR USER’S USE OF OR INABILITY TO USE THE PRODUCTSAND INFORMATION, OR THE PROVISION OR FAILURE TO PROVIDE SUPPORT SERVICES, INCLUDING, BUT NOT LIMITED TO, LOST PROFITS, LOSS OF CONFIDENTIAL OR OTHER INFORMATION, BUSINESS INTERRUPTION, PERSONAL INJURY, LOSS OF PRIVACY, FAILURE TO MEET ANY DUTY (INCLUDING OF GOOD FAITH OR REASONABLE CARE), NEGLIGENCE, COSTS OF PROCUREMENT OF SUBSTITUTE GOODS OR SERVICES, OR ANY OTHER CLAIM FOR PECUNIARY OR OTHER LOSS WHATSOEVER, OR FOR ANY CLAIM OR DEMAND AGAINST USER BY ANY OTHER PARTY, EVEN IF ALPINE INDUSTRIES HAS BEEN ADVISED OF THE POSSIBILITY OF SUCH DAMAGES. THESE LIMITATIONS SHALL APPLY NOTWITHSTANDING ANY FAILURE OF ESSENTIAL PURPOSE OF ANY LIMITED REMEDY.
NOTWITHSTANDING ANY DAMAGES USER MAY INCUR FOR ANY REASON WHATSOEVER (INCLUDING, WITHOUT LIMITATION, ALL DAMAGES REFERENCED ABOVE AND ALL DIRECT OR GENERAL DAMAGES), THE ENTIRE LIABILITY OF ALPINE INDUSTRIES AND ANY OF ITS SUPPLIERS UNDER ANY PROVISION OF THIS AGREEMENT AND YOUR EXCLUSIVE REMEDY FOR ALL OF THE FOREGOING SHALL BE LIMITED TO THE GREATER OF THE AMOUNT ACTUALLY PAID FOR THE PRODUCTS AND INFORMATION OR U.S. $1. THE FOREGOING LIMITATIONS, EXCLUSIONS, AND DISCLAIMERS SHALL APPLY TO THE MAXIMUM EXTENT PERMITTED BY APPLICABLE LAW, EVEN IF ANY REMEDY FAILS ITS ESSENTIAL PURPOSE. If any provision of this Agreement is declared invalid or unenforceable, the remaining provisions of this Agreement will remain in effect. AdirCorp has the right to modify these terms and conditions at any time.
ADI626
27 Selvage Street • Irvington, NJ • 07111 • © 2021 AdirCorp
adircorp.com


















