

VAP 5-20 Wood Pellet Boiler
| WARNINGS | ||
| GENERAL DANGER | ||
| ELECTRICAL HAZARD | ||
| FLAMMABLE MATERIAL | ||
| HOT SURFACES | ||
| OBLIGATIONS | ||
| READ THE INSTRUCTION MANUAL | ||
| ELECTRICAL DISCONNECTION | ||
| USE OF GLOVES | ||
| RISK PREVENTION WHILE HANDLING CARGO | ||
| PERSON IN CHARGE AND FREQUENCY | ||
| USER | ||
| TECHNICIAN | ||
| DAILY | ||
| WEEKLY | ||
| ANNUAL OR EVERY 1200 KG OF FUEL | ||
Notes………………
Read carefully this manual before using the appliance. Only that way, the best performance and maximum safety will be got during its use.
This appliance can be used by children aged from 8 years and above and people with reduced physical, sensory or mental capabilities or lack of experience and knowledge if they have been given supervision or instruction concerning the use of the appliance in a safe way and if they understand the hazards involved. Children shall not play with the appliance. Cleaning and user maintenance shall not be made by children without any supervision.
Some other surface areas of the appliance may reach high temperatures.
WARNING: Do not open the covers while the appliance is operating.
Pay special attention to dimensions and sections 3, 4, 5 and 6.
PLEASE BEWARE THAT…
![]()
In order to prevent the risk of accident, a correct installation must be done following the instructions of this manual. Your ECOFOREST distributor will be available to help you and provide you information related to codes, assembly and installation norms in your area.
The pneumatic aspirator CANNOT work with airtight stoves or boilers and it must be ensured that the aspirator DOESN’T work when the boiler is running (with fire).
As ECOFOREST do not have direct control on the installation of your stove, ecoforest do not guarantee it and do not bear the responsibility of any damage that could result from a bad use or a bad installation. Maintenance work to be carried out at the end of the season or after two fuel loads have been consumed . That is, 1200 kg for the 600kg silo , or 1800 kg for the 900kg one. Repairs or equipment modifications, must be performed by authorized personnel.
ADVICE AND RECOMMENDATIONS.
![]()
2.1 The installation of this equipment must be carried out by qualified personnel, with full knowledge of the risks inherent in the installation, all local regulations, including those that refer to national and European standards, must be complied with when the vacuum cleaner is installed.
2.2. Do not use this item for applications other than those specified by the manufacturer.
2.3. Keep away from water and fire.
2.4. The device must work at temperatures between 0 and 45 °C.
2.5. The system must be installed in areas with less than 60% relative humidity.
2.6. Unauthorized modifications are forbidden. Use only spare parts provided by ECOFOREST.
2.7. To prevent possible electrical shocks, only trained personnel should have access to the sides and the back of the boiler as well as to the electrical connections of the vacuum system.
2.8. It is essential to use an antistatic pipe and connect it to the ground connection of the house
2.9. At start-up, a manual filling of the machine hopper to 90% must be carried out.
FUEL QUALITY.
Your suction system is designed to operate with wood pellets A1. ECOFOREST do not have any control on the quality of the pellets you use. For this reason, ECOFOREST cannot guarantee the full output of your suction system nor the eventual premature aging or eventual damage premature aging or damage of its parts. The fuel’s minimum
requirements are specified below:
| Pellets | |
| Diameter (mm) | 6 |
| Length (mm) | 5-25 |
| Granulometry (mm) | — — |
| Calorific value (Kcal/kg) | ≥ 4300 |
| Ash (% mass) | < 1,5 |
| Humidity (%mass) | < 12 |
| Oils | — — |
INSTALLATION.
The below security distances and assembly diagrams are given for information only as an adaptation shall be made depending on the norms in force regarding gas security minimum distances specific to geographic areas.
The installation of the suction must be done in the same way, for this reason, only the ECOFOREST VAP 520 model.
ELECTRICAL CONNECTION.
The power socket to which the suction system is plugged in should meet the following requirements:
4.1 Ground connection must comply with the specific applicable regulations.
4.2 Differential switch with the correct amperage. It must comply with the specific applicable regulations (check technical specifications of the suction system).
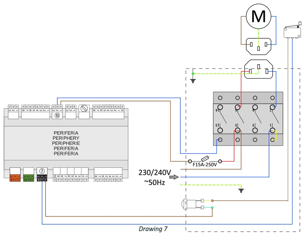
4.3 Single-phase AC of ~230/240V – 50Hz and pure sine wave.
4.4 The plug must only be connected to a socket with the technical characteristics of the plug in question.
4.5 Easily accessible power socket. If the power socket can’t be accessed due to the characteristics of the electrical installation, an all-pole disconnection switch must be installed.
4.6 Make sure the power cable is not placed under the boiler or close to hot or sharp surfaces that could damage it.
UNPACKING THE DEVICE.
4.7. Remove the packaging.
4.8. Separate and identify the pieces.
| 1 | Suction system |
| 2 | Coupling flange to Hopper lid.. |
| 3 | Braces. |
| 4 | Hose 5m / Ø50mm |

INSTALLATION IN BOILER.
4.9 Remove the top of the boiler and the hopper’s safety grid.
4.10 Remove the hopper cover supplement, in case the boiler is already prepared for the suction system. In case the boiler does NOT have the pre-cut, we must request a hopper lid. In any case, the steps are as indicated below:

Before putting the pneumatic vacuum system into operation, we must check the following points to ensure proper operation. Such revision is carried out at the factory but, due to transport, the system may suffer some misalignments. Closing of suction flap.
The limit switch must be activated when the clapper is closed, if not, we will proceed to adjust the cam wheel until it does.
CHARACTERISTICS OF THE PELLET CONVEYOR HOSE.
4.11 The hoses must be antistatic and have an inner diameter of 50 / 51mm.
4.12 They must be secured to the silo funnel with worm clamps, never with duct tape, silicone or similar products, since the hose tends to move when the system is in operation.
4.13 The maximum length of the pellet conveyor hoses should be 5 meters ( each unit).
4.14 At the time of installing the hose, curves should be made as open as possible, with a minimum radius of 0.5 meters. NEVER incorporate elbows nor up and down changes in the installation as we run the risk of hoses getting stuck.
4.15 The maximum transport length is 5 meters for each hose, maximum 3 meters of which, may be uneven(not horizontal) The indicated meters allowed are linear.
MATERIAL REQUIRED FOR INSALLATION.
| MATERIAL | COMPLIANCE | PARTICULARS |
| Antistatic channeling hose. | OBLIGATORY | ALL |
| Electric cable 3×1,5mm2, (the number of meters needed to connect the suction system to the periphery.) | OBLIGATORY | ALL |
| Electrical cable 2x1mm2 to connect the level probe and the start of the electric motor. Max 4m | OBLIGATORY | ALL |
| Clamp union. | OBLIGATORY | Fasten the pneumatic aspirator with the tube and, in turn the tube with the silo, making it impossible for air to enter; disassemble or move the boiler or pipe without tools. |
| Pipe anchors. | OBLIGATORY | Install the pipe, thereby preventing anyone from disassembling or moving the stove or pipe without tools. |
| Hose extensión. | FORBIDDEN | ALL |
LOCATION AND SAFETY DISTANCES.
4.16 Being a system that works by the gravity effect, it must be located on the upper part of the boiler.
4.17 Check the safety distances of the boiler in which it will be installed.
CONNECTION WITH THE SILO SUPPLIED BY ECOFOREST.
| 1 | Suction system. |
| 2 | Silo. |
| 3 | Hose and funnel connection. |
| 4 | Hoses. |
| 5 | Funnel opening (very important). |
| 6 | Fuel inlet (stainless steel) |
| 7 | Air outlet (green) |

ELECTRICAL CONNECTION AND PERYPHERY.
4.18 When making the electrical connection, we must take into account the cable sections (1mm ) to avoid heating of the conductors. The colors proposed in the scheme are suggestions and the rest of the connections in the periphery will be ignored. 
4.19 VERY IMPORTANT! Both the pellet hoses and the entire system must be connected to the ground connection of the house.
OPERATION.
After the installation, both mechanical and electrical, proceed to perform the configuration in the boiler, following these steps.
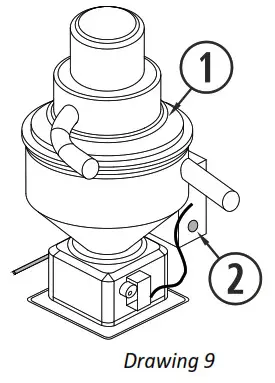
It is recommended that the boiler hopper be filled manually at 90% capacity for the first start to save time and to prevent the suction system from working continually. This will be enough to verify its correct operation. If after 5 filling attempts, the vacuum cleaner does not indicate that it is full, it will stop indicating on the keyboard and / or website an A099 error message (lack of pellet). Before reassembling the system we must check that we have pellet. To reset the vacuum cleaner, simply press the button on the side of the system.
| 1 | Suction system . |
| 2 | Reset button. |

The operation is automatic. At the very moment the boiler is turned on (it leaves state 0) the suction system fills its small tank and, once the weight of the fuel causes the lower cover of the vacuum cleaner to open, the fuel is then discharged from the vacuum cleaner towards the boiler Hopper. Then, the cover will close thanks to the counter weight. If the cover remains open, it means the hopper is full.
CLEANING AND MAINTENANCE.

To ensure the correct operation of your suction system, the following Cleaning and maintenance operations are necessary at the indicated frequency. Always with the system unplagged.
The deterioration the suction system parts by a lack of cleaning involves the loss of the two-year warranty offered by ECOFOREST (see warranty section).
CLEANING.
6.1 Access to cleaning area.
Loosen the safety cover screw and remove the cover as far as possible, since our operation will be limited by the electrical connection cables.
| 1 | Toggle clasps (x4). |
| 2 | Engine power supply. |
| 3 | Vacuum motor. |

Open the 4 lever locks that fix the motor to the suction cup, unplug the motor and lift the cup to access the filter.
| 1 | Toggle clasps (x4) |
| 2 | Engine power supply. |
| 3 | Vacuum motor. |
| 4 | Filter. |
| 5 | Suction cup. |

Clean the filter, suction cup, motor mouth and clapper closure. Reassemble the motor in its position and close with the lever locks. Pay attention to the position of the hoses so that they remain as they originally were.
PROBLEMS AND RECOMMENDATIONS.
The operation of the suction system is really simple, but in case of system failure, please follow the chart belowhere to solve the problem. If, after checking everything indicated the problems persist, contact your distributor.
| Problem | Symptom | Solution |
|
Error A099 in keyboard/ website. | · Lack of pellet · Suction filter dirty · 5 filling attempts have been carried out. · Pellet/air supply hoses clogged. | · Refill silo. · Clean filter following instructions. · Check there are pellets and refill the Hopper manually. · Check for posible hose strangulations and get rid of hose elbows if existing. |
| Continuous system clogging. | · Pellet non compliant with norms. · Very Sharp bends or elbows in the piping /hose. · Dirty suction system filter. · Strangled hose | · Check size and humidity of pellets. · Open the fuel distribution hose’s radius. · Clean filter following instructions. · Thoroughly check the hoses and repair or replace the damaged one(s). |
|
No pellets carried from external silo to boiler’s hopper. |
· One of the hoses is loose. · Strangled or broken hose. · Check the hoses connection order. · Check motor brushes. | · Replace and tighten with a worm clamp. · Thoroughly check the hoses and replace or repair the damaged one(s). · Exchange their position if they are not connected in the order shown on the instructions. · Replace or adjust brushes. |
| The boiler is reset and/or goes off unexpectedly. | · Check ground connections. | · Connect correctly the ground connections, hoses, boiler, silo et.c |
WARRANTY.
Biomasa Ecoforestal de Villacañas (hereinafter ECOFOREST) warranties this product for 3 (three) years from the date of purchase in case of manufacture and materials default.
The responsibility of ECOFOREST is limited to the provision of the stove, which has to be installed properly and in accordance with the instructions provided at the moment the stove was purchased and in accordance with the laws in force.
The installation must be carried out by qualified personnel who will assume the complete responsibility of the final installation and the subsequent correct operation of the stove. ECOFOREST will not be held responsible if these recommendations have not been followed. The installations made in public places are subject to specific areas norms.
It is necessary to check the operation of the product before completing the installation with the brickwork items (e.g. chimney decoration items, cladding, wall paint, etc.).
ECOFOREST does not bear the responsibility of any possible damage and subsequent repair expenses of the below mentioned items, including when damage was caused by the replacement of damaged pieces.
ECOFOREST ensures all its products are made of optimal quality materials and design techniques that ensure the best efficiency.
If during normal use, you notice damaged pieces, the replacement of those pieces will be done, free of charge, by the distributor who finalized your purchase.
For the products sold abroad, this replacement will be carried out free of charge, in the premises of the company unless there are special agreements with distributors of our products abroad.
CONDITIONS OF VALIDITY WARRANTY: For the warranty to be considered as valid, the following conditions must be met:
- Hold a proof of purchase or a purchase note that contains the product’s serial number.
- The assembly and start-up of the machine shall be done by an approved technician who considers the technical characteristics of the installation and connection of the machine; in any case, the installation shall be done according to the instructions given in the instructions manual provided with the machine.
- The stove is used as indicated in the instructions manual provided with the stove.
The warranty does not cover the damages due to:
- Atmospheric, chemical agents and/or unsuitable use of the product, lack of maintenance, unsuitable handling or modifications of the product, inefficiency and/or unsuitability of the smoke outlet tube and/or other causes that do not depend on the product.
- Superheating of the stove due to combustion of unsuitable material that does not correspond to the type of pellets (wooden pellets) indicated on the manual provided with the stove.
- Transport of the product; it is highly recommended to carefully control the product at receipt and advise the vendor immediately in case of any damage, by taking note of the anomalies on the transportation ticket, and making a copy for the transporter. You have 24 hours to bring a written claim to your distributor/transporter.
- Reimbursements will be accepted only if they have been previously accepted in writing by ECOFOREST, if the stove is in perfect condition and given back in its original packaging, with a brief explanation of the problem, copy of the ticket and invoice if you have it, fret paid and a written document stating your acceptance of those conditions.
- ECOFOREST does not grant any compensation for any direct or indirect damages caused by the product or resulting from it.
The following will have a limited guarantee of 6 months or 3,000 ignitions (whichever comes first): - All parts that are subject to wear: the fiber sealing and ceramic glass found at doors, perforated baskets, parts of the furnace (vermiculite, mullite, etc.), the ignition coil and the exhaust fan turbine (helix).
- Any fixed or movable part of the heater with a cosmetic default that does not affect operation.
- Changes in colour, cracks and slight differences in size when it comes to ceramic, wood and/or bamboo parts (if the heater or boiler is equipped with them) cannot be considered a source of complaint, since these are intrinsic qualities of this type of material.
The following situations are not covered by ECOFOREST’s warranty:
- The building and/or plumbing works that you might have carried out for the installation of your stove or boiler.
- For these machines that allow hot water production (thermos/flasks or storage): the pieces related to hot water installation not provided by ECOFOREST. In the same way, the gauges or regulations of the product that have to be done because of the type of fuel or due to the characteristics of the installation, are excluded from the warranty.
- This warranty is valid only for the buyer and cannot be transferred.
- The replacement of pieces does not extend the warranty.
- Compensations will not be granted because of basic inefficiency of the stove or a heating calculation that was not properly carried out for a determined period of time.
- This is the unique valid warranty and no one is authorized to bring any other on the name or on behalf of ECOFOREST INTERVENTION DURING THE WARRANTY PERIOD.
- ECOFOREST does not grant any compensation for any direct or indirect damages caused by the product or resulting from it.
- Modifications to the electrical connections, components or the structure of the stove not authorized by ECOFOREST.
- Malfunctions or problems caused by non-original components or parts that were nor supplied by ECOFOREST or its network of distributors.
The intervention query must be sent to the entity which sold the product.
ECOFOREST reserves the right to include modifications in the manuals, warranties and prices without prior notice.
Any type of suggestion and/or claim must be sent, in writing, to:
ECOFOREST Biomasa Eco Forestal de Villacañas, S.A.U.
Polígono Industrial Porto do Molle – Rúa das Pontes Nº25.
36350 – Nigrán – Spain.
Fax: + 34 986 262 186
Telephone.: + 34 986 262 184 / 34 986 262 185
http://www.ecoforest.es
Information to communicate in your suggestion and/or claim:
Name and address of your provider:
Name, address and telephone number of the entity that made the installation:
Name, address and telephone number of the buyer:
Invoice and/or ticket of purchase:
Date of installation and date of first operation:
Serial number and model of the stove:
Control, revisions and annual maintenance stamped by your distributor:
Make sure you clearly expose the reason of your demand by bringing all the information necessary to avoid misunderstanding of your query.
The interventions made within the warranty period include free repair, as per the laws in force.
JURISDICTION:
Both parties, by passing and accepting the order, are submitted to the judges and courts of Vigo (Spain), expressly excluding any other court, including in case of payment made within another location in Spain or any other country.
TECHNICAL FEATURES

| DIMENSIONES. | ||
| Weight | kg | 15 ±0,5 |
| Weight when full. | kg | 20,7 ±0,5 |
| Height | mm | 500 ±5 |
| Wide | mm | 350 ±5 |
| Depth | mm | 350 ±5 |
| CARACTERÍSTICAS. | ||
| Supply | V | ~ 220/230 |
| Frecuency | Hz | 50Hz |
| Power | W | 1000 |
| Noise | dB | 72 |
| Flow | Kg/h | 35 ±5 |
ESTUFAS Y CALDERAS A PELLETS
BIOMASA ECOFORESTAL DE VILLACAÑAS, S.L.U. C.I.F.: B – 27.825.934
Polígono Industrial Porto do Molle – Rúa das Pontes Nº 25.![]()
36350 – Nigrán – España.
(+ 34) 986 262 184/185
www.ecoforest.es
(+ 34) 986 262 186
[email protected]
42° 8′ 11.711″ N
08° 47′ 6.648″ W
http://www.ecoforest.es![]()
















