Husqvarna 525PT5S Pole Saws Palm Cutters

Introduction
Intended use
The product is used for cutting branches and twigs.
Note: National regulations can set limit to the operation of the product.
Only use the product with accessories that are approved by the manufacturer. Refer to Accessories on
Product overview

- Saw chain
- Guide bar
- Bar nut
- Protective guard for saw chain
- Locking knob
- Chain lubrication adjustment screw
- Chain oil tank
- Chain tensioning screw
- Shaft
- Front handle
- Harness support hook
- Stop switch
- Throttle trigger lockout
- Spark plug cap and spark plug
- Cylinder cover
- Starter handle
- Impact guard
- Fuel tank
- Air filter cover
- Air purge
- Choke control
- Throttle trigger
- Throttle/hand guard
- Operator’s manual
- Harness
- Transport guard, bar
- Combination wrench, chain tensioner
- Combination wrench
- Hex key
Symbols on the product
WARNING! This product is dangerous. Injury or death can occur to the operator or bystanders if the product is not used carefully and correctly. To prevent injury to the operator or bystanders, read and obey all safety instructions in the operator’s manual.
Please read the operator’s manual carefully and make sure that you understand the instructions before use.
Use a protective helmet in locations where objects can fall on you. Use approved hearing protection. Use approved eye protection.
Use approved protective gloves.
Use heavy-duty slip-resistant boots.
Fuel.
Chain oil.
Adjustment of the oil flow.
Direction of rotation, saw chain.
Primer bulb.
Choke
yyyywwxxxx The rating plate or the laser printing shows the serial number. yyyy is the production year and ww is the production week.
This product is not electrically insulated. If the product touches or comes close to high-voltage power lines it could lead to death or serious injury. Electricity can jump from one point to another by arcing. The higher the voltage, the greater the distance electricity can jump. Electricity can also travel through branches and other objects, especially if they are wet. Always keep a distance of at least 10 m between the machine and high-voltage power lines and/or any objects that are touching them. If you have to work within this safe distance you should always contact the relevant power company to make sure the power is switched off before you start work.
The operator of the product must ensure, while working, that no persons or animals come closer than 15 meters.
Note: Other symbols/decals on the product refer to certification requirements for other commercial areas.

The Emissions Compliance Period referred to on the Emission Compliance label indicates the number of operating hours for which the engine has been shown to meet Federal emissions requirement. Maintenance, replacement or repair of the emission control devices and system may be performed by any nonroad engine repair establishment or individual.
| EMISSION CONTROL LABEL ABBREVIATIONS | |||||
| General | |||||
| CAL | California | EVAP | Evaporative | REGS | Regulations |
| DISPL | Displacement | EXH/EVP | Exhaust and Evaporative | SORE | Small off road engines |
| ECS | Emission control system | HRS | Hours | US EPA | United States Environmental Protection Agency |
| Exhaust emission control systems | |||||
| ECM | Engine control module (Autotune) | QC | Oxidizing Catalyst | ||
| EM | Engine modification | TWC | Three way catalyst | ||
| Evaporative emission control systems | |||||
| C | Coextruded (Multilayer) | p | Treated HOPE or PE | ||
| N | Nylon | s | Sealed | ||
California Proposition 65
WARNING!
The engine exhaust from this product contains chemicals known to the State of California to cause cancer, birth defects or other reproductive harm.
Product liability
As referred to in the product liability laws, we are not liable for damages that our product causes if:
- the product is incorrectly repaired.
- the product is repaired with parts that are not from the manufacturer or not approved by the manufacturer.
- the product has an accessory that is not from the manufacturer or not approved by the manufacturer.
- the product is not repaired at an approved service center or by an approved authority.
Safety
Safety definitions
Warnings, cautions and notes are used to point out specially important parts of the manual.
WARNING: Used if there is a risk of injury or death for the operator or bystanders if the instructions in the manual are not obeyed.
CAUTION: Used if there is a risk of damage to the product, other materials or the adjacent area if the instructions in the manual are not obeyed.
Note: Used to give more information that is necessary in a given situation.
General safety instructions
WARNING: Read the warning instructions that follow before you use the product.
- This product produces an electromagnetic field during operation. This field may under some circumstances interfere with active or passive medical implants. To reduce the risk of serious or fatal injury we recommend persons with medical implants to consult their physician and the medical implant manufacturer before operating this product.
- This product is a dangerous tool if you are not
careful or if you use the product incorrectly. This product can cause serious injury or death to the operator or others. - It is very important that you read and understand the contents of this operator’s manual. If you feel uncertainty about a work situation or the operating procedures after you read the operator’s manual, speak to a service agent before you continue.
- Under no circumstances may the design of the product be modified without the permission of the manufacturer. Do not use a product that appears to have been modified by others and only use accessories recommended for this product. Nonauthorized modifications and/or accessories can result in serious personal injury or the death of the operator or others.
- Do a check of the product before use. Refer to Safety devices on the product on page 36 and To check before starting on page 40. Do not use a defective product. Do the safety checks, maintenance and service instructions described in this manual.
- A used muffler/spark arrester and spark arrester mounting face may contain deposits of combustion particles that nay be carcinogenic. Avoid being exposed to these compounds when handling the muffler and /or spark arrester. Prior to any handling of the muffler and/or the spark arrester, refer to To do a check of the muffler on page 37.
Safety instructions for assembly
WARNING: Read, understand and obey these instructions carefully before you use the product.
- The complete clutch cover and shaft must be fitted before the machine is started, otherwise the clutch can come loose and cause personal injury.
- The only accessories you can operate with this product are the cutting attachments we recommend. Refer to Accessories on page 54.
- Use approved protective gloves.
- Make sure that you assemble the protective cover and shaft correctly before you start the engine.
- To operate the product safely and prevent injury to the operator or other persons, the product must always be attached correctly to the harness.
Safety instructions for operation
WARNING: Read the warning instructions that follow before you do maintenance on the product.
- Use personal protective equipment, refer to Personal protective equipment on page 35.
- This product is not electrically insulated. If the product touches or comes close to high-voltage power lines it could lead to death or serious bodily injury. Electricity can jump from one point to another by arcing. The higher the voltage, the greater the distance electricity can jump. Electricity can also travel through branches and other objects, especially if they are wet. Always keep a distance of at least 10 m between the product and high-voltage power lines and/or any objects that are touching them. If have to work within this safe distance you should always contact the relevant power company to make sure the power is switched off before you start work.
- Overexposure to vibration can lead to circulatory damage or nerve damage in persons who have poor circulation. Speak to your physician if you experience symptoms of overexposure to vibration. Such symptoms include numbness, loss of feeling, tingling, pricking, pain, loss of strength, changes in skin colour or condition. These symptoms usually show in the fingers, hands or wrists. The risk increases at low temperatures.
- The inside of the muffler contain chemicals that may be carcinogenic. Avoid contact with these elements in the event of a damaged muffler. Long term inhalation of the engine’s exhaust fumes, chain oil mist and sawdust can represent a health risk
- Never use the machine indoors or in spaces lacking proper ventilation. Exhaust fumes contain carbon monoxide, an odourless, poisonous and highly dangerous gas.
- Do not operate a product without a muffler or with a defective muffler. A defective muffler can increase the noise level and the risk of fire. Keep fire extinguishing tools near. If you must have a spark arrestor mesh in your area, do not use the product without or with a broken spark arrestor mesh.
- If the saw chain does not stop when idling, adjust the idle speed. Refer to To adjust the idle speed on page 45. Do not use the product until it is correctly adjusted or repaired.
- This product has a long reach. Make sure that no people or animals come closer than 15 m when the product is running. Always look behind you before you turn around with the product. Stop the product immediately if a person or animal enters the 15 m safety zone. If more than one operator does work in the same area, keep a safety distance of a minimum of 15 m.
- Observe the applicable safety regulations for work in the vicinity of overhead power lines. Also falling branches can result in short-circuiting.
- Never stand directly underneath a branch that is being cut. This could lead to serious or even fatal personal injury.
- Watch out for stumps of branches that can be thrown out when you cut. Do not cut too close to the ground where stones and other objects can be thrown out.
- Do not operate the product in bad weather, such as dense fog, heavy rain, strong wind and intense cold. To operate in bad weather can make you tired and add risks, such as icy ground and unpredictable felling direction.
- Do not use the product if you are tired, ill, or under the influence of alcohol, drugs or medicine, as this has a negative effect on your vision, alertness, coordination and judgment.
- Make sure that you can move safely and have a safe stance. Examine the area around you for obstacles such as roots, rocks, branch and ditches. Be careful during work on slopes.
- Do not remove the cut material, or let other persons remove cut material, while the engine is on or the cutting equipment rotates, as this can result in serious injury.
- Do not overreach. Keep a stable position of the feet and a good balance at all times.
- Always hold the product with both hands. Hold the product on the right side of your body.

- Keep your hands and feet away from the saw chain until it has stopped completely when the product is deactivated.
- Never work from a ladder, stool or any other raised position that is not fully secured.
- Do not put the product down with the engine on unless you have it in clear view.
- Listen for warning signals and loud voices when you use hearing protection. Always remove your hearing protection when the engine stops.
- Stop the engine before you move to a new work area. Always attach the transport guard before you move the equipment.
- Never allow children to use or be in the vicinity of the product. Remove the spark plug cap when the product is not under close supervision.
Personal protective equipment
WARNING: Read the warning instructions that follow before you use the product.\
- Always use approved personal protective equipment when you use the product. Personal protective equipment cannot fully prevent injury but it decreases the degree of injury if an accident does occur. Let your dealer help you select the right equipment.
- Use a protective helmet where there is a risk of falling objects.
- Use approved hearing protection that provides adequate noise reduction. Long-term exposure to noise can result in permanent hearing impairment.
- Use approved eye protection. If you use a visor, you must also use approved protective goggles. Approved protective goggles must comply with the ANSI Z87.1 standard in the USA or EN 166 in EU countries.
- Use a visor for face protection. A visor is not enough for protection of the eyes.

- Use gloves when necessary, for example when you attach, examine or clean the cutting equipment.
- Use sturdy non-slip boots.
- Use clothing made of a strong fabric. Always use heavy, long pants and long sleeves. Do not use loose clothing that can catch on twigs and branches. Do not wear jewelry, short pants, sandals or go with bare feet. Put your hair up safely above shoulder level.

- Keep first aid equipment close at hand.

Safety devices on the product\
WARNING: Read the warning instructions that follow before you use the product.
- Do not use a product with defective safety devices.
- Do a check of the safety devices regularly. Refer to Safety devices on the product on page 36.
- If the safety devices are defective, speak to your Husqvarna servicing dealer.
To do a check of the throttle trigger lockout
The throttle trigger lockout prevents accidental operation of the throttle control.
- Push the throttle trigger lockout (A) and make sure that the throttle control is released (B). When you release the handle, the throttle control and the throttle trigger lockout move back to their initial positions.

- Release the throttle trigger lockout and make sure that the throttle control is locked at idle speed.

- Push the throttle trigger lockout and make sure that it goes back to its initial position when you release it.

- Make sure that the throttle control and throttle trigger lockout move freely and that the return springs operate correctly.

- Start the product and apply full throttle. Refer to To start the product on page 43.
- Release the throttle control and make sure that the cutting attachment stops. If the cutting attachment rotates with the throttle in the idle position, do a check of the carburetor adjustments. Refer to Maintenance on page 44.

To do a check of the stop switch
- Start the engine.
- Move the stop switch to the stop position and make sure that the engine stops.

To do a check of the vibration damping system
The vibration damping system decreases vibration in the handles to a minimum which makes the operation easier. The vibration damping system of the product decreases the transfer of vibration between the engine unit and the shaft unit of the product.
- Stop the engine.
- Do a visual check for deformation and damage for example, cracks.

- Make sure you attach the elements of the vibration damping system correctly.
To do a check of the muffler
The muffler keeps noise levels to a minimum and directs exhaust fumes away from the operator. In areas with a hot, dry weather there is a high risk of fire. Obey local regulations and maintenance instructions

- Do a visual check for damage and deformation.
- Make sure that the muffler is correctly attached to the product.

- Do a visual check on the spark arrestor mesh
Refer to To do maintenance on the muffler on page 46
Fuel safety
WARNING: Read the warning instructions that follow before you use the product.
- Do not mix the fuel indoor or near a heat source. Do not start the product if there is fuel or engine oil on the product. Remove the unwanted fuel/oil and let the product dry. Remove unwanted fuel from the product.
- If you spill fuel on your clothing, change clothing immediately.
- Do not get fuel on your body, it can cause injury. If you get fuel on your body, use a soap and water to remove the fuel.
- Do not start the engine if you spill oil or fuel on the product or on your body.
- Do not start the product if the engine has a leak. Examine the engine for leaks regularly.
- Be careful with fuel. Fuel is flammable and the fumes are explosive and can cause injuries or death.
- Do not breathe in the fuel fumes, it can cause injury. Make sure that there is sufficient airflow.
- Do not smoke near the fuel or the engine.
- Do not put warm objects near the fuel or the engine.
- Do not add the fuel when the engine is on.
- Make sure that the engine is cool before you refuel.
- Before you refuel, open the fuel tank cap slowly and release the pressure carefully.
- Make sure there are sufficient airflow when refueling and mixing fuel (petrol and two-stroke oil) or draining the fuel tank.
- Fuel and fuel vapor are highly flammable and can cause serious injury when inhaled or allowed to come into contact with the skin. For this reason, observe caution when handling fuel and make sure there is sufficient airflow.
- Tighten the fuel tank cap carefully or a fire can occur.
- Move the product at a minimum of 3 m (10 ft) from the position where you filled the tank before a start.
- Do not put too much fuel in the fuel tank.
- Make sure that a leak cannot occur when you move the product or fuel container.
- Do not put the product or a fuel container where there is an open flame, spark or pilot light. Make sure that the storage area does not contain an open flame.
- Only use approved containers when you move the fuel or put the fuel into storage.
- Empty the fuel tank before long-term storage. Obey the local law on where to dispose fuel.
- Clean the product before long-term storage.
- Remove the spark plug cap before you put the product into storage to make sure that the engine does not start accidentally.
Safety instructions for maintenance
WARNING: Read the warning instructions that follow before you do maintenance on the product.
- Do only the maintenance and servicing given in this operator’s manual. Let professional servicing personnel do all other servicing and repairs.
- Regularly do the safety checks, maintenance and service instructions given in this manual. Regular maintenance increases the life of the product and decreases the risk of accidents. Refer to Maintenance on page 44 for instructions.
- If the safety checks in this operator’s manual is not approved after you do maintenance, speak to your servicing dealer. We guarantee that there are professional repairs and servicing available for your product.
Safety instructions for the cutting equipment
WARNING: Read the warning instructions that follow before you use the product.
- Only use the guide bar/saw chain combinations and filing equipment that we recommend. Refer to Accessories on page 54 for instructions.
- Use protective gloves when you use or do maintenance on the saw chain. A saw chain that does not move can also cause injuries.
- Keep the cutting teeth correctly sharpened. Obey the instructions and use the recommended file gauge. A saw chain that is damaged or incorrectly sharpened increases the risk of accidents.

- Keep the correct depth gauge setting. Obey the instructions and use the recommended depth gauge setting.

- Make sure that the saw chain has the correct tension. If the saw chain is not tight against the guide bar, the saw chain can derail. An incorrect saw chain tension increases wear on the guide bar, saw chain and chain drive sprocket. Refer to To tension the chain on page 51.

- Do maintenance on the cutting equipment regularly and keep it correctly lubricated. If the saw chain is not correctly lubricated, the risk of wear on the guide bar, saw chain and chain drive sprocket increases.

Assembly
To assemble the impact guard
- Assemble the guard with 3 screws.

- Tighten the screws to 30 ft/lbs (4 Nm).
- Tighten the screws again when the product has been in use for about 20 hours.
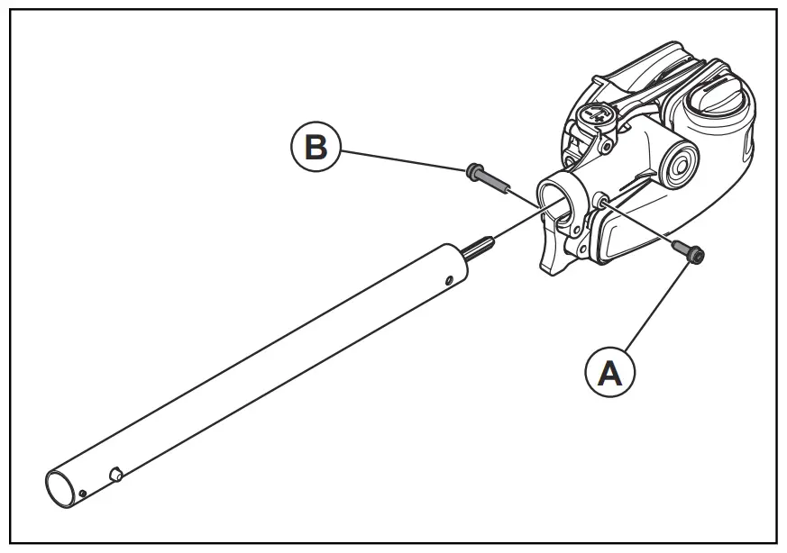
To assemble the cutting head
CAUTION: Make sure that the drive shaft inside the shaft engages with the cutout in the cutting head.

- Loosen the screw on the cutting head. (A)
- Fit the cutting head on the shaft so that the screw (A) is aligned with the hole in the shaft as shown.
- Finger tighten the screw (A). Make sure that screw (A) fits into the hole in the shaft.
- Tighten screw (A).
- Tighten screw (B).
To assemble the bar and chain
- Unscrew the bar nut and remove the protective cover.
- Fit the bar over the bar bolt. Place the bar in its rearmost position. Place the chain over the drive sprocket and in the groove on the bar. Begin on the top side of the bar.
- Make sure that the edges of the cutting links are facing forward on the top edge of the guide bar.

- . Fit the cover and locate the chain adjuster pin (A) in the hole in the bar. Check that the drive links of the chain fit correctly on the drive sprocket (B) and that the chain is in the groove in the bar (C). Tighten the bar nut finger-tight.

- Tension the chain by turning the chain tensioning screw clockwise using the combination spanner. The chain should be tensioned until it does not sag from the underside of the bar.

- The chain is correctly tensioned when it does not sag from the underside of the bar, but can still be turned easily by hand. Hold up the bar tip and tighten the bar nuts with the combination spanner.

- When fitting a new chain, the chain tension has to be checked frequently until the chain is run-in. Check the chain tension regularly. A correctly tensioned chain ensures good cutting performance and long life.
To adjust the length of the shaft
- Undo the knob.

- Pull out the shaft to the desired length.
- Tighten the knob.

To adjust the harness
Always use the harness when you operate the product. The harness gives maximum control during operation of the product. The harness decreases the risk of tiredness in your arms and back.
- Put on the harness.
- Attach the product to the harness support hook.
- Adjust the length of the harness until the support hook is roughly level with your right hip.

Operation
Introduction
WARNING: Before you operate the product, you must read and understand the safety chapter.
To check before starting
- Inspect the working area. Remove any objects that could be thrown out.
- Check the saw chain. Never use blunt, cracked or damaged equipment.
- Check that the product is in perfect working order.
- Check that all nuts and screws are tight.
- Make sure the chain is adequately lubricated, refer to To check the chain lubrication on page 51.
- Check that the saw chain always stops when the engine is idling.
- Only use the product for the purpose it was intended for.
- Make sure the handle and safety features are in order. Never use a machine that has any parts missing or has been modified in relation to the specification.
Fuel
This product has a two-stroke engine.
CAUTION: Incorrect type of fuel can result in engine damage. Use a mixture of gasoline and two-stroke oil.
Premixed fuel
- Use Husqvarna premixed alkylate fuel for best performance and extension of the engine life. This fuel contains less harmful chemicals compared to regular fuel, which decreases harmful exhaust fumes. The quantity of remains after combustion is lower with this fuel, which keeps the components of the engine more clean.
To mix fuel
CAUTION: Do not use gasoline with an octane number less than 90 RON (87 AKI). This can cause damage to the product.
CAUTION: Do not use gasoline with more than 10% ethanol concentration (E10). This can cause damage to the product.
CAUTION: Do not use leaded gasoline. This can cause damage to the product.
- Always use new unleaded gasoline with a minimum octane number of 90 RON (87 AKI) and with less than 10% ethanol concentration (E10).
- Use gasoline with a higher octane number if you frequently use the product at continuously high engine speed.
- Always use a good quality unleaded gasoline/oil mixture.
Two-stroke oil
- For best results and performance use Husqvarna two-stroke oil.
- If Husqvarna two-stroke oil is not available, use a two-stroke oil of good quality for air-cooled engines. Speak to your servicing dealer to select the correct oil.
CAUTION: Do not use two-stroke oil for water-cooled outboard engines, also referred to as outboard oil. Do not use oil for four-stroke engines.
To mix gasoline and two-stroke oil
| Gasoline, liter | Two-stroke oil, liter |
| 2% (50:1) | |
| 5 | 0.10 |
| 10 | 0.20 |
| 15 | 0.30 |
| 20 | 0.40 |
CAUTION: Small errors can influence the ratio of the mixture drastically when you mix small quantities of fuel. Measure the quantity of oil carefully and make sure that you get the correct mixture.

- Fill half the quantity of gasoline in a clean container for fuel.
- Add the full quantity of oil.
- Shake the fuel mixture.
- Add the remaining quantity of gasoline to the container.
- Carefully shake the fuel mixture.
CAUTION: Do not mix fuel for more than 1 month at a time.
To fill the fuel tank
- Clean the area around the fuel tank cap.
- Shake the container and make sure that the fuel is fully mixed. Use a fuel container with an anti-spill valve.
- Fill the fuel tank.
- Tighten the fuel tank cap carefully.
- Move the product 3 m (10 ft) or more away from the refueling area and fuel source before starting.

CAUTION: Contamination in the tanks causes malfunction. Clean the fuel tank and chain oil tank regularly and replace the fuel filter one time a year or more.
To do a run-in
- During the first 10 hours of operation, do not apply full throttle without load for extended periods.
WARNING: Do not use waste oil, which can cause injury to you and the environment. Waste oil also causes damage to the oil pump, the guide bar and the saw chain.
WARNING: The saw chain can break if the lubrication of the cutting equipment is not sufficient. Risk of serious injury or death to the operator.
WARNING: This product has a function that lets the fuel run out before the chain oil. Use the correct chain oil for this safety function to operate correctly. Speak to your servicing dealer when you select your chain oil.
Note: This product has an automatic chain lubrication system. You can also adjust the oil flow. Refer to To adjust chain lubrication on page 52.
- Use Husqvarna chain oil for maximum saw chain life and to minimise environmental damage. If Husqvarna chain oil is not available, we recommend you to use a standard chain oil.
- Use a chain oil with good adherence to the saw chain.
- Use a chain oil with correct viscosity range that agrees with the air temperature.
CAUTION: If the oil is too thin, it runs out before the fuel. In temperatures below 0°C/32°F some chain oils become too thick, which can cause damage to the oil pump components. - Use the recommended cutting equipment. Refer to Accessories on page 54.
To use the product
- Hold the product as close to your body as possible to get the best balance. Use the harness to support the weight of the machine and make it easier to handle.
- Make sure that the tip does not touch the ground.
- Do not rush the work, but work steadily until all the branches have been cut back cleanly.
- Always slow the engine to idle speed after each working operation. Long periods at full throttle without any load on the engine can lead to serious engine damage.
- Always work at full throttle.
- Whenever possible position yourself so that you can make the cut at right angles to the branch.

- Do not work with the shaft held straight out in front of you (like a fishing rod) as this increases the apparent weight of the cutting attachment.

- Cut large branches in sections so that you have better control over where they fall.

- Never cut through the swelling at the root of the branch as this will slow down healing and increase the risk of fungal attack!

- Use the stop at the base of the cutting head to provide support during cutting. This will help prevent the cutting attachment from ”jumping” on the branch.

- Make an initial cut on the underside of the branch before cutting through the branch. This will prevent tearing of the bark, which could lead to slow healing and cause permanent damage to the tree. The cut should not be deeper than 1/3 of the branch thickness to prevent jamming. Keep the chain running while you withdraw the cutting attachment from the branch to prevent it jamming.

- Use the harness to support the weight of the machine and make it easier to handle.
- Make sure you have a firm footing and that you can work without being hampered by branches, stones and trees.
WARNING: Never activate the throttle without having the cutting attachment in full view.
To prepare the product for start
- Push the air purge bulb 10 times.

Note: It is not necessary to fully fill the bulb. - Move the choke control up into choke position.

WARNING: The saw chain will start to rotate immediately when you start the engine with the choke.
To start the product
WARNING: Read the warning instructions in the safety chapter before you start the product (refer to Safety on page 33).
- Use protective gloves.
- Hold the body of the product on the ground with your left hand.
CAUTION: Do not use your feet! - Hold the starter rope handle with your right hand.
- Slowly pull out the starter rope with your right hand until you feel some resistance (the starter pawls grip).
WARNING: Do not twist the starter rope around your hand. - Pull the cord quickly and with power.
CAUTION: Do not pull the starter rope all the way out and do not let go off the starter rope handle when the starter rope is fully extended. This can cause damage to the product. - Pull the starter rope until the engine starts or for a maximum of 5 times.
- Reset the choke when the engine starts or after you pull the starter rope 5 times.
- If it is necessary, pull the starter rope again and again until the engine starts.
- Let the engine run for 10 seconds.
- Operate the throttle gradually.
- Make sure the engine runs smoothly
Note: If the engine stops, do the procedure again.
About the surface
WARNING: Do not put parts of your body in the grey marked area. If you touch the grey marked area it can result in burns to the skin. It can also cause electrical shock if the spark plug cap has been damaged. Do not use a product with a damaged spark plug cap.

To stop the product
- Move the stop switch into the stop position to stop the engine.

CAUTION: The stop switch automatically goes back to its initial position. In order to prevent accidental starting, the spark plug cap must be removed from the spark plug when assembling, checking and/or maintenance is done.
Maintenance
Introduction
Below you will find some general maintenance instructions. If you need further information please contact your service workshop.
Maintenance schedule
The following is a list of the maintenance steps that must be performed on the product. Most of the items are described later in this chapter.
Note: The user must only carry out the maintenance and service work described in this operator’s manual. More extensive work must be carried out by an authorized service workshop.
| Maintenance | Daily | Weekly | Monthly |
| Clean the external surface. | X | ||
| Make sure that the throttle trigger lock and the throttle works correctly. X | X | ||
| Do a check of the stop switch to make sure that it works correctly | X | ||
| Make sure that the saw chain does not rotate at idle speed. | X | ||
| Clean the air filter. Replace if necessary. | X | ||
| Check the saw chain with regard to visible cracks in the rivets and links, whether the saw chain is stiff or whether the rivets and links are abnormally worn. | X | ||
| C’8an the area under the protective cover. | X | ||
| Make sure that the screws and nuts are tight. | X | ||
| Examine the engine. the fuel tank and the fuel lines for teaks. | X | ||
| Clean the cooling system. | X | ||
| Examine the starter and the starter rope for damages. | X | ||
| Examine the vibration damping elements for damages and cracks. X | X | ||
| Clean the outside of the spark plug. Remove it and do a check of the electrode gap. Adjust the gap to the correct distance (refer to Technical data on page 53) or replace the spark plug. Make sure that the spark plug is fitted with a suppressor | X | ||
| Clean the outside of the carburetor and the space around it. | X | ||
| File off any burrs from the edges of the bar. | X | ||
| Clean or replace the spark arrestor screen on the muffler. | X | ||
| Clean the fuel tank. | X | ||
| Do a check of the fuel filter for contamination and the fuel hose for cracks or other defects. Replace if necessary. | X | ||
| Do a check of all cables and connections. | X | ||
| Do a check of the clutch, clutch springs and the clutch drum for wear. Replace if necessary by an authorized service workshop. | X | ||
| Examine the spark plug. Replace the spark plug if it is necessary. | X | ||
| Do an inspection of the dielectric shaft for worn and damaged areas. Do not use the product if the dielectric shaft has worn or damaged areas. Refer to OSHA 1910.269 for more information. | X |
To adjust the idle speed
- Make sure that the air filter is clean and the air filter cover is attached before you adjust the idle speed.
- Start the product. Refer to To start the product on page 43
- Adjust the idle speed with the idle adjustment screw T which is identified with “T” mark. Turn the idle adjustment screw clockwise until the saw chain starts to turn.

- Turn the idle adjustment screw counterclockwise until the saw chain stops.
The idle speed is correct when the engine operates smoothly in all positions. The idle speed must be below the speed when the saw chain starts to turn.
WARNING: If the saw chain does not stop when you adjust the idle speed, turn to your nearest servicing dealer. Do not use the product until it is correctly adjusted o repaired.
Note: Refer to Technical data on page 53 for the recommended idle speed.
To do maintenance on the muffler
The muffler decreases the noise level and directs the exhaust gases away from the operator.
WARNING: Mufflers that have catalytic converters get very hot during operation and will stay hot for some time after you stop the product. This also applies at idle speed. If you touch the product it can result in burns to the skin. Think about of the risk of fire.
- Stop the product and let it cool down.
- Remove the cover to the muffler.

- Remove the screw holding the spark arrestor mesh.

- Clean the spark arrestor mesh if it is blocked or replace it if it is damaged.
CAUTION: The spark arrestor mesh must be replaced if it is damaged. Do not use a product if the spark arrestor mesh on the muffler is missing or defective.
CAUTION: If the spark arrestor mesh is frequently blocked it can be a sign that performance of the catalytic converter is decreased. Turn to your servicing dealer to examine the muffler. A blocked spark arrestor mesh will cause overheating and result in damage to the cylinder and piston.
Cooling system
The product has a cooling system to keep the operation temperature as low as possible.
Clean the components of the cooling system with a brush weekly or more frequently in rougher conditions. A dirty or blocked cooling system makes the product too hot which causes damage to the piston and cylinder.
The cooling system has the following components:
- Air intake on the starter.
- Fins on the flywheel.
- Cooling fins on the cylinder.
- Cylinder cover.
- Muffler cover.
- Muffler plate.

To examine the spark plug
CAUTION: Always use the recommended spark plug type, refer to Technical data on page 53. Incorrect spark plug type can cause damage to the product.
- Examine the spark plug if the engine is low on power, is not easy to start or does not operate correctly at idle speed.
- To decrease the risk of unwanted material on the spark plug electrodes, obey these instructions:
a) Make sure that the idle speed is correctly adjusted.
b) Make sure that the fuel mixture is correct.
c) Make sure that the air filter is clean. - If the spark plug is dirty, clean it and make sure that the electrode gap is correct, refer to Technical data on page 53.

- Replace the spark plug if it is necessary
Air filter
Remove dust and dirt from the air filter to keep it clean and prevent these problems:
- Carburetor malfunctions.
- Problems when you start the product.
- Loss of engine power.
- Increased wear to engine parts.
- Too much fuel consumption.
To clean the air filter
CAUTION: An air filter that is damaged, very dirty, or soaked with fuel must always be replaced.
Clean the air filter from dirt and dust regularly. This prevents carburetor malfunctions, starting problems, loss of engine power, wear to engine parts and more fuel consumption than usual.
If you use an air filter for a long time, it cannot be fully cleaned. Replace the air filter with a new one at regular intervals. Refer to Maintenance schedule on page 44.
- Move the choke lever up to close the choke valve.

- Remove the air filter cover and the air filters.

- Clean the air filters with warm soap water.
- Replace the air filters if they cannot be fully cleaned. Always replace a damaged air filter.
- Clean the inner surface of the air filter cover. Use compressed air or a brush.
- Do a check of the rubber seal on the air filter. Replace the air filter if the rubber seal is damaged.
- Make sure that the air filter is dry before you install it.
To check the chain drive sprocket
- Regularly check the degree of wear on the drive sprocket. Replace if wear is excessive.

To examine the cutting equipment
- Make sure that there are no cracks in rivets and links and that no rivets are loose. Replace if it is necessary.

- Make sure that the saw chain is easy to bend. Replace the saw chain if it is rigid.
- Compare the saw chain with a new saw chain to examine if the rivets and links are worn.
- Replace the saw chain when the longest part of the cutting tooth is less than 4 mm/0.16 in. Also replace the saw chain if there are cracks on the cutters.

To do a check of the guide bar
- Examine if there are burrs on the edges of the guide bar. Remove the burrs using a file.

- Examine if there are burrs on the edges of the guide bar. Remove the burrs using a file.

- Clean the groove in the guide bar.

- Examine the groove in the guide bar for wear. Replace the guide bar if it is necessary.

- Examine if the guide bar tip is rough or very worn.

- Make sure that the bar tip sprocket turns freely and that the lubricating hole in the bar tip sprocket is not blocked. Clean and lubricate if it is necessary.

- Turn the guide bar daily to extend its life cycle.

To sharpen the saw chain Information about the guide bar and saw chain
WARNING: Use protective gloves when you use or do maintenance on the saw chain. A saw chain that does not move can also cause injuries.
Replace a worn or damaged guide bar or saw chain with the guide bar and saw chain combination recommended by Husqvarna. This is necessary to keep the safety functions of the product. Refer to Accessories on page 54, for a list of replacement bar and chain combinations that we recommend.
- Guide bar length, in/cm. Information about the guide bar length can usually be found on the rear end of the guide bar.

- Number of teeth on bar tip sprocket (T).

- Chain pitch, in. The distance between the drive links of the saw chain must align with the distance of the teeth on the bar tip sprocket and drive sprocket.

- Number of drive links. The number of drive links is decided by the type of guide bar.

- Bar groove width, in/mm. The groove width in guide bar must be the same as the chain drive links width.

- Chain oil hole and hole for chain tensioner. The guide bar must align with product.

- Drive link width, mm/in.

General information about how to sharpen the cutters
Do not use a blunt saw chain. If the saw chain is blunt, you must apply more pressure to push the guide bar through the wood. If the saw chain is very blunt, there will be no wood chips but sawdust.
A sharp saw chain eats through the wood and the wood chips becomes long and thick.
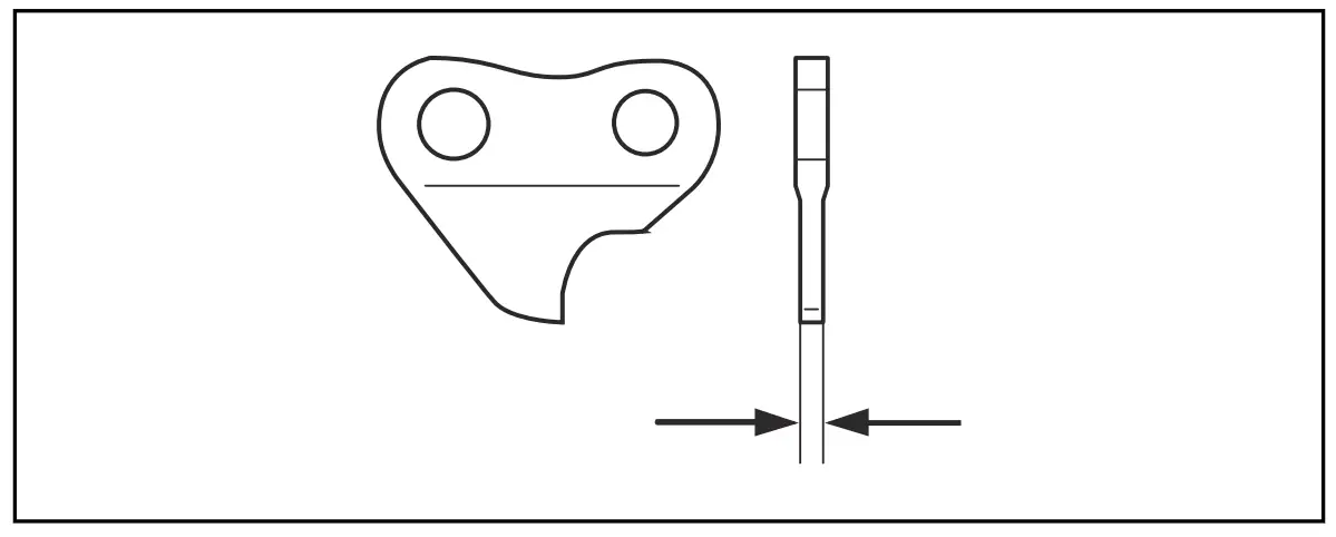
The cutting tooth (A) and the depth gauge (B) together makes the cutting part of the saw chain, the cutter. The difference in height between the two gives the cutting depth (depth gauge setting).

When you sharpen the cutter, think about the following:
- Filing angle.

- Cutting angle.

- File position.

- Round file diameter.

It is not easy to sharpen a saw chain correctly without the correct equipment. Use Husqvarna file gauge. This will help you to keep maximum cutting performance.
Note: Refer to To sharpen the cutters on page 50 for information about sharpening of the saw chain.
To sharpen the cutters
- Use a round file and a file gauge to sharpen the cutting teeth.

Note: Refer to Accessories on page 54 for information about which file and gauge that Husqvarna recommends for your saw chain. - Apply the file gauge correctly on to the cutter. Refer to the instruction supplied with the file gauge.
- Move the file from the inner side of the cutting teeth and out. Decrease the pressure on the pull stroke.

- Remove material from one side of all the cutting teeth.
- Turn the product around and remove material on the other side.
- Make sure that all cutting teeth are the same length.
General information about how to adjust the depth gauge setting
The depth gauge setting (C) decreases when you sharpen the cutting tooth (A). To keep maximum cutting performance you must remove filing material from the depth gauge (B) to receive the recommended depth gauge setting. Refer to Technical data on page 53 for instructions about how to receive the correct depth gauge setting for your saw chain.
To adjust the depth gauge setting
Before you adjust the depth gauge setting or sharpen the cutters, refer to To sharpen the cutters on page 50, for instructions. We recommend you to adjust the depth gauge setting after each third operation that you sharpen the cutting teeth.
We recommend that you use our depth gauge tool to receive the correct depth gauge setting and bevel for the depth gauge.
- Use a flat file and a depth gauge tool to adjust the depth gauge setting. Only use Husqvarna depth gauge tool to get the correct depth gauge setting and bevel for the depth gauge.
- Put the depth gauge tool on the saw chain.
Note: See the package of the depth gauge tool for more information about how to use the tool. - Use the flat file to remove the part of the depth gauge that extends through the depth gauge tool.

To tension the chain
WARNING: A saw chain with an incorrect tension can derail from the guide bar and cause serious injury or death.
A saw chain becomes longer when you use it. Adjust the saw chain regularly.
- Loosen the bar nut that hold the clutch cover/chain brake. Use a wrench.

- Tighten the bar nuts by hand as tightly as you can.
- Lift the front of the guide bar and turn the chain tensioning screw. Use a wrench.

- Tighten the saw chain until it is tight against the guide bar but still can move easily.
- Tighten the bar nuts using the wrench and lift the front of the guide bar at the same time.

- Make sure you can pull the saw chain around freely by hand and that it does not hang from the guide bar.

To fill with chain oil
- Open the oil cap on top of the bar head.

- Fill with Husqvarna saw chain oil.
- Attach the cap again.
To check the chain lubrication
- Check the chain lubrication each time you refuel.
Aim the tip of the bar at a light coloured surface about 20 cm (8 inches) away. After 1 minute running at 75 % throttle you should see a distinct line of oil on the light surface. - If the saw chain lubrication does not operate correctly, do a check of the guide bar. Refer to To do a check of the guide bar on page 48 for instructions. Speak to your servicing dealer if the maintenance steps does not help.
To adjust chain lubrication
WARNING: Stop the engine before you make adjustments to the oil pump.
Turn the adjustment screw for the oil pump. Use a screwdriver or combination wrench.
- Turn the adjuster screw clockwise to increase the oil flow.

- Turn the adjuster screw anticlockwise to decrease the oil flow.
Troubleshooting
The engine does not start
| Check | Possible cause | Procedure |
| Stop switch. | The stop switch is in the stop position. | Let an approved service agent re- place the stop switch. |
| Fuel tank. | Incorrect fuel type. | Drain the fuel tank and fill with correct fuel. |
| Spark plug and cylinder. | The spark plug is dirty or wet. | Make sure that the spark plug is dry and clean. |
| The spark plug electrode gap is in- correct. | Clean the spark plug. Make sure that the electrode gap is correct, refer to Technical data on page 53. Make sure that the spark plug has a suppressor. | |
| The spark plug is loose. | Tighten the spark plug. | |
| Engine is flooded because of repeated starts with full choke after ignition. | Remove and clean the spark plug. Put the product on its side with the spark plug hole away from you. Pull the starter rope handle 6-8 times. Assemble the spark plug and start the product. Refer to To start the product on page 43. |
The engine starts but stops again
| Check | Possible cause | Procedure |
| Fuel tank | Incorrect fuel type. | Empty the fuel tank and fill it with correct fuel. |
| Air filter | The air filter is clogged. | Clean the air filter. |
Transportation, storage and disposal
Transportation and storage
- For storage and transportation of the product and fuel, make sure that there are no leaks or fumes.
Sparks or open flames, for example from electrical devices or boilers, can start a fire. - Always use approved containers for storage and transportation of fuel.
- Empty the fuel and chain oil tanks before transportation or before long-term storage. Discard the fuel and chain oil at an applicable disposal location.
- Use the transportation guard on the product to prevent injuries or damage to the product. A saw chain that does not move can also cause serious injuries.
- Remove the spark plug cap from the spark plug.
- Attach the product safely during transportation.
To prepare your product for long-term storage
- Stop the product and let it become cool before you disassemble it.
- Disassemble and clean the saw chain and the groove in the guide bar.
CAUTION: If the saw chain and guide bar are not cleaned, they can become rigid or blocked. - Attach the transportation guard.
- Clean the product. Refer to Maintenance on page 44 for instructions.
- Do a complete servicing of the product.
Technical data
Technical data
| 525PT5S | |
| Engine | |
| Cylinder displacement, cu.in/cm3 | 1.55/25.4 |
| Cylinder bore, inch/mm | 1.34/34 |
| Stroke, inch/mm | 1.10/28 |
| Recommended max. speed, rpm | 11000-12000 |
| Idle speed, rpm | 2800-3000 |
| Max. engine output, according to ISO 8893, kW/rpm | 1.0/8500 |
| Catalytic converter muffler | Yes |
| Speed-regulated ignition system | Yes |
| Ignition system | |
| Spark plug | NGK BPMR8Y |
| Electrode gap, inch/mm | 0.02/0.5 |
| Fuel and lubrication system | |
| Fuel tank capacity, US Pint/litre | 1.06/0.5 |
| Oil tank capacity, US Pint/cm3 | 0.30/0.14 |
| Weight | |
| Without fuel, cutting attachment and guard, Lbs/kg | 15.4/7 |
Accessories
Guidebar and saw chain combinations
Recommended guide bar and saw chain combination.
Note: This guide bar deviates from the Husqvarna standard and must be of type A318 to fit the product.
| Guide bar | Saw chain | |||
| Length, in | Pitch, in | Gauge, in | Type | Length, drive links, no. |
| 10 | 3/8 | 0.050 | Husqvarna H35 | 40 |
| 12 | 44 | |||
| 10 | Husqvarna S93G | 40 | ||
| 12 | 45 | |||
Filing equipment and filing angles
Using Husqvarna file gauge will give you the correct filing angles. We recommend you to always use a Husqvarna file gauge to restore the sharpness of the saw chain. The part numbers are given in the table below.
If you do not know which saw chain you have on your product, turn to your servicing dealer.
![]() | ![]() | ![]() | ![]() | ![]() | ![]() |
| H35 | 5/32 in / 4.0 mm | 80° | 30° | 0.025 in / 0.65 mm | 505 24 37-01 |
| S93G | 60° | 587 80 90-01 |
Warranty
CALIFORNIA, U.S FEDERAL, AND CANADA EXHAUST AND EVAPORATIVE EMISSIONS CONTROL WARRANTY STATEMENT
YOUR WARRANTY RIGHTS AND OBLIGATIONS
The California Air Resources Board (CARB), U.S. Environmental Protection Agency (EPA), Environment and Climate Change Canada and Husqvarna Professional Products, Inc are pleased to explain the exhaust and evaporative emissions (“emissions”) control system warranty on your 2022-2023* small off-road engine. In California, new equipment that use small offroad engines must be designed, built, and equipped to meet State’s stringent anti-smog standards. Husqvarna Professional Products, Inc must warrant the emissions control system on your small off-road engine for the periods of time listed below provided there has been no abuse, neglect or improper maintenance of your small off-road engine or equipment leading to the failure of the emissions control system. Your emissions control system may include parts such as the carburetor or fuel injection system, the ignition system, catalytic convertor, fuel tanks, fuel lines (for liquid fuel and fuel vapors), fuel caps, valves, canisters, filters, clamps and other associated components. Also included may be hoses, belts, connectors, and other emission-related assemblies. Where a warrantable condition exists, Husqvarna Professional Products, Inc will repair your small off-road engine at no cost to you including diagnosis, parts and labor.
MANUFACTURER′S WARRANTY COVERAGE
The exhaust and evaporative emissions control system on your small off-road engine is warranted for two years.
If any emissions-related part on your small off-road engine is defective, the part will be repaired or replaced by Husqvarna Professional Products, Inc.
OWNER′S WARRANTY RESPONSIBILITIES
- As the small off-road engine owner, you are responsible for performance of the required maintenance listed in your owner’s manual.
Husqvarna Professional Products, Inc recommends that you retain all receipts covering maintenance on your small off-road engine, but Husqvarna Professional Products, Inc cannot deny warranty coverage solely for the lack of receipts or for your failure to ensure the performance of all scheduled maintenance. - As the small off-road engine owner, you should however be aware that Husqvarna Professional Products, Inc may deny you warranty coverage if your small off-road engine or a part has failed due to abuse, neglect, or improper maintenance or unapproved modifications.
- You are responsible for presenting your small offroad engine to a Husqvarna Professional Products, Inc authorized servicing dealer as soon as the problem exists. The warranty repairs shall be completed in a reasonable amount of time, not to exceed 30 days. If you have any questions regarding your warranty rights and responsibilities, you should contact Husqvarna Professional Products, Inc in USA at 1-800-487-5951, in CANADA at 1-800-805-5523 or send e-mail correspondence to [email protected] or [email protected].
WARRANTY COMMENCEMENT DATE
The warranty period begins on the date the engine or equipment is delivered to an ultimate purchaser.
LENGTH OF COVERAGE
Husqvarna Professional Products, Inc warrants to the ultimate purchaser and each subsequent owner that the engine or equipment is designed, built, and equipped so as to conform with all applicable regulations adopted by CARB and EPA, and is free from defects in materials and workmanship that causes the failure of a warranted part for a period of two years.
WHAT IS COVERED
REPAIR OR REPLACEMENT OF PARTS: Repair or replacement of any defective warranted part will be performed at no charge to you at a brand authorized servicing dealer. Except for repairs and replacement under this Emission Control Warranty, you may choose a repair shop or other person to maintain, replace or repair emission control devices and systems. However, Husqvarna Professional Products, Inc recommends that all maintenance, replacement and repairs of emission control devices and systems be performed by a brand authorized servicing dealer.
IMPORTANT: This product is compliant with U.S. EPA Phase 3 regulations for exhaust and evaporative emissions. To ensure EPA Phase 3, California Air Resources Board and Environment and Climate Change Canada regulation, we recommend using only genuine product branded replacement parts. Use of noncompliant replacement parts is a violation of federal and state laws.
WARRANTY PERIOD: Any warranted part which is not scheduled for replacement as required maintenance, or which is scheduled only for regular inspection to the effect of “repair or replace as necessary” is warranted for 2 years (or time defined in the product warranty statement, whichever is longer) from the date of purchase by the initial consumer purchaser. Any warranted part which is scheduled for replacement as required maintenance is warranted for the period of the time up to the first scheduled replacement for that part.
Any part repaired or replaced under the warranty must be warranted for the remaining warranty period.
DIAGNOSIS: You will not be charged for diagnostic labor that leads to the determination that a warranted part is in fact defective, provided that such diagnostic work is performed at a brand authorized servicing dealer.
OTHER DAMAGES: Husqvarna Professional Products, Inc will repair other engine components caused by the failure of a warranted part still under warranty.
EMISSION WARRANTY PARTS LIST
- Carburetor and intake parts or fuel injection system.
- Air filter and fuel filter covered up to maintenance schedule.
- Spark Plug, covered up to maintenance schedule.
- Ignition Module.
- Mufflers with catalyst and exhaust manifolds.
- Fuel tank, fuel lines (for liquid fuel and fuel vapors), fuel cap, carbon canister and tip-over/anti-slosh valves as applicable.**
- Electronic Controls, Vacuum, temperature, and time sensitive valves and switches.
- Hoses, connectors, and assemblies.
- All other components the failure of which would increase the engine’s exhaust and evaporative emissions of any regulated pollutant as set forth at the following:
• For California see California Code of Regulations, 13 CCR §2405(d) and 2760(d).
• For U.S. and Canada see US Federal Code of Regulations, 40 C.F.R 1068 Appendix I (iii).
WHAT IS NOT COVERED
All failures caused by abuse, neglect, unapproved modifications, misuse or improper maintenance are not covered.
ADD -ON OR MODIFIED PARTS: Add-on or modified parts that are not exempted by CARB or EPA may not be used. The use of any non-exempted add-on or modified parts will be grounds for disallowing a warranty claim. Husqvarna Professional Products, Inc will not be liable to warrant failures of warranted parts caused by the use of a non-exempted add-on or modified part.
HOW TO FILE A CLAIM
If you have any questions regarding your warranty rights and responsibilities, you should contact your nearest authorized servicing dealer or call Husqvarna Professional Products, Inc in USA at 1-800-487-5951, in CANADA at 1-800-805-5523 or send e-mail correspondence to [email protected] or [email protected].
WHERE TO GET WARRANTY SERVICE
Warranty services or repairs are provided through all Husqvarna Professional Products, Inc authorized servicing dealers. If the nearest authorized servicing dealer is more than 100 miles from your location, Husqvarna Professional Products, Inc will arrange and pay for the shipping costs to and from a brand authorized servicing dealer or otherwise arrange for warranty service in accordance with applicable regulations.
MAINTENANCE, REPLACEMENT AND REPAIR OF EMISSION-RELATED PARTS
Any replacement part may be used in the performance of any warranty maintenance or repairs and must be provided without charge to the owner. Such use will not reduce the warranty obligations of the manufacturer.
MAINTENANCE STATEMENT
The owner is responsible for the performance of all required maintenance, as defined in the operator’s manual.
* Current and following model year will be updated annually in the warranty statement provided to the consumer. For example, in 2012 model year, 2012-2013 will be specified.
** Evaporative emission parts.













Refer to To do maintenance on the muffler on page 46

















































































