
ELECTRIC CORDED LAWNMOWER HYM3200E
Instruction Manual
Imported/Distributed by Trade Tested Limited
Licensed by Hyundai Corporation Holdings, Korea
Introduction
Thank You For Purchasing Your HYUNDAI Product
We work very hard to give all of our customers the best possible service. If you have any problems, before leaving negative feedback, please contact us to give us a chance to resolve the issue. We would be delighted if you left us positive feedback! Thank you for purchasing this product.
Important!![]()
WARNING : READ THE INSTRUCTION BOOKLET THOROUGHLY BEFORE USING THE MACHINE. Keep for future reference and pass it on if the machine is loaned or sold to another user.
This manual has been produced by Hyundai Power Products and should be kept with the product. Please read and understand these instructions before you use your product. Failure to do this may result in personal injury or damage to the product.
The safety precautions and warnings are to ensure your safety and to protect you from harm or damage to the product.
The information contained in this manual was accurate at the time of production, however HYUNDAI Power Products may make modifications to the product without notification.
Safety Information
Warning
- Like all machinery there is potential danger when operating this machine. Accidents are frequently caused by lack of familiarity or failure to pay attention. Use this machine with respect and caution to lessen the possibility of operator injury. If normal safety precautions are overlooked or ignored, serious personal injury may occur.
- No list of safety guidelines can be complete. Every environment is different. Always consider safety first, as it applies to your individual working conditions. Use this and other machinery with caution and respect. Failure to do so could result in serious injury, damage to equipment, or poor work results.
Safety Warnings
When using the machine, always observe the enclosed safety warnings as well as the additional safety warnings.
The following symbols are used throughout this manual:
Denotes risk of personal injury or damage to the machine.
DANGER! Indicates a hazard, which if not avoided, could result in serious injury or death.
WARNING! Indicates a hazard, which is not avoided, could result in serious injury.
CAUTION! Indicates a hazard, which if not avoided, might result in minor or moderate injury.
NOTE! Indicates a situation that could easily result in equipment damage.
Understand Your Machine
- WARNING! You must read these instructions carefully before operating the machine. Make sure that you are familiar with the controls and properly operate the machine. You must learn how to stop the machine quickly. If you do not follow the warnings and instructions, it may result in fire and/or serious injury. Make sure to save this manual and all future warnings and instructions for reference.
- Read this manual and labels affixed to the machine to understand its limitations and potential hazards.
- Be thoroughly familiar with the controls and their proper operation. Know how to stop the machine and disengage the controls quickly, in particular in an emergency.
- If the unit is to be used by someone other than original purchaser, or is to be loaned, rented, or sold, always provide this manual and any needed safety training before operation. The user can prevent and is responsible for accidents or injuries that may occur to themselves, to third parties, or to property.
- Do not force the machine beyond its limits. Use the correct machine for your application.
- ALL MAINTENANCE other than that listed in this manual, should be carried out by professionally trained and certified personnel.
- The lawnmower temperature and current may increase when cutting thick grass or obstacles it can’t cut down. When the temperature is too high or current is too large, the machine will automatically stop. It has an overload protection device to protect the motor and prolong motor life. You must let go of the power lever and disconnect the power supply. Let the machine cool down before restarting.
Personal Safety
- WARNING! Never allow children or people unfamiliar with these instructions to use the product. Local regulations can restrict the minimum age of the operator.
- Keep children, pets, and other people not using the unit away from the work area. Be alert and shut off the unit if anyone enters the work area. Keep children under the watchful care of a responsible adult.
- Stay alert, watch what you are doing and use common sense when operating the machine. Never operate the machine when unwell or tired, or if you have taken alcohol, medicine, drugs or any substances which may slow your reflexes and compromise judgment. A moment of inattention while operating the machine may result in serious injury.
- Appropriate Personal Protective Equipment (PPE), MUST be worn at all times when operating or repairing the machine. Always wear anti-slip and resistant work footwear and long trousers while using the machine. Do not use the machine when barefoot, wearing sandals or similar lightweight footwear. Do not wear chains, bracelets or clothing that is loose fitting or hanging ties or cords. Tie long hair back. Always wear protective earplugs. Loose clothes, jewellery, or long hair can be caught in moving parts. Protect eyes, face, and head from objects that may be
thrown from the unit. Always wear safety goggles or safety glasses with side shields when operating. - Always keep hands and feet away from all moving parts during operation. Moving parts can cut or crush body parts. Always keep hands and feet away from all pinch points.
- Do not touch parts that might be hot from operation. Allow parts to cool before attempting to maintain, adjust, or service.
- Do not overreach. Keep proper footing and balance at all times. This enables better control of the machine in unexpected situations. Extending your body too far can result in a loss of balance and you may fall which will result in injury.
- Never place any part of your body where it would be in danger if movement should occur during assembly, installation, and operation, maintenance, repairing or moving.
- Start the machine carefully according to instructions and with feet away from the moving parts.
- Do not place your hands or feet near or under rotating parts. Keep away from any discharge openings.
- Keep in mind that the operator or user is responsible for accidents, hazards or unexpected events involving the machine that occur to other people, third parties or their property. It is the responsibility of the user to assess the potential risk of the area where work is being carried out. The operator or user must take all necessary precautions to ensure their own safety and that of others, especially on slopes or rough, slippery and unstable ground.
Inspect Your Machine
- You must check the general condition of the machine before use. Keep guards in place and in working order. Make sure all screws, nuts, bolts, etc., are securely tightened.
- Never operate the machine when it is in need of repair or is in poor mechanical condition. Replace damaged, missing, or failed parts before using it. Check for fuel leaks. Keep the machine in safe working condition.
- Do not use the machine if the switch does not turn off the motor when running. Any machine that can’t be controlled with the switch is dangerous and must be repaired or replaced.
- Regularly check to see that keys and adjusting wrenches are removed from the machine area before starting it. A wrench or a key that is left attached to a rotating part of the machine may result in injury.
- If the machine should start to vibrate abnormally, stop the machine and check immediately for the cause. Vibration is generally a warning sign of trouble.
- Avoid accidental starting. Be sure the switch is off before transporting the machine or performing any maintenance or service on the unit. Transporting or performing maintenance or service on a machine with its switch on invites accidents.
- Do not tamper with or disable safety systems.
- Only use manufacturer-recommended attachments.
- Before using, always visually inspect to see that the tools are not worn out or damaged. Replace worn out or damaged elements and bolts in set to preserve balance.
- Keep the machine in good operating condition. Operating the machine in poor or questionable condition could result in serious injury.
- Be sure all safety devices are in working order and warning labels are in place. These items are installed for your safety.
Work Area
- Make sure you thoroughly inspect the entire work area and remove all objects and anything that could be thrown by the machine or could damage the machine (branches, stones, wire, toys, etc). Attempting to clear the work area whilst using the machine will reduce your concentration and creates a trip hazard. Any liquid spilled on the floor may result in you slipping.
- You must only work in daylight or with good artificial light in good visibility conditions. Keep people, children and animals away from the working area.
- Operate on flat, level ground.
- DO NOT work on wet ground. If there has been heavy rain on the working site, wait until the ground has dried up.
- You must pay special attention when approaching obstacles that could compromise visibility.
- Exercise extreme caution when changing direction on slopes. When changing direction, you need to be careful that the wheels do not hit any obstacles (such as roots, branches, stones, etc) that can cause the machine to slide sideways or make you lose control of it. Avoid driving on
slopes steeper than 15%. Make sure on slopes you have a steady foothold. - Find and locate all fixed objects in the ground, such as sprinkler systems, poles, water valves, bases for washing lines etc. Make sure that you check for hidden electrical cables or similar on the surface of the lawn. ALWAYS run the machine around these objects. NEVER run the machine over foreign objects.
- Never park the machine in a place with unstable ground which could give way.
- You must be careful near ravines, ditches or embankments.
- Exercise extreme caution when operating on or crossing gravel drives, walks, or roads. Stay alert for hidden hazards or traffic.
- Pay the utmost attention when working on frozen ground as the machine may tend to skid.
- Do not work in the rain or when there is a thunderstorm or lightning risk. If there is bad weather conditions, do not use the machine.
- DO NOT operate the cutting means when crossing surfaces other than grass, and when transporting the appliance to and from the working area.
- DO NOT operate power tools in explosive atmospheres, such as in the presence of flammable liquids, gases or dust. Power Tools may create sparks, which may ignite the dust or fumes.
During Use
- Always hold the unit with both hands when operating. Keep a firm grip on the handlebars.
Be aware that the machine may unexpectedly bounce upward or jump forward if the machine should strike buried obstacles such as large rocks or roots. - Do not operate the machine in confined areas where there may be a risk of crushing the operator between the machine and another object.
- Walk, never run with the machine. Be very careful when pulling the machine toward you. You must look behind you to make sure there are no obstacles.
- WARNING! If something breaks or an accident happens whilst working, you must turn off the machine immediately and move the machine away to prevent further damage. If an accident happens with injuries or third parties are injured, carry out the first aid measures most suitable
for the situation immediately and contact the medical authorities for any necessary health care. Carefully remove any debris that might cause damage or harm persons or animals should it not be seen. - Do not carry passengers.
- After striking a foreign object, stop the machine immediately and inspect the machine thoroughly for damage. Repair the damage before continuing.
- Never attempt to make any adjustments while the machine is running.
- Never attempt to move the machine in any way other than intended for normal use while the motor is running.
- Always turn off the motor and ensure that all moving parts have come to a complete stop before making any repairs, adjustments, or inspections.
- Before leaving the machine to clear blockages, check, clean, refuel or after striking foreign object, stop the machine and make sure that the blades have come to a complete stop.
- You must disengage the blade, switch off the machine and unplug from the mains (making sure that all moving parts are stationary):
- Before adjusting the cutting height.
- After striking a foreign object, you must inspect the machine for damage and make repairs before using it again.
- Before checking or working on the machine.
- Before clearing blockages.
- When transporting the machine.
- Whenever you leave the machine unattended.
- Do not tilt the lawnmower when switching on the motor.
Electrical Safety
DANGER!
ELECTRICITY CAN KILL – NEVER WORK ON LIVE/ENERGISED EQUIPMENT.
- Prior to carrying out any maintenance work you MUST identify electrical isolation methods and isolate all electrical supplies.
- Prior to use and with all electrical supplies isolated, you MUST check all electrical cables, plugs and connectors for the following;
- Are intact and have no signs of damage, to include but not limited to bare wires, chaffing, cuts and loose wiring.
- If there are any signs of damage, the damaged item MUST be taken out of service until the damage has been repaired by an electrically competent person.
- All trailing cables should be routed so as not to cause any kind of trip hazard.
- NEVER work on or near electricity with wet hands, wet clothing and wet gloves.
- Power tools plug must match the outlet. Never modify the plug in any way. DO NOT use any adapter plugs with earthed (grounded) power tools. Unmodified plugs and matching outlets will reduce risk of electric shock.
- DO NOT expose this power tool to rain or wet conditions. Water entering a power tool will increase the risk of electric shock. DO NOT abuse the power cord. Never use the cord for carrying, pulling or unplugging the power tool. Keep the cord away from heat, oil and sharp edges or moving parts. Damaged or entangled cords increase the risk of electric shock. When operating a power tool, use an extension cord suitable for outdoor use. Use of a cord suitable for outdoor use reduces the risk of electric shock.
- IMPORTANT: Make sure that the electric circuit is fused, and that the power, voltage and frequency of the motor is supported by your mains supply. Also, make sure that your power supply is earthed. Connect your lawnmower to earth. Never open the ON/OFF switchbox. However, if it should become necessary to do so, contact a qualified electrician. Make sure that you will never touch live contacts, specifically when you plug or unplug your lawnmower. This machine and its power cord must never get into contact with water.
- Never use its power cord to move/shift your lawnmower. Always unplug the power cord before handling your lawnmower. Do not pull the plug out of the wall socket by the cable and protect the latter against heat sources, oil and objects which can damage it.
- Avoid body contact with earthed or grounded surfaces such as pipes, radiators, ranges and refrigerators. There is an increased risk of electric shock if your body is earthed or grounded.
Vibrations (Where Applicable)
- Prolonged use of hand held (operated) machines will cause the user to feel the effects of/from vibrations. These vibrations can lead to white finger (Raynaud’s phenomenon) or carpal tunnel syndrome. This condition reduces the ability of the hand to feel and regulate temperature, causing numbness and heat sensations and may cause nerve damage and circulatory tissue death.
- Not all factors that lead to white finger disease are known, but cold weather, smoking and other diseases that affect blood vessels and blood circulation as well as large and long-lasting impact of shocks are considered factors in the formation of white finger. Note the following to reduce the risk of white finger and carpal tunnel syndrome;
- Wear gloves and keep your hands warm.
- Take regular breaks.
- All of the above precautions may help reduce the risk of white finger disease but not rule out the carpal tunnel syndrome. Long-term and regular users are therefore recommended to observe the condition of your hands and fingers. Seek medical attention immediately if any of the above symptoms should occur.
Noise (Where Applicable)
- The operating noise of the machine can damage your hearing. Wear protection such as earplugs or ear defenders to protect your hearing. Long-term and regular users are advised to have hearing checked regularly. Be especially vigilant and cautious when wearing ear protection
because your ability to hear alarm warnings will be reduced. - Noise emissions for this equipment is unavoidable. Carry out noisy work at approved times and for certain periods. Limit the working time to a minimum. For your personal protection and protection of people working nearby it is also advisable for all to wear hearing protection.
Personal Protective Equipment
Appropriate Personal Protective Equipment (PPE), MUST be worn at all times when operating or repairing the machine. No protective equipment can ensure 100% protection.
When selecting PPE, make sure it’s CE marked and it suits the user in terms of size, fit, etc. If more than one item of PPE is worn at the same time, make sure they can be used together, e.g. wearing safety glasses may disturb the seal of a respirator, causing air leaks.
| HAND PROTECTION MUST BE WORN Protective electrically non-conductive gloves are highly recommended when working. | |
| FOOT PROTECTION MUST BE WORN Non-skid heavy duty footwear are highly recommended when working. | |
| HEARING PROTECTION MUST BE WORN Suitable safety hearing protection is recommended. | |
| EYE PROTECTION MUST BE WORN Always wear safety glasses/goggles and/or face shields. Everyday eyeglasses have only impact resistant lenses; they are not safety glasses/goggles. | |
| PROTECTIVE CLOTHING MUST BE WORN Do not wear loose clothing, gloves, scarfs, neckties or jewellery (rings, wrist watches, etc), which can be caught in moving parts. | |
| HEAD PROTECTION MUST BE WORN Wear a safety helmet with a safety visor. | |
| FACE SHIELD MUST BE WORN Wear a face shield to protect your face. | |
| RESPIRATOR MUST BE WORN Wear a respirator. |
Intended Use
The HYM3200E is an electric lawnmower from Hyundai. The HYM3200E has a cutting width of 320mm and is powered by a 1000W Hyundai motor.
This machine is a garden tool and precisely a pedestrian controlled lawnmower. The operator is able to operate the machine and use the main controls, always staying behind the handle at a safe distance from the rotating blade.
The machine is manufactured according to the latest safety requirements. Every precaution is only effective when it is followed exactly.
Intended Use
This machine was designed and manufactured for cutting (and collecting) grass is gardens and grassy areas, in areas in proportion to its cutting capacity, controlled by a pedestrian operator.
User Types
This machine is intended for use by consumers, i.e. non professional operators. The machine is intended for “DIY” and domestic use only.
Improper Use
Any other usage not in keeping with the above mentioned ones may be hazardous and harm persons and/or damage things. Examples of improper use may include, but are not limited to:
- transporting people, children or animals on the lawnmower
- letting yourself be transported by the lawnmower
- using the machine to tow or push loads
- using the machine for leaf or debris collection
- using the machine to trim hedges, or cutting anything other than grass
- use of the machine by more than one person
- using the blade on surfaces other than grass
Symbols On The Machine
We have provided safety messages in this manual and on the machine. This information alerts you to potential hazards that could hurt you or others. Please read these messages carefully. However, we may not have listed all of the possible hazards, you must also use your own judgment.
| IMPORTANT Please read this instruction manual carefully, especially the safety warnings marked with the symbol. | DANGER! Keep hands and feet away from cutting parts. | ||
| INSTRUCTION MANUAL Read and understand operator’s manual before using the machine. Failure to follow instructions could result in death or serious injury. | UNPLUG FROM MAINS Always switch the machine off and | ||
| SAFETY DISTANCE Do not put hands or feet near or under rotating parts. Keep a 15 metre safety distance. | IMPORTANT Acoustic power level. | ||
| BYSTANDERS Never allow any bystanders in front of the unit. Keep a 15 metre safety distance. | WEEE SYMBOL Waste electrical products should not be disposed of with household waste. Please recycle where facilities exist. Check with your local authority or local store for recycling advice. | ||
| DANGER! Risk of electric shock. | PROTECTION CLASS II Equipped with enhanced or double insulation. | ||
| DANGER! Do not mow over the cable. | CE SYMBOL This product complies with the applicable European directives and an evaluation method of conformity for these directives was done. |
Features
HYM3200E Features

Unboxing
Unboxing Safety
WARNING! Unboxing and assembling the machine should be done on a flat, stable surface with enough room. Disposal of the packaging should be done in accordance with the local regulations in force.
WARNING! Some of the packaging material may be harmful to children. Keep out of reach of children.
Carefully remove the product from the packaging and examine it for any sign of damage caused during shipping. Lay the contents out and check them. If any part is damaged or missing, you must not use the machine. Contact HYUNDAI Power Products immediately. You must keep the packaging material in case the machine needs to be returned or repaired. Ensure that you have all the accessories and tools you need for assembly and operation including the suitable personal protective equipment.
In The Box

| 1. Main Unit 2. User Manual 3. Carry Handle 4. 4 x Wheel Covers 5. 4 x Wheels 6. Grass Collection Box 7. Grass Collection Top | 8. 2 x Metal Handle Bars 9. 2 x Bolts 10. 2 x Cable Clips 11. Cable Relief Hook 12. 4 x Split Pins 13. 8 x Washers (4 x Large Holes and 4 x Small Holes) 14. 4 x Adjustment Knobs |
Assembly
Unboxing & Assembly Video:
Go to youtube.com and type in Hyundai HYM3200E lawnmower unboxing & assembly.
YOU MUST read and understand the instruction manual first.
Step 1 : Assemble Handle Bars
- Put the cable relief hook on the upper handle.

- Connect the lower handles to the mower body by sliding the handles over the fixed bolts. (Use 2 washers with the small holes. The 4 washers with the large holes are for the wheels).

- Connect the upper handles to the lower handles with supplied bolts, washers (small holes) and knobs.

Step 2 : Attach The Wheels
On each axle there are plastic protectors. These are for protection during transport and you do not need these. Make sure you remove them before fitting the wheels.
Attach one wheel at a time. Repeat this process for each wheel.
- Place the wheel over the axle.

- You should only have the 4 washers with the large holes left over. Place one over the axle.

- Place a split pin through the axle hole. You must spread the split pin after inserting it.
This will stop the wheel from falling off.
- Fit a wheel cover onto the wheel and clip into place.

Step 3 : Assemble The Grass Collector
- Clip the handle into the slots.

- There are two parts to the grass collector. These need to be fitted together.

- Firstly, clip the front two clips into place and then work your way around.

- Once the grass collector is complete, you can attach it to the mower. Lift up the flap at the rear of the mower. Slot the grass collector into place and rest the flap on top.

Step 4 : Attach Cable Clips
- Clip the cable clips onto the right-hand handlebar (if you are stood behind the machine) to keep the cables secure and tight to the machine.

Step 5 : Cable Relief Hook
- Attach the cable to the cable relief hook like the image below:

Cutting Height Adjustment
Adjusting The Cutting Height
The HYM3200E has 3 cutting heights (25mm, 45mm and 65mm). Follow the steps below to adjust the cutting height.

- Firstly, disconnect the mower from the power supply and ensure the blade has completely stopped moving.
- Carefully turn the mower upside down. There is a front axle and rear axle to adjust.
- Pull the front wheel axle towards the front of the mower. Place the wheel axle into the desired cutting height position.
NOTE: Make sure the right and left wheels are both located in the same cutting height position.
- To adjust the rear wheel cutting height, turn the mower on its side.
- Pull the rear wheel axle forward. Place the axle shaft into the desired cutting height position.
NOTE: Make sure the right and left wheels are both located in the same cutting height position.
Starting / Stopping
Starting The Mower
WARNING: Before connecting to the mains supply, always check the switch is in the off position. Connect the plug into the RCD protected power supply.
CAUTION: Do not start the mower if it is standing in long grass.
- Press and hold the safety button (A) and then pull the power lever (B) against the handlebar.
Keep the power lever held whilst releasing the safety button.
Stopping The Mower
- Release the power lever and the mower will automatically return to the off position.
Disconnect from the power supply.

Mowing Guide
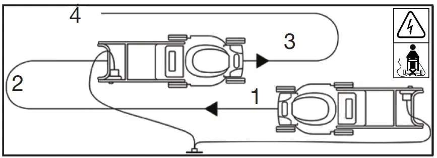
Mowing Direction
We recommend to use your mower as outlined below to achieve optimum results and to reduce the risk of cutting the mains cable.
- WARNING: DO NOT WORK TOWARDS THE CABLE.
- Place the bulk of the mains cable close to the starting point.
- Move from position 1 to position 2.
- Turn right and proceed towards position 3.
- Turn left and move towards position 4.
- Repeat the above steps as required.

Maintenance
General Maintenance
WARNING: Turn OFF the machine, allow all moving parts to come to a complete stop, and disconnect the power cord before maintaining the machine. You need to wear proper clothing and protective gloves whenever your hands are at risk.
- Keep all nuts, bolts and screws tight to be sure the lawn mower is in a safe working condition.
- Check the grass collector frequently for wear or deterioration.
- Replace worn or damaged parts for safety.
- Only use the replacement blade, blade bolt and impeller specified for this product.
- Oil the wheel pins.
Storage
Keep the lawnmower stored in dry, level area way from damp, moisture and rain fall.
Allow the lawnmower to cool before storing.
- For trouble free service, make sure the machine is clean and dry before storing.
- Please ensure the machine is stored away from direct sunlight. Store indoors or in a safe, locked protected area during severe weather and winter months.
- If storing for an extended period, inspect, clean and repair the machine if necessary.
- Store in a clean, dry, dust free area.
- Ensure the machine is stored in a position, where any persons cannot step on to attempt to reach items up high, due to risk of movement.
- DO NOT store the lawnmower near an ignition source, such as a wood stove, gas or electric heater, or an appliance or heater with a pilot light.
- Store the machine in a safe place, out of the reach of children or anyone who is not familiar with operation.
- DO NOT stack other items on top of the machine when in storage.
- Store on a flat and level surface with all wheels on the ground.
Service
- Servicing requires extreme care and knowledge and should be performed only by a qualified service technician.
- For service, we suggest you contact your nearest garden machinery specialist for repair. When servicing, only use identical replacement parts.
- This product may not contain any parts that can be repaired by the consumer.
- Contact an authorised service centre or a similarly qualified person to have it checked and repaired.
Blade Maintenance
WARNING: The cutting blade will continue to rotate after the motor is switched off.
Slicing is possible if care is not taken. Wear appropriate hand coverage.
Remove the electric plug from the mains supply. Clean the underside of the deck with a stiff brush, before any maintenance is undertaken to the blade. Regularly remove grass and dirt from the blade.
At the beginning of the gardening season, carefully examine the condition of the blade.
- If the blade is very blunt, sharpen or replace the blade.
- If the blade is damaged or worn, fit a new blade.
- If the blade is slipping, put a screwdriver into the location hole, tighten the blade by wrench.
WARNING: Observe the following precautions:
- Disconnect the mower from the mains and wait until the blade has stopped rotating before proceeding.
- Be careful not to cut yourself. Use heavy-duty gloves to grip the blade.
- Only use the specified replacement blade.
Replacing The Blade
- Turn the mower onto its side.
- Using a 13mm socket, undo the centre bolt and remove blade.
- Fit new blade onto blade centre boss.
- Tighten centre bolt.

Cleaning
Always remove the electric plug from the mains supply, before any cleaning is undertaken.
- Carefully clean the underside of the deck with a stiff brush after each cut.
- Remove the grass debris and mud accumulated inside the deck to prevent it drying.
- Remove the belt casing by removing the screws and clean around the transmission and drive belts with a brush or compressed air once or twice a year.
- DO NOT: Use water on any part of the main machine. Holes in the grass box can become filled with dirt and dust during use and will become less efficient at grass collection. To prevent this, regularly hose the catcher off with water and let dry before using. Keep the top of the motor housing vents clear and clean of grass clippings and dust. This will assist motor air flow and extend the machine life.
Avoid using solvents when cleaning plastic parts. Most plastics are susceptible to damage from various types of commercial solvents and may be damaged by their use. Use a clean cloth to remove dirt, grease, etc.
Transportation
Whenever the machine is to be handled, lifted, transported or moved, you must:
- Wear sturdy work gloves.
- Hold the machine at the points that offer a safe grip, taking into account the weight and relative distribution of the same.
- Use an appropriate number of people for the weight of the machine and the characteristics of the vehicle or the place where it must be placed or collected.
- You must make sure that machine movements to not cause damage or injuries.
- During transport, make sure to fasten the machine securely with cables or straps.
- The machine must be transported on a flat surface.
Troubleshooting
| Problem | Possible Cause | Possible Solution |
| Lawnmower will not start. | Fuse in mains plug blown / faulty. | Check fuse in mains plug and replace fuse if necessary. |
| Loose connection in switch box. | Check connection within the switch box on the handle bars. | |
| Internal wiring fault. | Contact your service dealer. | |
| Lawnmower functions intermittently. | Internal wiring fault. | Contact your service dealer. |
| Lawnmower does not cut grass cleanly / or motor labours. | Cutting blade is blunt. | Turn lawn mower upside down to check blade edge connection – If blunt, take to a specialist to sharpen or replace blade. |
| Cutting height is incorrect | Adjust cutting height to suit grass length. | |
| Possible clogging underneath. | Turn lawnmower upside down to check for built up grass clippings around the blade and grass discharge chute. | |
| Blade fitted upside down. | Remove and refit blade correctly. | |
| Excessive noise / vibration. | Blade nut / bolt loose. | Turn lawnmower upside down and tighten nut / bolt. |
| Blade damaged / bent. | Check blade condition -Replace if necessary. |
Technical Data
Specification
| Model | HYM3200E |
| Voltage | 230V – 50Hz |
| Motor Power Rating | 1000W |
| No Load Speed | 3450rpm |
| Cutting Width | 320mm |
| Cutting Height | 3 Positions (25/45/65mm) |
| Grass Collector Capacity | 25L |
| Cable Length | 10m |
| Dimensions | 590 x 380 x 290mm |
| Net Weight | 8.8kg |
Spare Parts
Only use original spare parts: The use of non-original and/or incorrectly fitted parts will jeopardise the safety of the machine, may cause accidents or injuries for which the manufacturer is under no circumstance liable or responsible.
| Part | Part Number | Barcode |
| Wheel Cover | 1130003 | 5056275793197 |
| Wheel | 1130004 | 5056275793203 |
| Blade | 1130008 | 5056275793241 |
| Grass Box | 1130021 | 5056275793371 |
| Grass Box Cover | 1130022 | 5056275793388 |
| Grass Box Handle | 1130023 | 5056275793395 |
Recycling And Disposal
Recycling And Disposal
We do not offer a takeback scheme for the recovery of Waste Electrical Electronic Equipment (WEEE) & Batteries. Instead the responsibility to dispose of WEEE and/or Batteries is passed onto you by us.
So when it becomes necessary to dispose of your machine you must take it to your local Civic Amenity Site. For further information please contact your local Authority for disposal advice.
You MUST make sure that all unused oil and fuel is disposed of correctly either beforehand or at your local Civic Amenity Site.
- Under NO circumstances must any fuel or oil be put down any drains.
- Certain products contain WEEE waste which should not be disposed of in your domestic waste.
- You MUST recycle WEEE in accordance with your local authority or recycling centre.
- Certain products contain batteries which should not be disposed of in your domestic waste.
- You MUST recycle batteries in accordance with your local authority or recycling centre.
- Unwanted packaging and materials should be stored and taken to a recycling centre so it can be disposed of in a manner which is compatible with the environment.
We are a Member of the VALPAK National Compliance Scheme and our registration number is RM08660. For further information about disposal please contact your Local Authority.
You can also get more advice and guidance about recycling at the following website http://www.recycle-more.co.uk
Should you pass this product on to another user either sold or loaned, you MUST pass on this user manual. This will make sure that all other users can use and maintain this machine safely.
Environmental Protection
- Environmental protection should be a priority of considerable importance when using the machine, for the benefit of both social coexistence and the environment in which we live. Try not to cause any disturbance to the surrounding area.
- You must comply with local regulations and provisions for the disposal of packaging, oils, petrol, filters, damaged parts or any elements which have a strong impact on the environment. This waste must not be disposed of as normal waste. It needs to be separated and taken to specified waste disposal centres where the material will be recycled.
- You must comply with local regulations for the disposal of waste materials after mowing.
- When disposing, do not pollute the environment with the machine, but hand it over to a disposal centre, in accordance with the local laws in force.

For Inquires, Please Contact:
Trade Tested Limited
0800 800 880
PO Box 9117, Newmarket, Auckland 1149, New Zealand
[email protected]
www.tradetested.co.nz
Imported/Distributed by Trade Tested Limited
Licensed by Hyundai Corporation Holdings, Korea




























