SKIL GM1E0180AA Cordless Lawn Mower

EU Declaration of conformity
We declare under our sole responsibility that the stated products comply with all applicable provisions of the directives and regulations listed below and are in conformity with the following standards.
Olaf Dijkgraaf Approval Manager
Declaration of Conformity
We declare under our sole responsibility that the stated products comply with all applicable provisions of the directives and regulations listed below and are in conformity with the following standards
Technical file at:
Chervon Europe Ltd., 34 Bridge Street, Reading, RG1 2LU, United Kingdom
Supply of Machinery (Safety) Regulations 2008 (SI 2008/1597)
Electromagnetic Compatibility Regulations 2016 (SI 2016/1091)
The Restriction of the Use of Certain Hazardous Substances in
Electrical and Electronic Equipment Regulations 2012 (SI 2012/3032)
Noise Emission in the Environment by Equipment for use Outdoors
Regulations 2001 (SI 2001/1701 and SI 2005/3525)
BS EN62841-1:2015/A11:2022
BS EN62841-4-3:2021/A11:2021
BS EN 55014-1:2021
BS EN 55014-2:2021
EN IEC 63000:2018
Noise Emission in the Environment by Equipment for use Outdoors Regulations 2001 (SI 2001/1701 and SI 2005/3525):
Measured sound power level 86.33 dB(A), uncertainty K = 0.6 dB, guaranteed sound power level 87 dB(A); conformity assessment procedure in accordance with Schedule 9
Product category: 32
Approved body: DEKRA Testing and certification GmbH(0158), Handwerkstraße 15, 70565 Stuttgart, Germany
James McCrory
Technical Service Manager
INTRODUCTION
- This machine is intended for domestic lawn mowing only
- This machine is not intended for professional use
- Check whether the packaging contains all parts as illustrated in drawing 3
- When parts are missing or damaged, please contact your dealer
- Assembly instructions 2
– the sequence of the numbers appearing in the drawing corresponds with the sequence of the steps to be followed for assembling the lawn mower


- Read this instruction manual carefully before use and save it for future reference 4
TECHNICAL DATA 1

MACHINE ELEMENTS 3
- A Safety switch
- B Trigger switch
- C Motor control cable
- D Telescopic handle
- E Handle lock
- F Handle-adjustment knob
- G Cutting-height adjustment lever
- H .Battery cover __
- J Grass box
- K Transport handle
- L Front Wheel
- M Mulching plug
- N Battery level indicator button

SAFETY
General machine safety warnings
Read all safety warnings, instructions, illustrations and specifications provided with this machine. Failure to follow all instructions listed below may result in electric shock, fire and/or serious injury.
SAVE ALL WARNINGS AND INSTRUCTIONS FOR FUTURE REFERENCE.
The term “machine” in the warnings refers to your mains operated (corded) machine or battery operated (cordless) machine.
- WORK AREA SAFETY
a) Keep work area clean and well lit. Cluttered or dark areas invite accidents.
b) Do not operate machines in explosive atmospheres, such as in the presence of flammable liquids, gases or dust. Machines create sparks which may ignite the dust or fumes.
c) Keep children and bystanders away while operating a machine. Distractions can cause you to lose control. - ELECTRICAL SAFETY
a) Machine plugs must match the outlet. Never modify the plug in any way. Do not use any adapter plugs with earthed (grounded) machines. Unmodified plugs and matching outlets will reduce risk of electric shock.
b) Avoid body contact with earthed or grounded surfaces, such as pipes, radiators, ranges and refrigerators. There is an increased risk of electric shock if your body is earthed or grounded.
c) Do not operate the lawn mower in rain or wet conditions. This may increase the risk of electric shock.
d) Do not abuse the cord. Never use the cord for carrying, pulling or unplugging the machine. Keep cord away from heat, oil, sharp edges or moving parts. Damaged or entangled cords increase the risk of electric shock.
e) When operating a machine outdoors, use an extension cord suitable for outdoor use. Use of a cord suitable for outdoor use reduces the risk of electric shock.
f) If operating a machine in a damp location is unavoidable, use a ground fault circuit interrupter (GFCI) protected supply. Use of a GFCI reduces the risk of electric shock. - PERSONAL SAFETY
a) Stay alert, watch what you are doing and use common sense when operating a machine. Do not use a machine while you are tired or under the influence of drugs, alcohol or medication. A moment of inattention while operating machines may result in serious personal injury.
b) Use personal protective equipment. Always wear eye protection. Protective equipment such as a dust mask, non-skid safety shoes, hard hat or hearing protection used for appropriate conditions will reduce personal injuries.
c) Prevent unintentional starting. Ensure the switch is in the off-position before connecting to power source and/or battery pack, picking up or carrying the machine. Carrying machines with your finger on the switch or energizing machines that have the switch on invites accidents.
d) Remove any adjusting key or wrench before turning the machine on. A wrench or a key left attached to a rotating part of the machine may result in personal injury.
e) Do not overreach. Keep proper footing and balance at all times. This enables better control of the machine in unexpected situations.
f) Dress properly. Do not wear loose clothing or jewelry. Keep your hair and clothing away from moving parts. Loose clothes, jewelry or long hair can be caught in moving parts.
g) If devices are provided for the connection of dust extraction and collection facilities, ensure these are connected and properly used. Use of dust collection can reduce dust-related hazards.
h) Do not let familiarity gained from frequent use of machines allow you to become complacent and ignore machine safety principles. A careless action can cause severe injury within a fraction of a second. - MACHINE USE AND CARE
a) Do not force the machine. Use the correct machine for your application. The correct machine will do the job better and safer at the rate for which it was designed.
b) Do not use the machine if the switch does not turn it on and off. Any machine that cannot be controlled with the switch is dangerous and must be repaired.
c) Disconnect the plug from the power source and/ or remove the battery pack, if detachable, from the machine before making any adjustments, changing accessories, or storing machines. Such preventive safety measures reduce the risk of starting the machine accidentally.
d) Store idle machines out of the reach of children and do not allow persons unfamiliar with the machine or these instructions to operate the machine. Machines are dangerous in the hands of untrained users.
e) Maintain machines and accessories. Check for misalignment or binding of moving parts, breakage of parts and any other condition that may affect the machine’s operation. If damaged, have the machine repaired before use. Many accidents are caused by poorly maintained machines.
f) Keep cutting machines sharp and clean. Properly maintained cutting machines with sharp cutting edges are less likely to bind and are easier to control.
g) Use the machine, accessories and machine bits etc. in accordance with these instructions, taking into account the working conditions and the work to be performed. Use of the machine for operations different from those intended could result in a hazardous situation.
h) Keep handles and grasping surfaces dry, clean and free from oil and grease. Slippery handles and grasping surfaces do not allow for safe handling and control of the machine in unexpected situations. - BATTERY MACHINE USE AND CARE
a) Recharge only with the charger specified by the manufacturer. A charger that is suitable for one type of battery pack may create a risk of fire when used with another battery pack.
b) Use machines only with specifically designated battery packs. Use of any other battery packs may create a risk of injury and fire.
c) When battery pack is not in use, keep it away from other metal objects, like paper clips, coins, keys, nails, screws or other small metal objects, that can make a connection from one terminal to another. Shorting the battery terminals together may cause burns or a fire.
d) Under abusive conditions, liquid may be ejected from the battery; avoid contact. If contact accidentally occurs, flush with water. If liquid contacts eyes, additionally seek medical help. Liquid ejected from the battery may cause irritation or burns.
e) Do not use a battery pack or machine that is damaged or modified. Damaged or modified batteries may exhibit unpredictable behavior resulting in fire, explosion or risk of injury.
f) Do not expose a battery pack or machine to fire or excessive temperature. Exposure to fire or temperature above 265 °F (130 °C) may cause explosion.
g) Follow all charging instructions and do not charge the battery pack or machine outside the temperature range specified in the instructions.
Charging improperly or at temperatures outside the specified range may damage the battery and increase the risk of fire. - SERVICE
a) Have your machine serviced by a qualified repair person using only identical replacement parts. This will ensure that the safety of the machine is maintained.
b) Never service damaged battery packs. Service of battery packs should only be performed by the manufacturer or authorized service providers.
LAWN MOWER SAFETY WARNINGS
a) Do not use the lawn mower in bad weather conditions, especially when there is a risk of lightning. This decreases the risk of being struck by lightning.
b) Thoroughly inspect the area for wildlife where the lawn mower is to be used. Wildlife may be injured by the lawnmower during operation.
c) Thoroughly inspect the area where the lawn mower is to be used and remove all stones, sticks, wires, bones, and other foreign objects. Thrown objects can cause personal injury.
d) Before using the lawn mower, always visually inspect to see that the blade and the blade assembly are not worn or damaged. Worn or damaged parts increase the risk of injury.
e) Check the grass catcher frequently for wear or deterioration. A worn or damaged grass catcher may increase the risk of personal injury.
f) Keep guards in place. Guards must be in working order and be properly mounted. A guard that is loose, damaged, or is not functioning correctly may result in personal injury.
g) Keep all cooling air inlets clear of debris. Blocked air inlets and debris may result in overheating or risk of fire.
h) While operating the lawn mower, always wear non-slip and protective footwear. Do not operate the lawn mower when barefoot or wearing open sandals. This reduces the chance of injury to the feet from contact with the moving blade.
i) While operating the lawn mower, always wear long trousers. Exposed skin increases the likelihood of injury from thrown objects.
j) Do not operate the lawnmower in wet grass. Walk, never run. This reduces the risk of slipping and falling which may result in personal injury.
k) Do not operate the lawnmower on excessively steep slopes. This reduces the risk of loss of control, slipping and falling which may result in personal injury.
l) When working on slopes, always be sure of your footing, always work across the face of slopes, never up or down and exercise extreme caution when changing direction. This reduces the risk of loss of control, slipping and falling which may result in personal injury.
m) Use extreme caution when reversing or pulling the lawn mower towards you. Always be aware of your surroundings. This reduces the risk of tripping during operation.
n) Do not touch blades and other hazardous moving parts while they are still in motion. This reduces the risk of injury from moving parts.
o) When clearing jammed material or cleaning the lawnmower, make sure all power switches are off and the battery pack is disconnected. Unexpected operation of the lawnmower may result in serious personal injury.
ADDITIONAL RULES FOR LAWN MOWER
- The user is responsible for accidents or hazards occurring to other people or their property
- Be familiar with the controls and the proper use of the machine
- Before using, always visually inspect to see that the blades, blade bolts and cutter assembly are not worn or damaged. Replace worn or damaged blades and bolts in sets to preserve balance. Replace damaged or unreadable labels.
- Keep all nuts, bolts and screws tight to be sure the product is in safe working condition.
- Check the functioning of the machine before each use and, in case of a defect, have it repaired immediately by a qualified person; never open the machine yourself
- Never operate the machine with a defective rear guard or defective grass box
- When operating the machine without grass box, ensure that the rear guard is in closed position (risk of injury caused by rotating cutting blade)
- Always switch off the machine, remove battery pack, and ensure that all moving parts have come to a complete standstill
– whenever leaving the machine unattended
– before clearing jammed material
– before checking, cleaning or working on the machine
– after striking a foreign object
– whenever the machine starts vibrating abnormally - Always keep hands and feet away from rotating parts
- Keep away from the discharge opening at all times
- Switch on the motor according to instructions and with feet well away from the cutting blade
- Never mow in the direct vicinity of persons (especially children) and animals
- transportation when crossing surfaces other than grass, and when transporting the product to and from the area to be used.
- Do not tilt the product when switching on the motor, except if the product has to be tilted for starting. In this case, do not tilt it more than absolutely necessary and lift only the part, which is away from the operator.
- Be careful during adjustment of the product to prevent entrapment of the fingers between moving blades and fixed parts of the product.
- Always allow the machine to cool down before storing.
- When servicing the blades be aware that, even though the power source is switched off, the blades can still be moved.
- Check for blockage of the cutting blade To prevent blockage, keep the cutting blade and mower deck clean. Remove grass clippings, leaves, dirt and any other accumulated debris before and after each use. When blockage happens, stop the mower and remove the battery, then remove any build-up of grass and leaves on or around the drive shaft and motor fan (do not use water). Wipe the mower clean with a damp cloth.
- Empty the grass bag before storage.
- Never use the machine when handle cord is damaged, have it replaced by a qualified person
BATTERIES
- The battery supplied is partially charged (to ensure full capacity of the battery, completely charge the battery in the battery charger before using your power machine for the first time)
- Only use the following batteries and chargers with this machine
– SKIL battery: BR1*41****
– SKIL charger: CR1*41**** - Do not use the battery when damaged; it should be replaced
- Do not disassemble the battery
- Do not expose machine/battery to rain
- Permitted ambient temperature (machine/charger/ battery):
– when charging 0…+45°C
– during operation –20…+50°C
– during storage –20…+50°C
EXPLANATION OF SYMBOLS ON TOOL
- 4 Read the instruction manual before use

- 5 Batteries may explode when disposed of in fire, so do not burn battery for any reason

- 6 Store tool/charger/battery in locations where temperature will not exceed 50°C

- 7 Do not dispose of electric tools and batteries together with household waste material

- 8 Beware of sharp blades, after switching off the tool the blade continues to rotate for a few seconds, switch off and remove the battery pack from tool before cleaning/ maintenance.

- 9 Pay attention to the risk of injury caused by flying debris (keep bystanders a safe distance away from work area)

- 10 Wear protective glasses and hearing protection

- 11 Do not expose tool to rain

USE
- Charging battery
! read the safety warnings and instructions provided with the charger - Removing/installing the battery 13

- Adjusting height of tool handle F 14
I = High
II = Medium
III = Low
- Adjusting cutting height (25-90mm) G 15

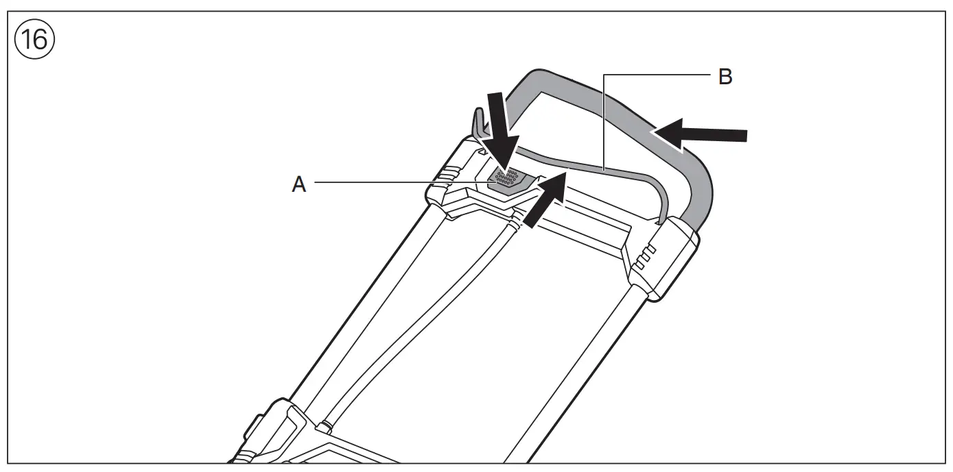
– adjust handle G by putting it in slot for desired cutting height. 1=25 mm, 2=32 mm, 3=40 mm, 4=51 mm, 5=64 mm, 6=77 mm, 7=90 mm - On/off safety switch 16
Prevents the tool from being switched on accidentally
– switch on tool by first pressing safety switch A and then pulling trigger switch B
– switch off tool by releasing trigger switch B
! after switching off the tool the blade continues to rotate for a few seconds
- Operating instructions
– hold the mower with both hands
– place the mower on the edge of the lawn and mow in a forward direction
– reverse at the end of each turn, slightly overlapping the previous cut strip
! only use the mower on dry grass
– keep the mower away from solid objects and plants
! for mowing long grass, first set the cutting mechanism to the maximum cutting height, then to a lower cutting height
! adjust your walking pace when mowing long grass - Mulching function 17
– for mulching install mulching plug M as shown
- Battery level indicator 12
– press the battery level indicator button N to show the current battery level 12a
! when the lowest level of the battery indicator starts flashing red for 10s after pressing button N 12b, the battery is nearly depleted.
- Battery protection
The tool is suddenly being switched off or prevented from being switched on, when
– the load is too high –> remove load and restart
– the battery is empty –> the 4 levels of the battery level indicator starts flashing red for 10s; Remove the battery from the tool and charge the battery 12c
– the battery temperature is not within the allowable operating temperature range of -20 to +50°C –>4 levels of the battery level indicator keep solid red for 10s; wait until battery has returned within the allowable operating temperature range 12d
! do not continue to press the on/off switch after the tool is switched off automatically; battery may be damaged
MAINTENANCE / SERVICE
- This tool is not intended for professional use
- Always switch off the tool, remove battery pack, and ensure that all moving parts have come to a complete standstill
- Always keep tool clean
- Clean the mower after each use with a hand brush and a soft cloth
! do not use water (especially no high-pressure sprays)
– remove compacted grass cuttings from the blade area with a wooden or plastic implement - Storage 18
– for saving substantial storage space fold the tool handle and store the tool as illustrated; empty grass box first
! ensure that the handle cord is not trapped when folding/unfolding the tool handle (do not drop the handle)
– do not place other objects on top of the mower when stored
- Regularly check the grass box for wear or damage
- Regularly check for worn or damaged blades and bolts and have them replaced in sets to preserve balance
- Replacing the cutting blade 19 20


! remove battery from tool and remove grass box J 2c
! wear protective gloves
– turn the mower upside down
– remove/mount the cutting blade with a torque wrench and two metal rods as aid as illustrated
– the printed blade side towards outside
! only use replacement cutting blades of the correct type (SKIL spare part number 2610S01593, marked CH3707037001)
– thoroughly clean the shaft area and the underside of the tool before mounting the cutting blade - If the tool should fail despite the care taken in manufacturing and testing procedures, repair should be carried out by an after-sales service centre for SKIL power tools
– send the tool undismantled together with proof of purchase to your dealer or the nearest SKIL service station (addresses as well as the service diagram of the tool are listed on www.skil.com) - Be aware that damage due to overload or improper handling of the tool will be excluded from the warranty (for the SKIL warranty conditions see www.skil.com or ask your dealer)
TROUBLESHOOTING
- The following listing shows problem symptoms, possible causes and corrective actions (if these do not identify and correct the problem, contact your dealer or service station)
! always switch off the tool, remove battery pack and ensure that all moving parts have come to a complete standstill
Tool does not operate
– empty battery -> charge battery
– telescopic handle problem -> fully extend handle and lock the levers 2a
– hot battery -> let battery cool down
– cutting blades jammed -> clear jammed material
– grass too high -> increase cutting height and tilt tool
– internal fault -> contact dealer/service station
Tool operates intermittently
– internal wiring defective -> contact dealer/service station
Tool leaves ragged finish or motor labours
– cutting height cut too low -> increase cutting height
– cutting blade blunt -> replace cutting blade
– underside of tool badly clogged -> clean tool
Cutting blade not rotating
– cutting blade obstructed -> clear obstruction
– blade nut/bolt loose -> tighten blade nut/bolt
Tool vibrates abnormally
– cutting blade damaged -> replace cutting blade
– blade nut/bolt loose -> tighten blade nut/bolt
ENVIRONMENT
Only for EU countries
- Do not dispose of electric tools, accessories and packaging together with household waste material
– in observance of European Directive 2012/19/EC on waste of electric and electronic equipment and its implementation in accordance with national law, electric tools that have reached the end of their life must be collected separately and returned to an environmentally compatible recycling facility
– symbol 7 will remind you of this when the need for disposing occurs
! prior to disposal protect battery terminals with heavy tape to prevent short-circuit
Only for UK
- Do not dispose of electric tools, accessories and packaging together with household waste material
– in observance of on Waste Electric and Electronic
Equipment Regulations 2013 (SI 2013/3113), electric tools that have reached the end of their life must be collected separately and returned to an environmentally compatible recycling facility
– symbol 7 will remind you of this when the need for disposing occurs
! prior to disposal protect battery terminals with heavy tape to prevent short-circuit
NOISE / VIBRATION
- Measured in accordance with EN 62841 the sound pressure level of this tool is 78 dB(A) (uncertainty K = 3 dB) and the sound power level 86.33 dB(A) (uncertainty K = 0.6 dB), and the vibration < 2.5 m/s² (triax vector sum; uncertainty K = 1.5 m/s²)
- The vibration emission level has been measured in accordance with a standardised test given in EN 62841; it may be used to compare one tool with another and as a preliminary assessment of exposure to vibration when using the tool for the applications mentioned
– using the tool for different applications, or with different or poorly maintained accessories, may significantly increase the exposure level
– the times when the tool is switched off or when it is running but not actually doing the job, may significantly reduce the exposure level
! protect yourself against the effects of vibration by maintaining the tool and its accessories, keeping your hands warm, and organizing your work patterns
! WARNING: The vibration and noise emissions during actual use of the machine can differ from the declared values depending on the ways in which the machine is used especially what kind of workpiece is processed; and Of the need to identify safety measures to protect the operator that are based on an estimation of exposure in the actual conditions of use (taking account of all parts of the operating cycle such as the times when the machine is switched off and when it is running idle in addition to the trigger time).






































