Owner’s Manual & Safety Instructions
Save This Manual Keep this manual for the safety warnings and precautions, assembly, operating, inspection, maintenance and cleaning procedures. Write the product’s serial number in the back of the manual (or month and year of purchase if product has no number). Keep this manual and the receipt in a safe and dry place for future reference.
22f
8 CUBIC FT.
STEEL UTILITY CART

58473
Visit our website at: http://www.harborfreight.com
Email our technical support at: [email protected]
When unpacking, make sure that the product is intact and undamaged. If any parts are missing or broken, please call 1-888-866-5797 as soon as possible.
Copyright© 2021 by Harbor Freight Tools®. All rights reserved.
No portion of this manual or any artwork contained herein may be reproduced in any shape or form without the express written consent of Harbor Freight Tools.
Diagrams within this manual may not be drawn proportionally. Due to continuing improvements, actual product may differ slightly from the product described herein.
Tools required for assembly and service may not be included.
|
| Read this material before using this product. Failure to do so can result in serious injury. SAVE THIS MANUAL. |
WARNING SYMBOLS AND DEFINITIONS | |
| This is the safety alert symbol. It is used to alert you to potential personal injury hazards. Obey all safety messages that follow this symbol to avoid possible injury or death. | |
| Indicates a hazardous situation which, if not avoided, will result in death or serious injury. | |
| Indicates a hazardous situation which, if not avoided, could result in death or serious injury. | |
| Indicates a hazardous situation which, if not avoided, could result in minor or moderate injury. | |
| Addresses practices not related to personal injury. | |
Important Safety Information
![]()
Read all safety warnings and instructions.
Failure to follow the warnings and instructions may result in serious injury.
Save all warnings and instructions for future reference.
DANGER! TO PREVENT SERIOUS INJURY AND/OR DEATH, ATTACH A SAFETY CHAIN AND PROPERLY SECURE HITCH BEFORE LOADING OR TOWING.
WARNING! TO PREVENT SERIOUS INJURY AND/OR DEATH, DO NOT EXCEED MAXIMUM PAYLOAD CAPACITY OF 1,200 LB OR 5 MPH MAXIMUM SPEED.
The warnings, precautions, and instructions discussed in this instruction manual cannot cover all possible conditions and situations that may occur. It must be understood by the operator that common sense and caution are factors which cannot be built into this product, but must be supplied by the operator.
Assembly Precautions
- Assemble only according to these instructions. Improper assembly can create hazards.
- Wear ANSI-approved safety goggles and heavy-duty work gloves during assembly.
- Keep assembly area clean and well lit.
- Keep bystanders out of area during assembly.
- Do not assemble when tired or when under influence of drugs or medication.
- Weight capacity and other product capabilities apply to properly and completely assembled product only.
Connection Safety
- Dress safely while connecting/ disconnecting. Do not wear loose clothing or jewelry, as they can become caught in moving parts. Wear a protective hair covering to prevent long hair from becoming caught in moving parts. If wearing a long-sleeve shirt, roll sleeves up above elbows. Wearing safety work shoes is recommended.
- Do not setup or use this Cart if under the influence of alcohol or drugs. Read warning labels on prescriptions to determine if your judgement or reflexes are impaired while taking drugs. If there is any doubt, do not attempt to use this Cart.
- Stay alert. Watch what you are doing at all times. Use common sense. Do not setup or use this Cart when you are tired or distracted from the job at hand.
- Make sure the Cart’s Clevis Pin Mount and the tractor’s hitch (not included) are of equal mating size and are rated equal to or greater than the weight of the Cart and its payload.
- Before each use, attach Clevis Pin Mount to tractor.
Loading Safety
- Do not exceed the Cart’s maximum payload capacity of 1,200 lb (properly distributed).
- Properly and safely secure the payload in the Cart. Load Cart evenly front to back and side to side.
- Make sure the towing vehicle and its hitch are both rated to safely tow the Cart and its payload.
The towing capacity of the hitch is typically stamped on the hitch drawbar. - Keep Panels in locked position while driving. Do not drive with Panels unlocked or open.
- Pinch hazard; use care when unlatching Cart and handing the Panels.
Use Precautions
- Do not exceed listed weight capacity, evenly distributed.
Be aware of dynamic loading! Sudden load movement may briefly create excess load causing product failure. - Do not modify this Cart, and do not use this Cart for a purpose for which it was not intended. Do not use for aircraft purposes.
- This product is not a toy. Do not allow children to play with or near this item.
- Use as intended only.
- Use only on surface able to properly support cart and load.
- Maintain product labels and nameplates.
These carry important safety information.
If unreadable or missing, contact Harbor Freight Tools for a replacement.
Operation Safety
- Do not tow on public roadways or highway.
- This Cart is not a toy.
Do not allow children to play on or near this item. - Never allow anyone to ride in or on the Cart.
- Do not transport animals in this Cart.
Before Each Use
- Check Tire condition and air pressure.
- Make sure hitch, Coupler, Clevis Pin Mount and other equipment that connect the Cart and the tractor are properly secured and adjusted.
- Check that all items are securely fastened in the Cart.
- Check load distribution to make sure the tractor and Cart are properly balanced front to back and side to side.
- Check side- and rear-view mirrors to make sure you have good visibility.
- Make sure you have wheel chocks.
- Check Cart for loose bolts and nuts, structural cracks and bends, and any other condition that may affect its safe operation. Do not use the Cart even if minor damage appears.
General Handling
- Use the driving gear that the tractor manufacturer recommends for towing.
- Drive at low speeds. This will place less strain on your tow vehicle and Cart. Cart instability (sway) is more likely to occur as speed increases.
Do not exceed 5 miles per hour when towing the Cart. - Avoid sudden stops and starts that can cause skidding, sliding, or jackknifing.
- Avoid sudden steering maneuvers that might create sway or undue side force on the Cart.
- Slow down when traveling over bumpy roads, railroad crossings, and ditches.
- Make wider turns at curves and corners. Because your Cart’s tires are closer to the inside of a turn than the tires of your tractor, they are more likely to hit or ride up over curbs.
Braking
- Allow considerably more distance for stopping.
- Always anticipate the need to slow down. To reduce speed, shift to a lower gear and press the brakes lightly.
Backing Up
- Back up slowly.
- Because mirrors cannot provide all of the visibility you may need when backing up, have someone outside at the rear of the Cart to guide you whenever possible.
- Use slight movements of the steering wheel to adjust direction.
Exaggerated movements will cause greater movement of the Cart. - If you have difficulty, pull forward and realign the tractor and Cart and start again.
Parking
- Do not park on grades.
- If possible, have someone outside to guide you as you park.
- Once stopped, but before shifting into park:
a. Have someone chock the Cart’s tires.
b. Apply the parking brake.
c. Shift into Park or into first gear.
d. Turn off ignition.
e. Then remove your foot from the brake pedal. Following this parking sequence is important to make sure you do not harm the transmission.
Maintenance Safety
- Maintain labels and nameplates on the Cart. These carry important information. If unreadable or missing, contact Harbor Freight Tools for a replacement.
- Replacement parts and accessories: when servicing, use only identical replacement parts. Only use accessories intended for use with this Cart. Approved accessories are available from Harbor Freight Tools.
- Maintain this Cart with care. Keep this Cart clean and dry for better and safer performance.
- For your safety, service and maintenance should be performed regularly by a qualified technician.
- When not in use, store Cart in a dry location to inhibit rust. Lock up Cart, and keep out of reach of children.
SAVE THESE INSTRUCTIONS.
Specifications
| Maximum Load Capacity | 1,200 lb. |
| Tire Pressure | 30 PSI (cold) |
Assembly Instructions
![]()
Read the entire Important Safety Information section at the beginning of this manual including all text under subheadings therein before set up or use of this product.
Note: For additional information regarding the parts listed in the following pages, refer to Parts List and Diagram on page <10 and 11>
1. Place Yoke (11) onto Front Axle Support (9).
2. Insert two Bolts (23) through Front Axle Support and Yoke.
3. Place two Washers (12) and two Lock Nuts (21) onto Bolts.
Tighten Lock Nuts securely.

- Washer (12)
- Nut (21)
- Front Axle Support (9)
- Yoke (11)
- Bolt (23)
4. Place Front Axle Support and Yoke assembly on one Bed stud.
5. Secure with Washer (24) and Nut (17) on. Tighten Nut securely.

- Bed (1)
- Nut (17)
- Washer (24)
6. Place Rear Axle Support (6) on two Bed studs.
7. Secure with two Washers (12) and two Lock Nuts (21). Tighten Lock Nuts securely.

- Rear Axle Support (6)
- Nut (21)
- Washer (12)
8. Install four Tires (5) onto front and rear axles (valve stem facing out).
9. Place Washers (24) on axles and insert Tire Cotter Pins (10) Through axles cotter pin holes. Bend Cotter Pin ends away from each other until ends make contact with axle.

- Tire (5)
- Washer (24)
- Tire Cotter Pin (10)
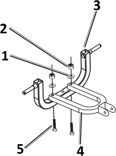
10. Place Coupler (13) into Yoke (11). Place Clevis Pin Mount (15) into coupler.
11. While aligning holes, insert Yoke Bolt (22) through Yoke flanges, Coupling and Clevis Pin Mount.
12. Secure with Washer (19) and Lock Nut (20). Tighten Lock Nut securely.

- Coupler (13)
- Lock Nut (20)
- Washer (19)
- Yoke Bolt (22)
- Clevis Pin Mount (15)
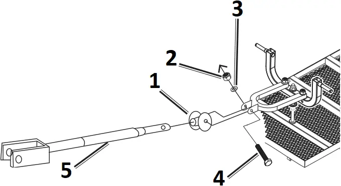
13. Place Handle (14) onto the end of Clevis Pin Mount
14. Align holes and insert Clevis Pin (7).
15. Install Small R-Pin (8) through Clevis Pin’s hole until securely fastened.

- Small R-Pin (8)
- Clevis Pin (7)
- Handle (14)
16. Using assistance rotate Cart assembly onto Tires.
17. With Lock Handles facing out, place Back Panel (4) onto rear of Bed.
18. Insert two Large R-Pins (16) through Back Panel and Bed hinge tubes until securely fastened.
19. Repeat with other Panels.

- Large R-Pin (16)
- Back Panel (4)
- Lock Handle
- Bed (1)
20. Hold one Side Panel and Back Panel upright, lift Lock Handle facing up then rotate Lock Handle down to engage into Side Panel hook.
21. Repeat with other Panels.

22. Install Bed Liner (25).
Operating Instructions
Read the entire Important Safety Information section at the beginning of this manual including all text under subheadings therein before set up or use of this product.
![]()
TO PREVENT SERIOUS INJURY FROM TOOL FAILURE:
Do not use damaged equipment. If abnormal noise or vibration occurs, have the problem corrected before further use.
Attaching the Cart to Tractor
- Cart should be on a level surface with tires chocked.
- The tractor should be turned off, braked and backed in front of the Cart’s Clevis Pin Mount.
- Remove Small R-Pin from Clevis Pin.
- Remove Handle.
- Join the Cart to the tractor by lining up the Clevis Pin Mount with the hole in the connector on the tractor.
- Connect the Clevis Pin so that it passes through the tractor’s connector and Cart’s Clevis Pin Mount.
- Connect the Small R-Pin to the bottom of Clevis Pin securing it in place.
Inspection, Maintenance, and Cleaning
Procedures not specifically explained in this manual must be performed only by a qualified technician.
![]()
TO PREVENT SERIOUS INJURY:
Remove any load before performing any inspection, maintenance, or cleaning procedures.
TO PREVENT SERIOUS INJURY FROM TOOL FAILURE:
Do not use damaged equipment. If abnormal noise or vibration occurs, have the problem corrected before further use.
Inspection
Perform the procedures in this section BEFORE INITIAL USE and AT LEAST MONTHLY. Inspection is needed more often for heavily used hoists.
- Check operating mechanisms for proper operation, proper adjustment, and unusual sounds such as, but not limited to, binding noise or and bearing squeal.
- Check wheels/tires for wear and proper inflation.
Cleaning and Maintenance
- Repair or replacement of Cart components must be performed only by a qualified technician using only identical replacement parts with the same rating.
- Note the following regarding specific components:
a. Replace damaged or worn Lock Handles. Do not repair them by welding or reshaping.
b. Replace worn tires.
c. Replace or repair all critical parts that are cracked, broken, bent, excessively worn, or missing.
d. Replace missing or illegible warning labels. - Clean Cart using a damp clean cloth then dry thoroughly.
- Lubricate all moving parts regularly using grease.
- Store Cart in an indoor dry area out reach of children.
PLEASE READ THE FOLLOWING CAREFULLY
THE MANUFACTURER AND/OR DISTRIBUTOR HAS PROVIDED THE PARTS LIST AND ASSEMBLY DIAGRAM IN THIS DOCUMENT AS A REFERENCE TOOL ONLY. NEITHER THE MANUFACTURER OR DISTRIBUTOR MAKES ANY REPRESENTATION OR WARRANTY OF ANY KIND TO THE BUYER THAT HE OR SHE IS QUALIFIED TO MAKE ANY REPAIRS TO THE PRODUCT, OR THAT HE OR SHE IS QUALIFIED TO REPLACE ANY PARTS OF THE PRODUCT. IN FACT, THE MANUFACTURER AND/OR DISTRIBUTOR EXPRESSLY STATES THAT ALL REPAIRS AND PARTS REPLACEMENTS SHOULD BE UNDERTAKEN BY CERTIFIED AND LICENSED TECHNICIANS, AND NOT BY THE BUYER. THE BUYER ASSUMES ALL RISK AND LIABILITY ARISING OUT OF HIS OR HER REPAIRS TO THE ORIGINAL PRODUCT OR REPLACEMENT PARTS THERETO, OR ARISING OUT OF HIS OR HER INSTALLATION OF REPLACEMENT PARTS THERETO.
Parts List and Diagram
Parts List
Part | Description | Qty |
1 | Bed | 1 |
2 | Side Panel | 2 |
3 | Front Panel | 1 |
4 | Back Panel | 1 |
5 | Tire | 4 |
6 | Rear Axle Support | 1 |
7 | Clevis Pin | 1 |
8 | Small R-Pin | 1 |
9 | Front Axle Support | 1 |
10 | Tire Cotter Pin | 4 |
11 | Yoke | 1 |
12 | Washer | 4 |
13 | Coupler | 1 |
14 | Handle | 1 |
15 | Clevis Pin Mount | 1 |
16 | Large R-Pin | 8 |
17 | Nut | 1 |
18 | Lock Handle (pre-attached) | 4 |
19 | Washer | 1 |
20 | Lock Nut | 1 |
21 | Lock Nut | 4 |
22 | Yoke Bolt | 1 |
23 | Bolt | 2 |
24 | Washer | 5 |
25 | Bed Liner | 1 |
Record product’s Serial number Here:__________________________
Note: If product has no serial number, record month and year of purchase instead.
Note: Some parts are listed and shown for illustration purposes only, and are not available individually as replacement parts. Specify UPC 193175439857 when ordering parts.
Diagram

Item 58473 For technical questions, please call 1-888-866-5797.
Limited 90 Day Warranty
Harbor Freight Tools Co. makes every effort to assure that its products meet high quality and durability standards, and warrants to the original purchaser that this product is free from defects in materials and workmanship for the period of 90 days from the date of purchase. This warranty does not apply to damage due directly or indirectly, to misuse, abuse, negligence or accidents, repairs or alterations outside our facilities, criminal activity, improper installation, normal wear and tear, or to lack of maintenance. We shall in no event be liable for death, injuries to persons or property, or for incidental, contingent, special or consequential damages arising from the use of our product. Some states do not allow the exclusion or limitation of incidental or consequential damages, so the above limitation of exclusion may not apply to you. THIS WARRANTY IS EXPRESSLY IN LIEU OF ALL OTHER WARRANTIES, EXPRESS OR IMPLIED, INCLUDING THE WARRANTIES OF MERCHANTABILITY AND FITNESS.
To take advantage of this warranty, the product or part must be returned to us with transportation charges prepaid. Proof of purchase date and an explanation of the complaint must accompany the merchandise. If our inspection verifies the defect, we will either repair or replace the product at our election or we may elect to refund the purchase price if we cannot readily and quickly provide you with a replacement. We will return repaired products at our expense, but if we determine there is no defect, or that the defect resulted from causes not within the scope of our warranty, then you must bear the cost of returning the product.
This warranty gives you specific legal rights and you may also have other rights which vary from state to state.
26677 Agoura Road • Calabasas, CA 91302 • 1-888-866-5797
















