
PROFESSIONAL GRADE

3460HKD
20 cu ft STEEL DUMP CART
READ AND FOLLOW ALL SAFETY RULES AND OPERATING INSTRUCTIONS BEFORE USING THIS EQUIPMENT
6000785 – REV A 5/11
Safety Rules
This is the safety alert symbol. It is used to alert you to potential personal injury hazards. Obey all safety messages that follow this symbol to avoid possible injury or death.
Read and understand all safety rules and operating instructions before using this tractor attachment.
Follow all safety rules and operating instructions provided by your vehicle’s manufacturer when using attachment.
Never allow children or untrained persons to operate vehicle or attachment.
Do not exceed the vehicle manufacturer’s towed weight limit.
Reduce vehicle speed and allow extra stopping distance when towing heavy loads.
Reduce vehicle speed and towed weight when operating on slopes.
Operate up and down slopes, never across the face of slopes.
Do not carry passengers on vehicle or attachment.
Avoid sudden turns or maneuvers.
Do not tow attachment on public roadways.
Do not remove warning decals from product.
Check product for worn, loose, or damaged parts before each use. If any damage is present, repair the product before using.
Check product for loose or missing fasteners before each use. Tighten or replace fasteners as needed before using.
Do not exceed vehicle speed of 6 miles per hour when towing Dump Cart.
Do not exceed Dump Cart rated weight capacity of 1500 pounds.
Carton Contents
1 (x1)
2 (x1)
3 (x1)
4 (x2) 
5 (x1)
6 (x1)![]()
7 (x1)
8 (x1)
9 (x1)
10 (x1)
11 (x1)
18 (x4)
19 (x2)
20 (x1) 
21 (x2)
22 (x1) 
23 (x3)
24 (x51) 
25 (x51)
2 6 (x1)
27 (x2)
28 (x1) 
TOOLS REQUIRED FOR ASSEMBLY:
- Large Flat Screw driver
- 1/2″ Wrench or Socket
Assembly Instructions
1 Place Body Halves on a smooth, flat surface so they are square and fasten together with hardware as shown.

2 Attach Front Support to Body and tighten hardware.

3 Attach Undercarriage to Body and tighten hardware.

4 Attach Front Gate to inside of Body as shown and tighten hardware.

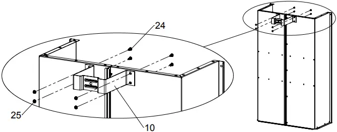
5 Attach Corners to Body and tighten hardware.

6 Insert Axle into Undercarriage halfway as shown. Center Spacer inside Drawbar and align with Axle.

7 Slide Axle completely through Undercarriage; Drawbar and Spacer must be captured by Axle. Align Drawbar with Front Support and press down to latch.

8 Slide Washers, Spacers and Wheels onto Axle and secure with Hairpins as shown.

9 Attach Support Bar to Body behind flange. Insert Tailgate Rod into corner holes on the body and secure with Cotter pins.

BEHIND FLANGE

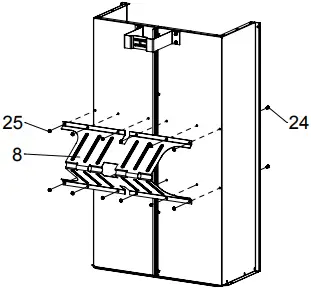
10 Attach Corner Gussets to Body and tighten all hardware.

11 Attach Tailgate to Body as shown. Tailgate must slide freely.

12 Install Hitch Pin as shown.

Operating Instructions
Before Using Dump Cart:
- Apply grease to wheels using grease gun until grease can be seen squeezing out from both sides of the wheel.
- Check tire pressure and inflate to 28 psi if needed.
- Read all Safety Rules found on page 1.
How to Use Dump Cart:
- Attach Dump Cart to your tractor using the supplied hitch pin.
- Do not exceed 1500 pounds when loading material into the cart body.
- Distribute the weight of the load as evenly as possible in the cart body for best handling.
- When hauling heavy loads, verify that your vehicle has adequate towing and braking capacity.
- Do not exceed 6 miles per hour when towing Dump Cart.
How to Empty Dump Cart:
- Pull hand lever forward to release the latch mechanism.
- Angle cart body as desired to guide the material to preferred location.
- Lower the body and guide the latch into the drawbar and relatch.
Periodic Maintenance:
- Tighten fasteners as needed before each use
- Check tire pressure before each use
- Grease wheels annually
Warranty
If this product fails due to a defect in material or workmanship within TWO YEARS from the date of purchase, we will at our option repair or replace it free of charge. This warranty excludes tires and wheels, which are expendable and become worn during normal use.
This warranty does not cover:
- Repairs necessary because of operator abuse or negligence.
- Equipment used for commercial or rental purposes.
- Paint that is worn or faded due to normal use or exposure.
To arrange for product repair call 1-800-652-2321, or return this product to place of purchase for replacement.
This warranty gives you specific legal rights, and you may also have other rights which may vary from state to state. This warranty applies only while this product is in use in the United States.
In the space below record the purchase date of your Dump Cart.
Model Number 3460HKD
Purchase Date __________________________
Keep this Owner’s Manual and your receipt in a safe place for future reference.
After the two year warranty period all replacement parts may be ordered by calling 1-800-652-2321.
When ordering replacement parts, always give the following information:
- Product 20 cu ft STEEL DUMP CART
- Model Number 3460HKD
- Part Number __________________________
- Part Description ________________________
Repair Parts

ITEM | PART NO | DESCRIPTION | QTY |
1 | 401024 | BODY HALF, LEFT | 1 |
2 | 401014 | BODY HALF. RIGHT | 1 |
3 | 401032 | FRONT GATE | 1 |
4 | 401051 | CORNER | 2 |
5 | 401132 | BAR SUPPORT, REAR | 1 |
6 | 401081 | RETAINER GATE, LEFT | 1 |
7 | 401071 | RETAINER GATE, RIGHT | 1 |
8 | 401062 | UNDERCARRIGE | 1 |
9 | 300002 | AXLE | 1 |
10 | 401091 | SUPPORT, FRONT | 1 |
11 | 401042 | TAILGATE | 1 |
12 | 401111 | LATCH POST | 1 |
13 | 401121 | BRACKET, HITCH | 1 |
14 | 300131 | SPRING. LATCH | 1 |
15 | 300052 | HEX BOLT, 3/8-16 X 3/4″ | 1 |
16 | 300053 | HEX BOLT, 3/8-16 X4″ | 1 |
17 | 300061 | HEX NUT, 3/8-16 C-LOCK | 2 |
18 | 300076 | WASHER, 1″ SAE | 4 |
19 | 6000382 | SPACER, SHORT | 2 |
20 | 6000463 | SPACER, LONG | 1 |
21 | 300013 | WHEEL (incl. bushings) | 2 |
22 | 6000533 | PIN. HITCH | 1 |
23 | 300084 | HAIRPIN COTTER | 3 |
24 | 300054 | SLOTTED TRUSS BOLT, 5/16-18 X | 51 |
25 | 6000418 | SPINNER GRIP NUT. 5/16-18 | 51 |
26 | 401161 | ROD, TAILGATE | 1 |
27 | 6000615 | COTTER PIN 3/32″ X3/4″ | 2 |
28 | 501014 | DRAWBAR ASSY. (INCL. 12-17) | 1 |
29 | 6000785 | OWNERS MANUAL | 1 |
30 | 3010327 | HARDWARE BOLT BAG | 1 |
31 | 6000162 | DECAL, OSI PRO | 2 |
32 | 6000810 | KIT 1″ BUSHING (set of 4) | 1 |
REPLACEMENT PARTS ORDERING OHIO STEEL INDUSTRIES 1-800-652-2321
Notes

Designed And Tested In Columbus, Ohio
Manufactured In The U.S.A. From Domestic
And Imported Components

MODEL # 3460HKD
2575 Ferris Road Columbus, OH 43224
(800) 652-2321
www.OHIOSTEEL.com
(800) 652-2321
















