![]()

CC-3048HKD
12 cu ft STEEL DUMP CART
READ AND FOLLOW ALL SAFETY RULES AND OPERATING INSTRUCTIONS BEFORE USING THIS EQUIPMENT
6004384 – REV B 10/19
Safety Rules
This is the safety alert symbol. It is used to alert you to potential personal injury hazards. Obey all safety messages that follow this symbol to avoid possible injury or death.
Read and understand all safety rules and operating instructions before using this tractor attachment.
Follow all safety rules and operating instructions provided by your vehicle’s manufacturer when using attachment.
Never allow children or untrained persons to operate vehicle or attachment.
Do not exceed the vehicle manufacturer’s towed weight limit.
Reduce vehicle speed and allow extra stopping distance when towing heavy loads.
Reduce vehicle speed and towed weight when operating on slopes.
Operate up and down slopes, never across the face of slopes.
Do not carry passengers on vehicle or attachment.
Avoid sudden turns or maneuvers.
Do not tow attachment on public roadways.
Do not remove warning decals from product.
Check product for worn, loose, or damaged parts before each use. If any damage is present, repair the product before using.
Check product for loose or missing fasteners before each use. Tighten or replace fasteners as needed before using.
Do not exceed vehicle speed of 6 miles per hour when towing Dump Cart.
Do not exceed Dump Cart rated weight capacity of 1000 pounds.
Warranty
IF YOU ARE MISSING PARTS DO NOT RETURN TO STORE
Email [email protected] or call 1-800-652-2321, ext. 212
Attach Receipt Here:
Before you call, please email our customer service team at [email protected] with the following:
- A description of the issue you are having
- Photos of the issue that include an overall view and detailed view from multiple angles
- If applicable, a short video showing the issue
Replacement Parts:
You can place your parts order online at ohiosteel.com/partsstore
- You can also reach our Customer Service Department at 1-800-652-2321, ext. 212
- If you are ordering replacement part(s) for your product, please note that some parts are only available as a repair kit.
If this product fails due to a defect in material or workmanship within THREE YEARS from the date of purchase, we will at our option, only with receipt of purchase, repair or replace it free of charge. This warranty excludes tires, bushings, and bearings which are expendable and become worn during normal use.
This warranty does not cover:
- Repairs necessary because of operator abuse or negligence.
- Equipment used for commercial or rental purposes.
- Paint that is worn or faded due to normal use or exposure.
To arrange for product repair visit ohiosteel.com/customer-support and fill out the warranty repair form. You can also call 1-800-652-2321, ext. 212 to speak to our Customer Service Team
This warranty gives you specific legal rights, and you may also have other rights which may vary from state to state. This warranty applies only while this product is in use in the United States.
Carton Contents


1 (x1) 2 (x1)


3 (x1) 4 (x1)


5 (x2) 6 (x1)

7 (x1) 8 (x1) 9 (x1)


10 (x1) 18 (x2)

19 (x1) 20 (x4)

21 (x2) 22 (x1)



23 (x2) 24 (x46) 25 (x46)

(x1)
TOOLS REQUIRED FOR ASSEMBLY:
- Large Flat Screwdriver
- 1/2″ Wrench or Socket
- Grease Gun
Assembly Instructions
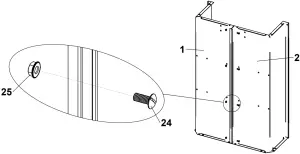
1 Place body halves (1&2) on a smooth, flat surface so they are square, and fasten together with hardware (24&25) as shown.

2 Attach Front Support (9) to body and tighten with hardware (24 & 25) as shown.

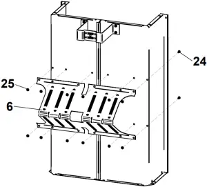
3 Attach Undercarriage (6) to body and tighten with hardware (24 & 25) as shown.

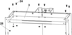
4 Attach Front Gate (3) to inside of body with supplied hardware (24 & 25) as shown.

5 Attach Corners (5) to body of cart and tighten with hardware (24 & 25) as shown.

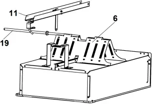
6 Insert Axle (19) into Undercarriage (6) halfway as shown.

7 Slide Axle (19) completely through Undercarriage (6); be sure to catch the Drawbar (11) and Spacer (22) when sliding the Axle. Align Drawbar (11) with the Front Support (9) and press down to latch.

8 Slide Washers (20), Spacers (21), and Wheels (18) onto Axle (19) and secure with Hairpins (23) as shown.

9 Attach the Support Bar (10) to body (1&2) behind flange loosely with hardware (24 &25).

10 Attach gate retainers (7 & 8) to rear and sides of body (1 & 2) and tighten with hardware (24 & 25) as shown.

11 Attach Tailgate (4) to body as shown. No hardware is required, tailgate should move freely up or down.

Operating Instructions
Before Using Dump Cart:
- Apply grease to wheels using grease gun until grease can be seen squeezing out from both sides of the wheel.
- Check tire pressure and inflate to 30 psi if needed.
- Read all Safety Rules found on page 1.
How to Use Dump Cart:
- Attach Dump Cart to your tractor using the supplied hitch pin.
- Do not exceed 1,000 pounds when loading material into the cart body.
- Distribute the weight of the load as evenly as possible in the cart body for best handling.
- When hauling heavy loads, verify that your vehicle has adequate towing and braking capacity.
- Do not exceed 6 miles per hour when towing Dump Cart.
How to Empty Dump Cart: - Pull hand lever forward to release the latch mechanism.
- Angle cart body as desired to guide the material to preferred location.
- Lower the body and guide the latch into the drawbar and relatch.
Periodic Maintenance:
- Tighten fasteners as needed before each use
- Check tire pressure before each use
- Grease wheels annually
Repair Parts

| ITEM | PART NO | DESCRIPTION | QTY |
| 1 | 401011-Y1 | BODY HALF, RIGHT | 1 |
| 2 | 401021-Y1 | BODY HALF, LEFT | 1 |
| 3 | 401031-Y1 | GATE, FRONT | 1 |
| 4 | 401041-Y1 | TAILGATE | 1 |
| 5 | 401051-Y1 | CORNER | 2 |
| 6 | 401061-B2 | UNDERCARRIAGE | 1 |
| 7 | 401071-Y1 | RETAINER GATE, RIGHT | 1 |
| 8 | 401081-Y1 | RETAINER GATE, LEFT | 1 |
| 9 | 401091-B2 | SUPPORT, FRONT | 1 |
| 10 | 401131-Y1 | BAR SUPPORT, REAR | 1 |
| 11 | KIT 6004319-B2 | DRAWBAR FORMED | 1 |
| 12 | LATCH POST | 1 | |
| 13 | SPRING LOADED, HITCH | 1 | |
| 14 | KIT 6004319-B2 | SPRING, LATCH | 1 |
| 15 | HEX BOLT, 3/8-16 X 3/4″ | 1 | |
| 16 | HEX BOLT, 3/8-16 X 4″ | 1 | |
| 17 | LOCKNUT, 3/8-16″ | 2 | |
| 18 | 6002415-C | WHEEL (BUSHINGS INCL) | 2 |
| 19 | 300001 | AXLE | 1 |
| 20 | KIT 6004323 | 3/4″ SAE WASHER | 4 |
| 21 | SPACER 3/4″ X 1.25″ | 2 | |
| 22 | SPACER 1″ X 3.125″ | 1 | |
| 23 | HAIRPIN COTTER | 2 | |
| 24 | KIT 6004322 | TRUSS HD, 5/16-18X 3/4″ | 46 |
| 25 | 5/16-18 SPINNER NUT | 46 | |
| 26 | KIT 6000809 | REPLACEMENT BUSHINGS (SET OF 4) | – |
REPLACEMENT PARTS ORDERING OHIO STEEL INDUSTRIES 1-800-652-2321
Designed And Tested In Columbus, Ohio
Manufactured In The U.S.A. From Domestic
And Imported Components

MODEL # CC-3048HKD
(800) 652-2321














